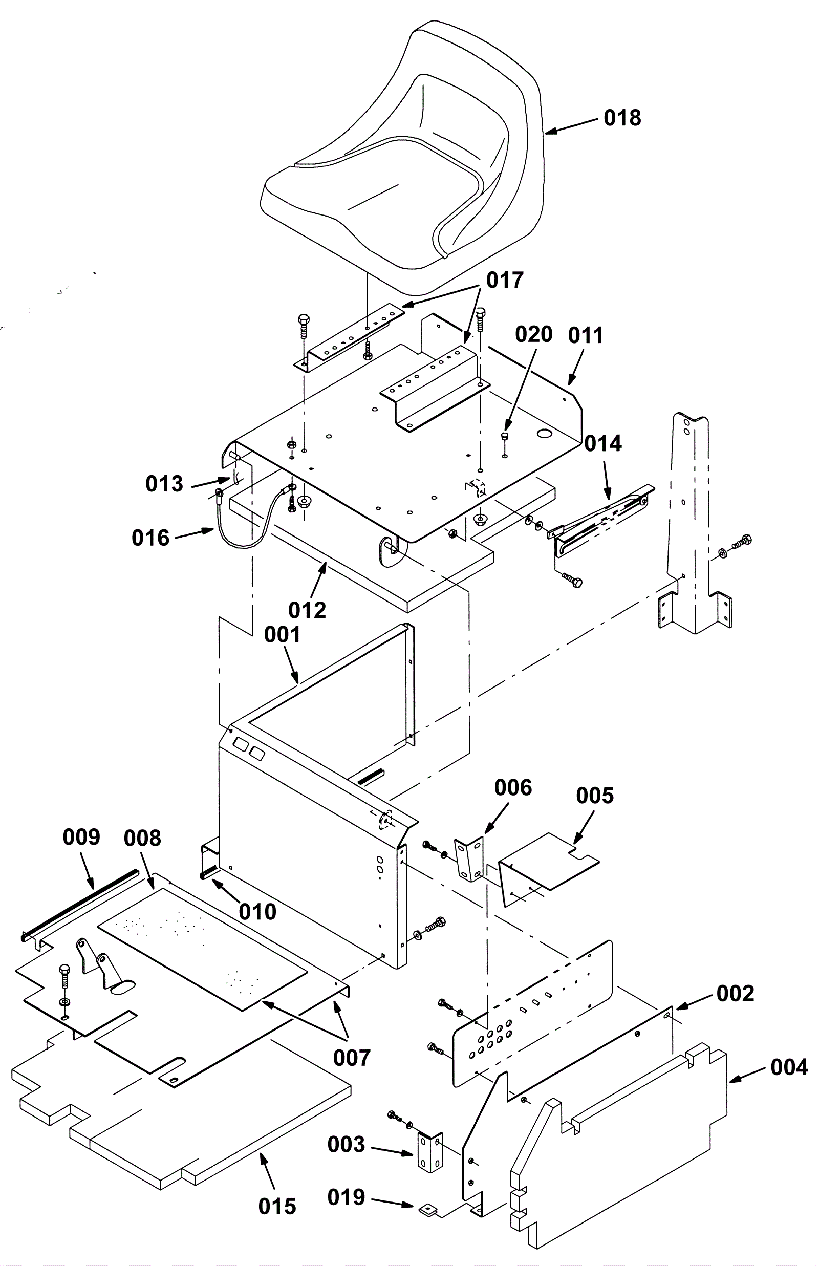
Seat and Shroud Group
Click to enlarge