| # | Part | Description | Price | Req | Notes | Availability |
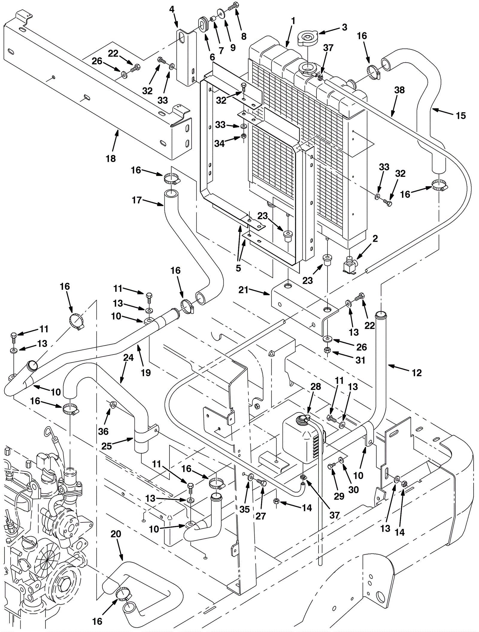
1 |
375-3585
|
Radiator kit (Tennant Industrial) |
$1,765.35
|
1 |
|
usually ships 10-13 days |
2 |
175-6869
|
FITTING, DRAINCOCK, E90, .25NPT (Tennant Industrial) |
$24.00
|
1 |
|
usually ships 1-5 days |
3a |
575-1362
|
CAP, RADIATOR, 07PSI (Tennant Industrial) |
$23.84
|
1 |
(before SN 007497) |
usually ships 10-13 days |
3b |
275-6393
|
Radiator cap (Tennant Industrial) |
$8.17
|
1 |
(after SN 007496) |
usually ships 10-13 days |
4 |
375-4669
|
Strap |
$37.84
|
1 |
|
usually ships 10-13 days |
5 |
375-4670
|
Panel |
$83.58
|
2 |
|
usually ships 10-13 days |
6 |
175-0840
|
Rubber grommet |
$5.50
|
1 |
|
usually ships 1-5 days |
7 |
575-3677
|
TUBE, 0.38ID 0.50OD 00.5L, STL (Tennant Industrial) |
$23.05
|
1 |
|
usually ships 10-13 days |
8 |
999-0501
|
Bolt M8-1.25 x 25mm hex head full thread stainless steel |
$2.64
|
1 |
|
ships same day |
9 |
999-0549
|
Washer 5/16 x 3/4 SAE flat stainless steel |
$0.99
|
1 |
|
ships same day |
10 |
175-9979
|
Clamp (Tennant Industrial) |
$8.17
|
4 |
|
usually ships 1-5 days |
11 |
999-0784
|
Screw M8-1.25 x 16mm hex head stainless steel |
$1.74
|
4 |
|
ships same day |
12 |
575-9727
|
TUBE, COOLANT, 1.3D UPPER [7400 GAS/LPG] (Tennant Industrial |
$383.27
|
1 |
|
usually ships 10-13 days |
13 |
999-0355
|
Washer 3/8 x 7/8 SAE flat stainless steel |
$0.99
|
5 |
|
ships same day |
14 |
999-0496
|
Nut M8-1.25 nylon insert lock stainless steel |
$1.98
|
2 |
|
ships same day |
15 |
275-5849
|
HOSE, COOLANT, MOLD, 1.50ID TO 1.50ID (Tennant Industrial) |
$136.77
|
1 |
|
usually ships 1-5 days |
16 |
997-2000
|
Hose clamp |
$2.37
|
8 |
|
ships same day |
17 |
575-6959
|
HOSE, COOLANT, MOLD, 1.25ID TO 1.25ID (Tennant Industrial) |
$107.72
|
1 |
|
usually ships 10-13 days |
18 |
375-4671
|
Bracket |
$121.06
|
1 |
|
usually ships 10-13 days |
19 |
575-9158
|
TUBE, COOLANT, 1.3D LOWER (Tennant Industrial) |
$130.26
|
1 |
|
usually ships 10-13 days |
20 |
575-5150
|
HOSE, COOLANT, MOLD, 1.25ID TO 1.00ID (Tennant Industrial) |
$139.28
|
1 |
|
usually ships 10-13 days |
21 |
375-4672
|
Bracket |
$47.03
|
1 |
|
usually ships 10-13 days |
22 |
999-0499
|
Bolt M8-1.25 x 20mm hex head full thread stainless steel |
$1.85
|
6 |
|
ships same day |
23 |
175-2429
|
Vibration isolator |
$15.40
|
2 |
|
usually ships 10-13 days |
24 |
575-6120
|
HOSE, COOLANT, MOLD, 1.00ID TO 1.25ID (Tennant Industrial) |
$124.42
|
1 |
|
usually ships 10-13 days |
25 |
175-9695
|
Steel cable clamp |
$6.49
|
1 |
|
usually ships 1-5 days |
26 |
175-2367
|
Steel plated washer |
$3.96
|
6 |
|
usually ships 1-5 days |
27 |
999-0499
|
Bolt M8-1.25 x 20mm hex head full thread stainless steel |
$1.85
|
1 |
|
ships same day |
28 |
375-0570
|
1 liter coolant tank (Tennant Industrial) |
$82.52
|
1 |
(after SN 007743) |
usually ships 1-5 days |
29 |
175-9354
|
Screw M6 hex |
$3.30
|
2 |
(after SN 007743) |
usually ships 10-13 days |
30 |
999-0335
|
Washer 1/4 x 5/8 SAE flat stainless steel |
$0.99
|
2 |
(after SN 007743) |
ships same day |
31 |
999-1120
|
Nut M10-1.5 nylon insert lock stainless steel |
$4.27
|
2 |
|
ships same day |
32 |
999-0507
|
Bolt M6-1 x 16mm hex head full thread plain finish |
$0.99
|
12 |
|
ships same day |
33 |
999-0123
|
Washer 1/4 SAE flat zinc plated |
$0.99
|
16 |
|
ships same day |
34 |
999-0469
|
Nut M6-1 nylon insert lock zinc plated |
$1.32
|
4 |
|
ships same day |
35 |
999-0024
|
Washer 5/16 flat stainless steel |
$1.34
|
1 |
|
ships same day |
36 |
999-0665
|
Nut M8-1.25 flange lock |
$0.99
|
1 |
|
ships same day |
37 |
175-3594
|
Hose clamp |
$5.28
|
2 |
|
usually ships 10-13 days |
38 |
375-0625
|
Coolant recovery hose (Tennant Industrial) |
$104.19
|
1 |
|
usually ships 1-5 days |