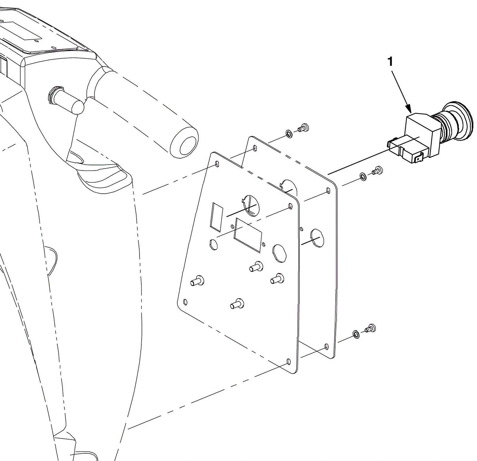
SS3
Emergency Stop Button Assembly
Click to enlarge
#
Part
Description
Price
Req
Notes
Availability
1
275-1416
Safety shut-off switch
$43.67
1
ships same day
KIT1
275-5961
Emergency stop kit
$76.12
1
(includes 1)
usually ships 10-13 days