| # | Part | Description | Price | Req | Notes | Availability |
0 |
N/A
|
Not available |
Call for price
|
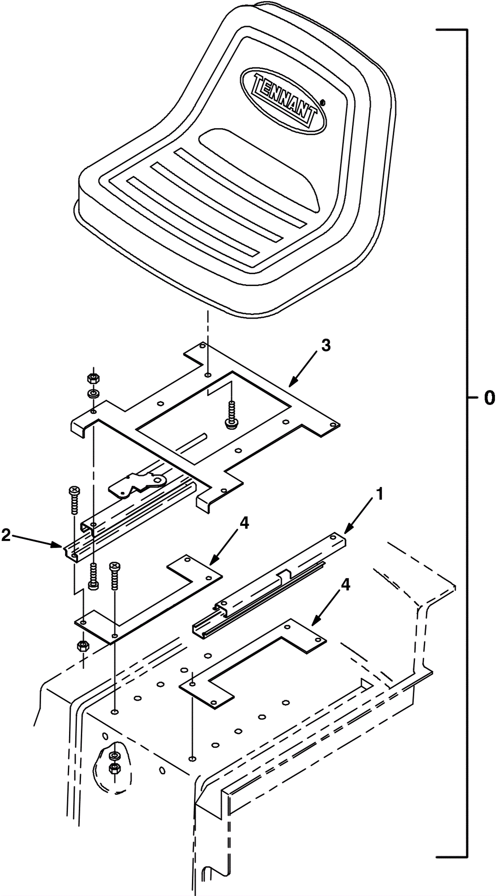
1 |
(includes 1-4) (suspension slide seat) |
usually ships 3-26 days |
1 |
N/A
|
Not available |
Call for price
|
1 |
(slide adjuster seat) |
usually ships 3-26 days |
2 |
N/A
|
Not available |
Call for price
|
1 |
(seat bracket assembly) |
usually ships 3-26 days |
3 |
N/A
|
Not available |
Call for price
|
1 |
(seat mounting plate) |
usually ships 3-26 days |
4 |
N/A
|
Not available |
Call for price
|
2 |
(seat support bracket) |
usually ships 3-26 days |