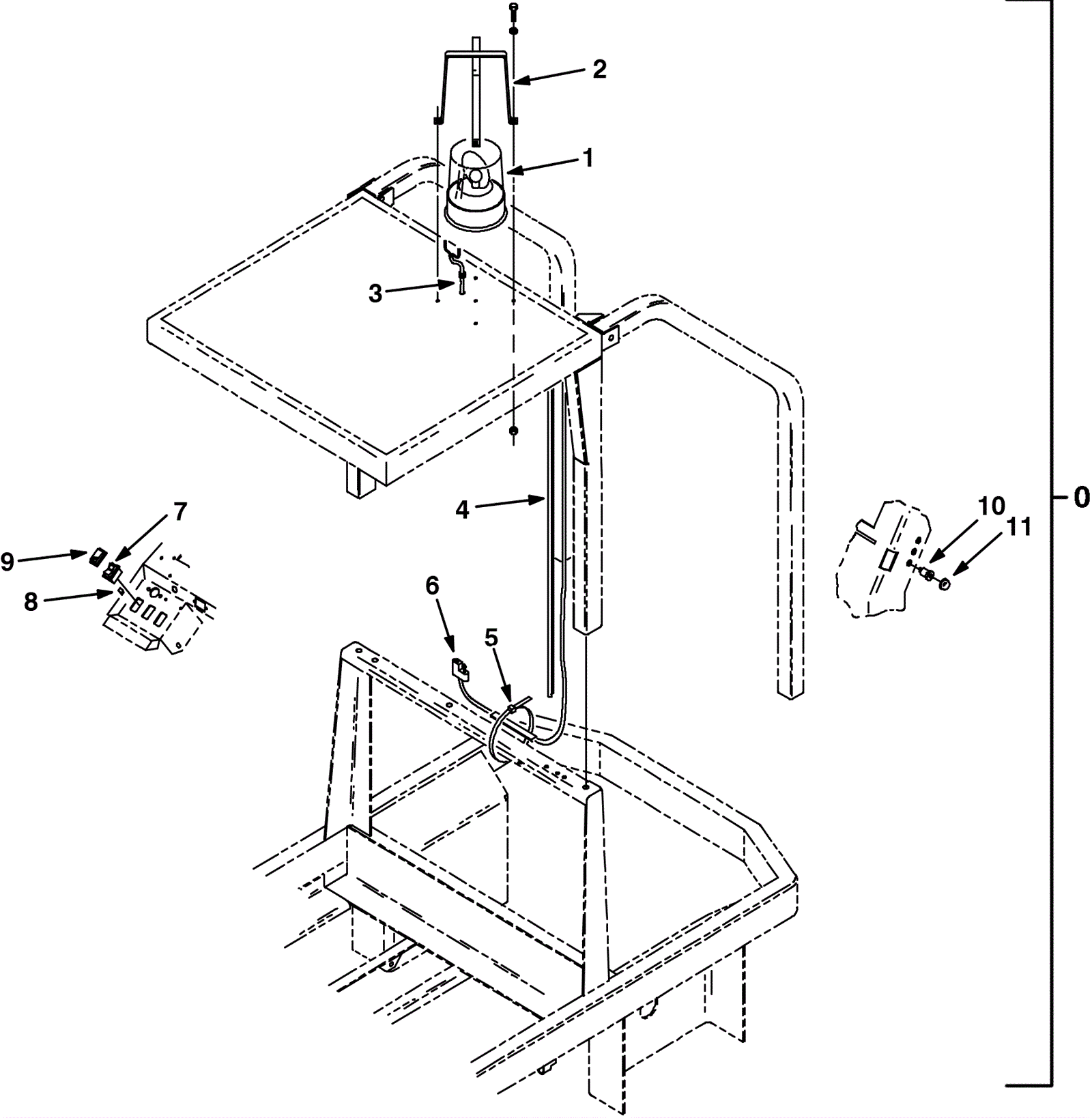
| # | Part | Description | Price | Req | Notes | Availability |
0 |
N/A
|
Not available |
Call for price
|
1 |
(includes 1a-11) (overhead guard revolving light kit) |
usually ships 3-26 days |
1a |
275-4242
|
LIGHT, REVL, 36VDC, AMB, RWK 44684 (Tennant Industrial) |
$388.58
|
1 |
(includes 1b-1c) |
usually ships 1-5 days |
1b |
175-5418
|
Revolving light amber lens |
$47.63
|
1 |
|
usually ships 1-5 days |
1c |
175-5417
|
Lamp |
$30.58
|
1 |
|
usually ships 1-5 days |
2 |
175-5420
|
Revolving/flashing light guard weldment |
$167.97
|
1 |
|
usually ships 1-5 days |
3 |
175-4401
|
GROMMET, RBR, 0.38ID, F/0.5H, .12 MATL (Tennant Industrial) |
$5.50
|
1 |
|
usually ships 1-5 days |
4 |
275-4244
|
Vinyl duct (Tennant Industrial) (OBSOLETE) |
$22.40
|
1 |
|
usually ships 1-5 days |
5 |
175-2162
|
Nylon wire tie |
$3.30
|
2 |
|
usually ships 10-13 days |
6 |
N/A
|
Not available |
Call for price
|
1 |
(warning light wire harness) |
usually ships 3-26 days |
7 |
175-9945
|
Rocker switch spst |
$22.88
|
1 |
|
usually ships 1-5 days |
8 |
N/A
|
Not available |
Call for price
|
1 |
(connector) |
usually ships 3-26 days |
9 |
175-9946
|
Rocker switch seal cover |
$19.47
|
1 |
|
usually ships 10-13 days |
10 |
475-3338
|
CIRCUITBREAKER KIT, 15A, REPLMT |
$19.80
|
1 |
|
usually ships 10-13 days |
11 |
375-4772
|
Circuit breaker boot (OBSOLETE) |
Call for price
|
1 |
|
usually ships 10-13 days |
N/S |
175-5422
|
Revolving light red lens |
$62.59
|
1 |
|
usually ships 1-5 days |
N/S |
175-5423
|
Revolving light blue lens |
$80.19
|
1 |
|
usually ships 1-5 days |