| # | Part | Description | Price | Req | Notes | Availability |
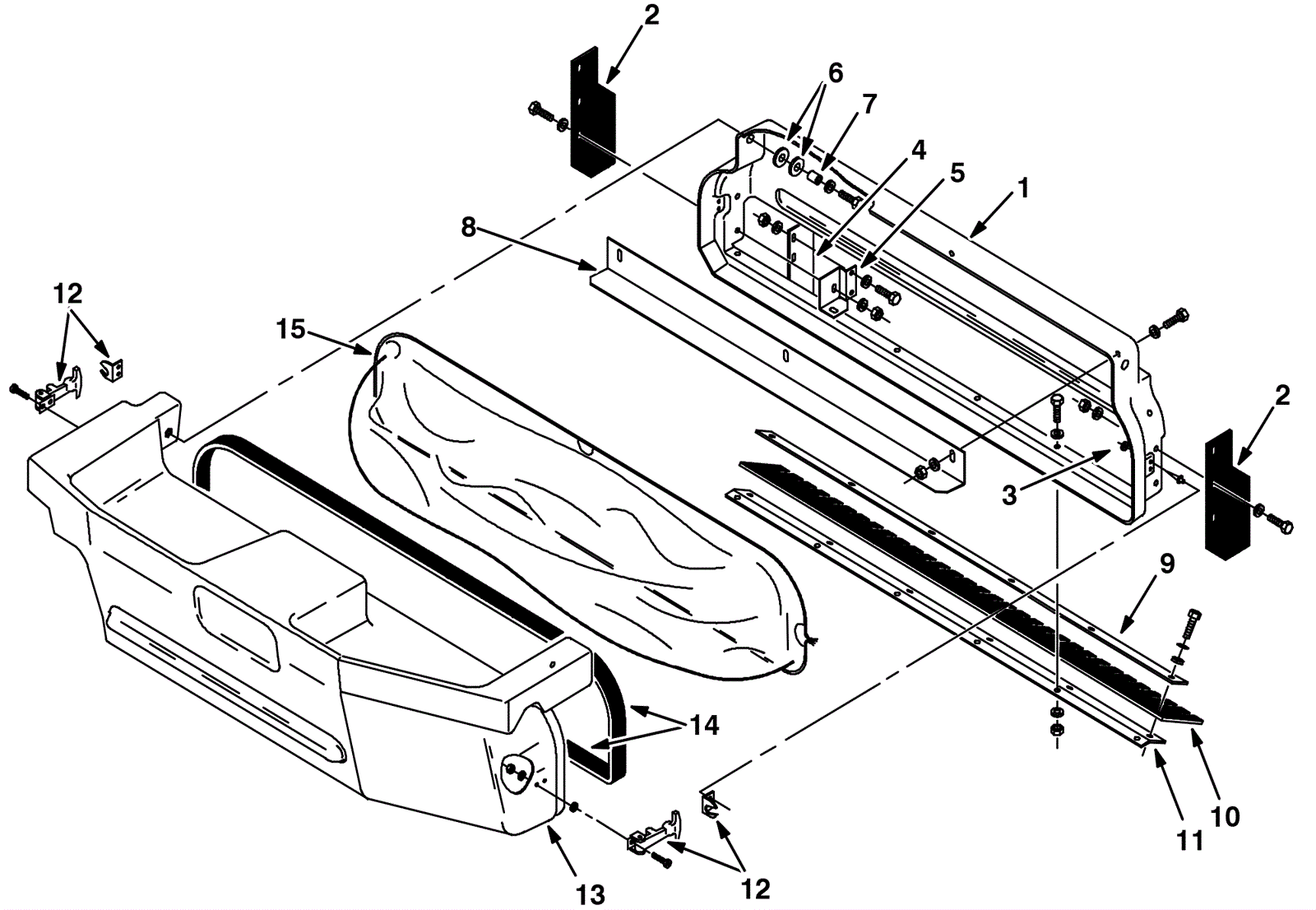
1 |
N/A
|
Not available |
Call for price
|
1 |
(hopper cover) |
usually ships 3-26 days |
2 |
275-8972
|
SKIRT, RBR, .06, 03.50W 08.75L, 03/ SL (Tennant Industrial) |
$5.68
|
2 |
|
usually ships 1-5 days |
3 |
275-8973
|
RIVET, BLIND, .125D X 0.44 X .25D, STL (Tennant Industrial) |
$7.17
|
4 |
|
usually ships 1-5 days |
4 |
275-8974
|
SKIRT, RBR, .12, 02.00W 05.29L, 02/ SL (Tennant Industrial) |
$11.19
|
1 |
|
usually ships 1-5 days |
5 |
275-8975
|
BRACKET, SKIRT (Tennant Industrial) |
$57.28
|
1 |
|
usually ships 1-5 days |
6 |
275-0055
|
WASHER, FLAT, 0.52B 1.25D .06, NYL (Tennant Industrial) |
$5.67
|
4 |
|
usually ships 1-5 days |
7 |
N/A
|
Not available |
Call for price
|
2 |
(plastic sleeve) |
usually ships 3-26 days |
8 |
275-8977
|
ANGLE (Tennant Industrial) |
$183.37
|
1 |
|
usually ships 1-5 days |
9 |
N/A
|
Not available |
Call for price
|
1 |
(hopper lip strip) |
usually ships 3-26 days |
10 |
N/A
|
Not available |
Call for price
|
1 |
(hopper lip skirt) |
usually ships 3-26 days |
11 |
N/A
|
Not available |
Call for price
|
1 |
(hopper lift angle) |
usually ships 3-26 days |
12 |
275-1245
|
Flexible draw latch |
$20.13
|
2 |
|
usually ships 10-13 days |
13 |
N/A
|
Not available |
Call for price
|
1 |
(pre-sweep hopper) |
usually ships 3-26 days |
14 |
275-8980
|
SEAL, RBR, CLSD, 0.25, 0.88W 46.0L (Tennant Industrial) |
$11.86
|
2 |
|
usually ships 1-5 days |
15 |
275-8981
|
Poly bag (pkg of 25) (OBSOLETE) |
$97.68
|
1 |
|
usually ships 1-5 days |