| # | Part | Description | Price | Req | Notes | Availability |
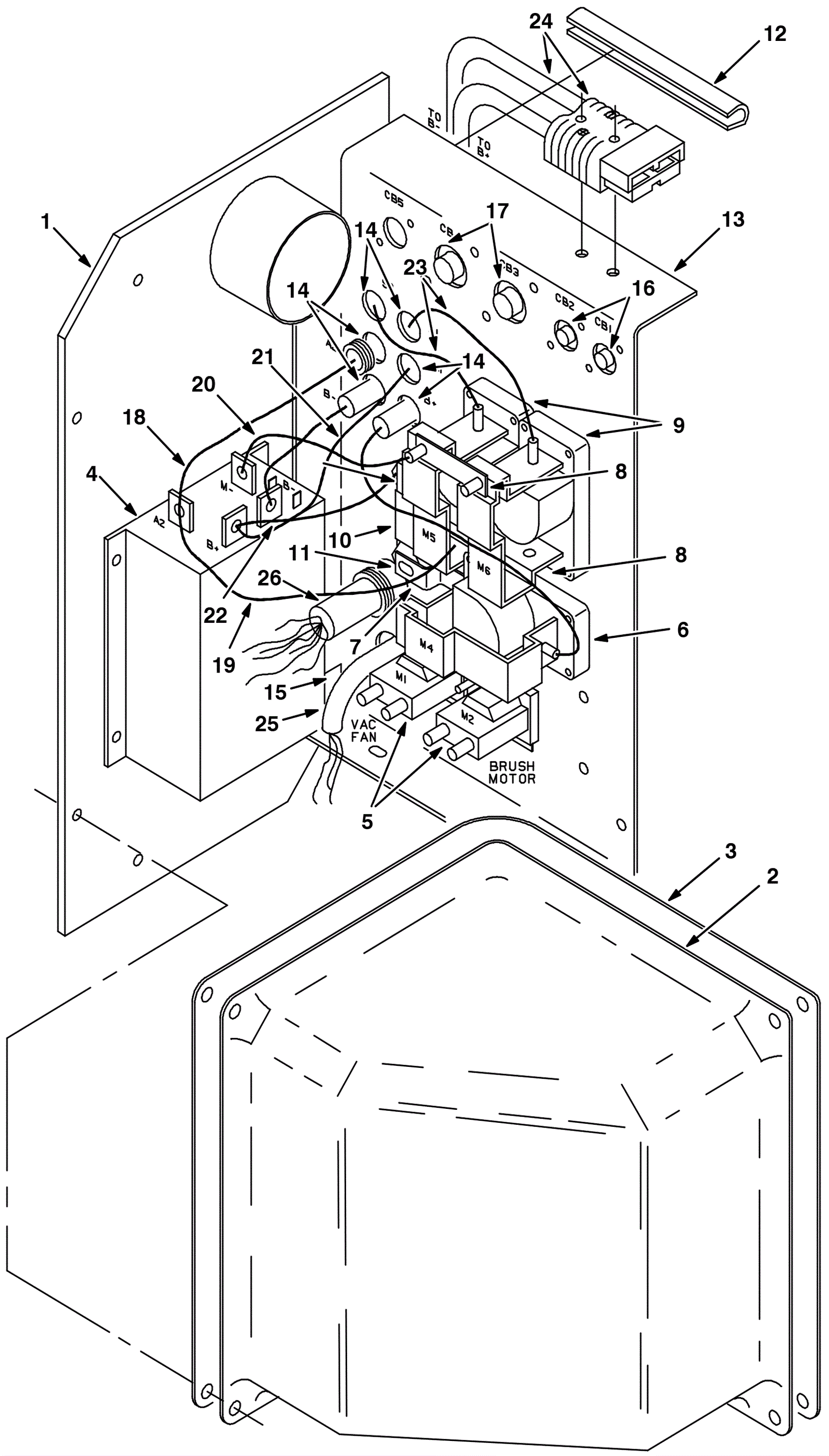
1 |
N/A
|
Not available |
Call for price
|
1 |
(mounting plate) |
usually ships 3-26 days |
2 |
275-4170
|
COVER, CNTRL (Tennant Industrial) (OBSOLETE) |
$200.00
|
1 |
|
usually ships 1-5 days |
3 |
N/A
|
Not available |
Call for price
|
1 |
(control cover gasket) |
usually ships 3-26 days |
4 |
275-8896
|
Controller (Tennant Industrial) |
$1,201.74
|
1 |
|
usually ships 1-5 days |
5 |
175-2373
|
36V contactor |
$38.83
|
2 |
|
usually ships 10-13 days |
6 |
275-4173
|
CONTACTOR, 36VDC [SPNO] (Tennant Industrial) |
$584.12
|
1 |
|
usually ships 1-5 days |
7 |
275-4173
|
CONTACTOR, 36VDC [SPNO] (Tennant Industrial) |
$584.12
|
1 |
|
usually ships 1-5 days |
8 |
175-0848
|
BUSBAR, .06 0.6W 2.5L 2/.28H (Tennant Industrial) |
$20.00
|
2 |
|
usually ships 1-5 days |
9 |
175-0845
|
RELAY, 36VDC, 100A, SPDT NO [CABELFORM] (Tennant Industrial |
$520.71
|
2 |
|
usually ships 1-5 days |
10 |
275-1438
|
100amp fuse |
$63.14
|
1 |
|
ships same day |
11 |
175-3226
|
Insulated stand off |
$10.34
|
2 |
|
ships same day |
12 |
275-8203
|
Molding |
$48.40
|
1 |
|
usually ships 1-5 days |
13a |
N/A
|
Not available |
Call for price
|
1 |
(control mounting gasket) (before SN 001840) |
usually ships 3-26 days |
13b |
N/A
|
Not available |
Call for price
|
1 |
(control mounting gasket) (after SN 001839) |
usually ships 3-26 days |
14 |
175-0839
|
Rubber grommet 1/2 ID |
$4.22
|
6 |
|
usually ships 1-5 days |
15 |
175-3311
|
Rubber grommet |
$5.50
|
1 |
|
usually ships 1-5 days |
16 |
N/A
|
Not available |
Call for price
|
2 |
(circuit breaker) |
usually ships 3-26 days |
17 |
175-9371
|
CIRCUITBREAKER, 40.0A [RESETABLE] (Tennant Industrial) |
$152.53
|
2 |
|
usually ships 1-5 days |
18 |
275-8901
|
CABLE, 04GA 24.0L BLK .31RING /.31RING (Tennant Industrial) |
$80.68
|
1 |
|
usually ships 1-5 days |
19 |
175-0866
|
CABLE, 06GA 11.0L BLK .28RING /.34RING (Tennant Industrial) |
$21.34
|
1 |
|
usually ships 1-5 days |
20 |
175-9626
|
6 gauge wire assembly 7 inches long |
$14.96
|
1 |
|
usually ships 1-5 days |
21 |
N/A
|
Not available |
Call for price
|
1 |
(wire assembly) |
usually ships 3-26 days |
22 |
N/A
|
Not available |
Call for price
|
1 |
(wire assembly) |
usually ships 3-26 days |
23 |
275-8903
|
CABLE, 04GA 22.3L BLK .28RING /.34RING (Tennant Industrial) |
$244.05
|
2 |
|
usually ships 1-5 days |
24 |
275-8904
|
HARNESS, CONTROLLER [6400E] (Tennant Industrial) |
$385.44
|
1 |
|
usually ships 10-13 days |
25 |
N/A
|
Not available |
Call for price
|
1 |
(main wire harness) (after SN 001839) |
usually ships 3-26 days |
26 |
275-4164
|
GROMMET, RBR, 1.06ID, F/1.4H, .19 MATL (Tennant Industrial) |
$8.17
|
1 |
(after SN 001839) |
usually ships 1-5 days |