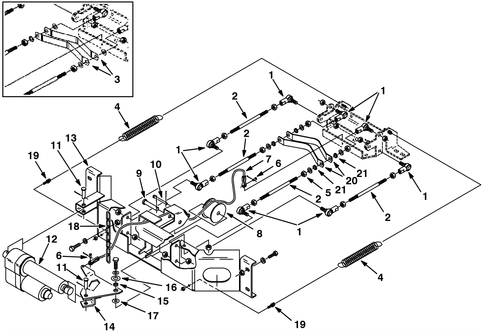
# | Part | Description | Price | Req | Notes | Availability |
1a |
275-2260
|
LINK, SQGE (Tennant Industrial) |
$170.34
|
4 |
(includes 1b-2) |
usually ships 1-5 days |
1b |
175-0779
|
ROD-END, M10 X 1.5RH FEM M10 X 1.5STUD (Tennant Industrial) |
$79.35
|
2 |
|
usually ships 10-13 days |
2 |
175-0780
|
ROD, THRD, 2 END, M10 X 1.5 07.4L (Tennant Industrial) |
$91.69
|
1 |
|
usually ships 10-13 days |
3 |
275-2267
|
Squeegee centering spring (Tennant Industrial) |
$59.79
|
2 |
(before SN 001644) |
usually ships 1-5 days |
4 |
275-2261
|
Tension spring (Tennant Industrial) |
$37.84
|
2 |
|
usually ships 1-5 days |
5 |
999-1120
|
Nut M10-1.5 nylon insert lock stainless steel |
$3.92
|
2 |
(after SN 001643) |
ships same day |
6 |
175-9276
|
Clevis pin 3/16 x 3/4 |
$5.28
|
2 |
|
usually ships 1-5 days |
7 |
275-2262
|
CABLE, GLV .13D 011.5L .2CLEVIS/.2CLEVIS (OBSOLETE) |
$150.80
|
1 |
|
usually ships 10-13 days |
8 |
175-0798
|
DRUM, CABLE, LIFT (Tennant Industrial) |
$22.84
|
1 |
|
usually ships 10-13 days |
9 |
175-0716
|
Clevis pin |
$5.28
|
1 |
|
usually ships 10-13 days |
10 |
175-0799
|
PIN, CLEVIS, 0.25D X 2.44L (Tennant Industrial) |
$6.67
|
1 |
|
usually ships 10-13 days |
11 |
175-2382
|
Clevis pin |
$5.50
|
2 |
|
usually ships 10-13 days |
12a |
275-8854
|
ACTUATOR ASSY, 36VDC, 06.0STRK, 050LB (Tennant Industrial) |
$993.65
|
1 |
(includes 12b) |
usually ships 1-5 days |
12b |
275-8855
|
VR, MOTOR, ELE, 36VDC, ACTUATOR (OBSOLETE) |
$389.11
|
1 |
|
usually ships 1-5 days |
13 |
N/A
|
Not available |
Call for price
|
1 |
(squeegee mounting bracket) |
usually ships 3-26 days |
14 |
N/A
|
Not available |
Call for price
|
1 |
(squeegee lift lever) |
usually ships 3-26 days |
15 |
N/A
|
Not available |
Call for price
|
1 |
(bearing sleeve) |
usually ships 3-26 days |
16 |
175-3347
|
Washer .61 thrust |
$5.50
|
1 |
|
usually ships 10-13 days |
17 |
N/A
|
Not available |
Call for price
|
1 |
(brass washer) |
usually ships 3-26 days |
18 |
175-2094
|
Chain |
$8.25
|
1 |
|
usually ships 10-13 days |
19 |
N/A
|
Not available |
Call for price
|
2 |
(eye bolt) (after SN 001899) |
usually ships 3-26 days |
20 |
275-2267
|
Squeegee centering spring (Tennant Industrial) |
$59.79
|
2 |
(after SN 001643) |
usually ships 1-5 days |
21 |
175-2293
|
Washer |
$5.50
|
4 |
(after SN 001643) |
ships same day |