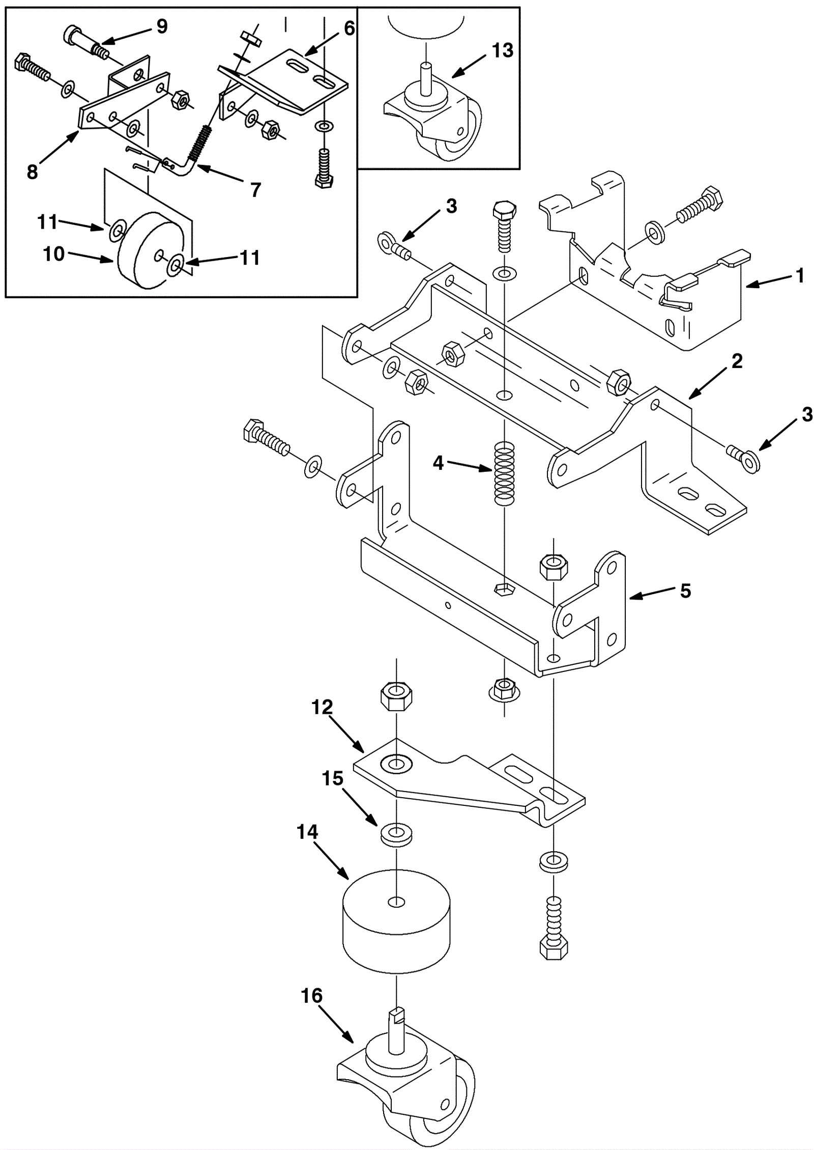
| # | Part | Description | Price | Req | Notes | Availability |
1 |
275-2245
|
BRACKET, HOSE, SQGE (Tennant Industrial) (OBSOLETE) |
$81.00
|
1 |
|
usually ships 1-5 days |
2 |
275-2244
|
BRACKET WLDT, MTG, SQGE (Tennant Industrial) |
$288.91
|
1 |
|
usually ships 1-5 days |
3 |
375-2307
|
Steel Bolt - 1.38 x 0.47 in |
$9.84
|
2 |
|
usually ships 10-13 days |
4 |
175-0790
|
SPRING, DSL, 1.00OD 0.50ID 2.00L (Tennant Industrial) |
$68.51
|
1 |
|
usually ships 1-5 days |
5 |
275-2246
|
PIVOT (Tennant Industrial) (OBSOLETE) |
$63.13
|
1 |
|
usually ships 10-13 days |
6 |
N/A
|
Not available |
Call for price
|
1 |
(wheel mounting bracket) (before SN 001724) |
usually ships 3-26 days |
7 |
N/A
|
Not available |
Call for price
|
1 |
(adjustor rod) (before SN 001724) |
usually ships 3-26 days |
8 |
N/A
|
Not available |
Call for price
|
1 |
(wheel mounting lever) (before SN 001724) |
usually ships 3-26 days |
9 |
275-8869
|
BOLT, SHLD, .50D X 1.25, .38-16 (Tennant Industrial) |
$23.88
|
1 |
(before SN 001724) |
usually ships 1-5 days |
10 |
275-8870
|
WHEEL, 03.0D 1.00W 0.50B (Tennant Industrial) |
$36.24
|
1 |
(before SN 001724) |
usually ships 10-13 days |
11 |
275-0817
|
Thrust bearing |
$6.27
|
2 |
(before SN 001724) |
usually ships 10-13 days |
12 |
N/A
|
Not available |
Call for price
|
1 |
(bracket) (after SN 001723) |
usually ships 3-26 days |
13 |
275-2248
|
CASTER KIT, SEALED [3.0 DIM] (Tennant Industrial) |
$185.37
|
1 |
(between SN 001724 and SN 002669) |
usually ships 10-13 days |
14 |
N/A
|
Not available |
Call for price
|
1 |
(seal foam) (after SN 001723) |
usually ships 3-26 days |
15 |
175-2188
|
Washer |
$4.49
|
1 |
(after SN 001723) |
usually ships 10-13 days |
16 |
275-2248
|
CASTER KIT, SEALED [3.0 DIM] (Tennant Industrial) |
$185.37
|
1 |
(after SN 002669) |
usually ships 10-13 days |