| # | Part | Description | Price | Req | Notes | Availability |
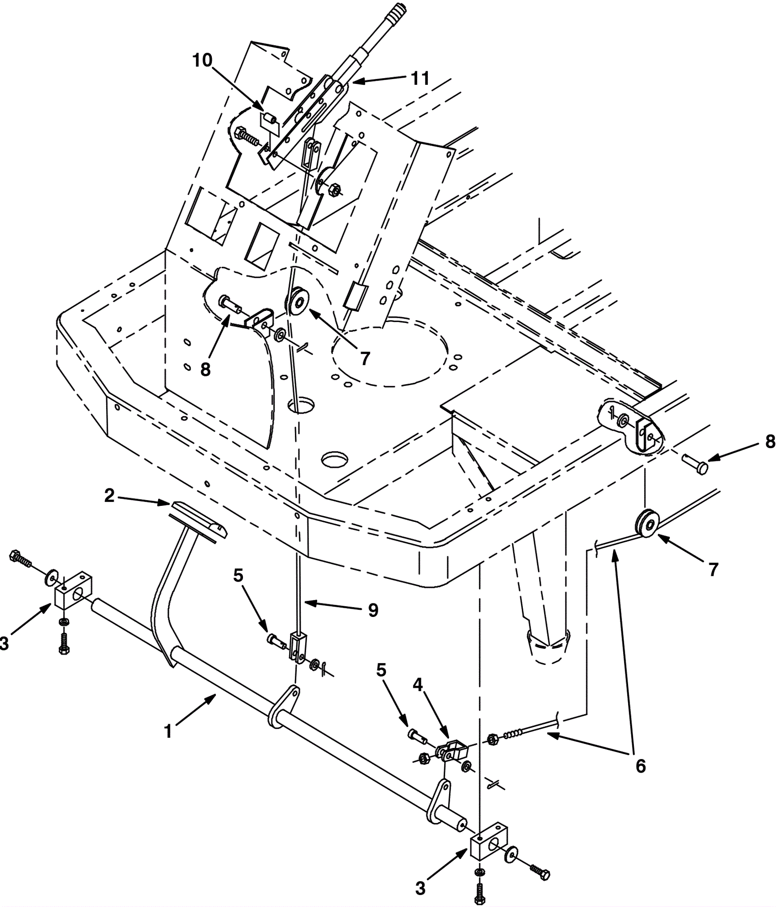
1 |
N/A
|
Not available |
Call for price
|
1 |
(front brake shaft) |
usually ships 3-26 days |
2 |
175-3279
|
Pedal pad |
$32.78
|
1 |
|
usually ships 10-13 days |
2 |
275-2961
|
BEARING, PILLOWBLOCK, 1.02B [SOLID PYE] (Tennant Industrial |
$66.18
|
2 |
|
usually ships 10-13 days |
4 |
N/A
|
Not available |
Call for price
|
1 |
(brake adjustment clevis) |
usually ships 3-26 days |
5 |
175-0637
|
Clevis pin |
$4.49
|
2 |
|
usually ships 10-13 days |
6 |
N/A
|
Not available |
Call for price
|
1 |
(brake cable) |
usually ships 3-26 days |
7 |
275-0912
|
Pulley |
$27.50
|
2 |
|
usually ships 1-5 days |
8 |
N/A
|
Not available |
Call for price
|
2 |
(clevis pin) |
usually ships 3-26 days |
9 |
N/A
|
Not available |
Call for price
|
1 |
(brake service cable) |
usually ships 3-26 days |
10 |
275-2023
|
TUBE, 0.33ID 0.51OD 00.8L, STL, PL (Tennant Industrial) |
$15.17
|
2 |
|
usually ships 1-5 days |
11 |
275-2022
|
LEVER, BRAKE, PARKING (Tennant Industrial) |
$243.88
|
1 |
|
usually ships 1-5 days |