| # | Part | Description | Price | Req | Notes | Availability |
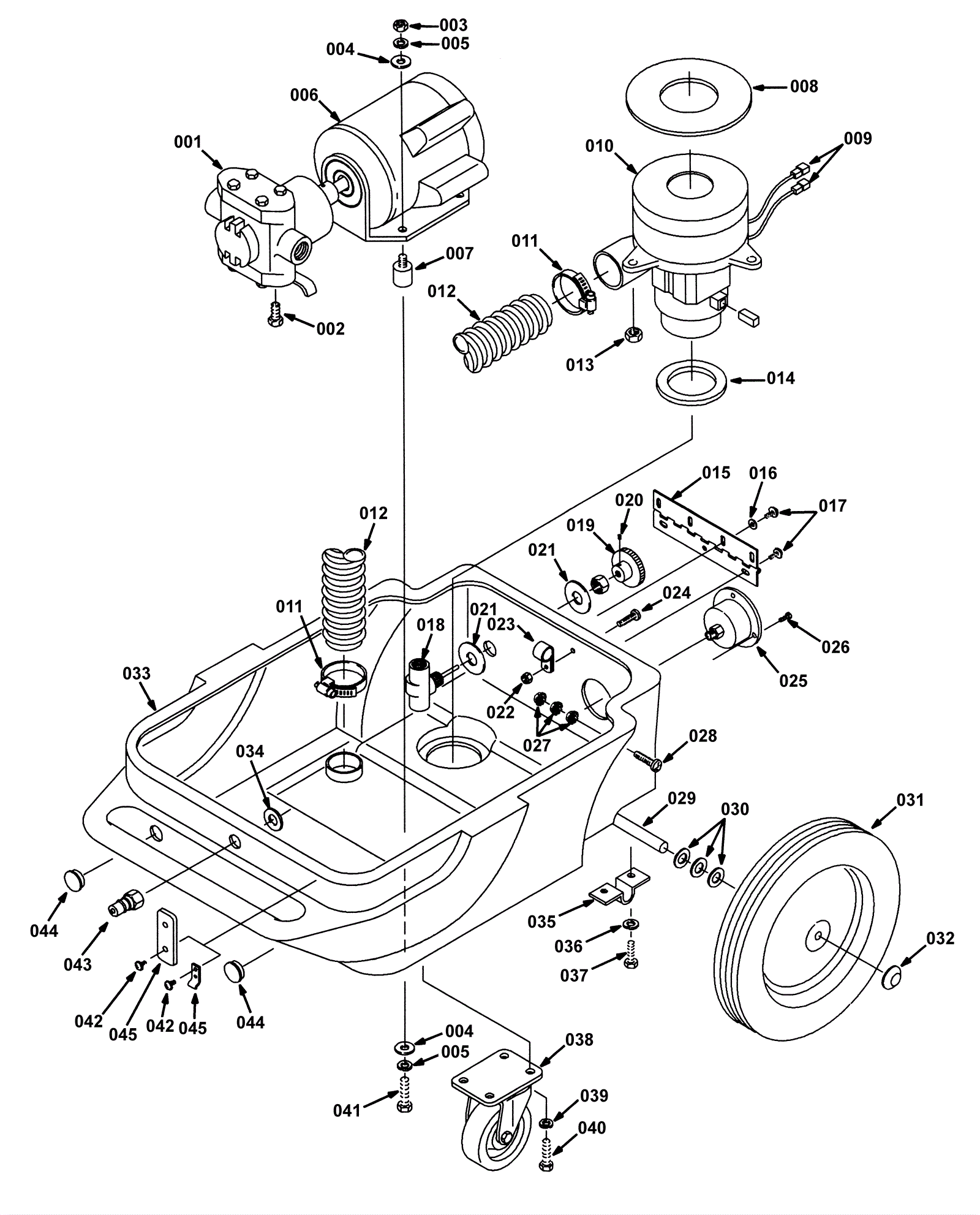
001 |
375-2583
|
Water pump kit |
$2,247.52
|
1 |
|
ships same day |
002 |
999-1029
|
Screw 10-24 x 5/8 truss head phillips stainless steel |
$0.99
|
2 |
|
ships same day |
003 |
999-0593
|
Nut 5/16-18 hex stainless steel |
$0.99
|
4 |
|
ships same day |
004 |
999-0024
|
Washer 5/16 flat stainless steel |
$1.34
|
8 |
|
ships same day |
005 |
999-0553
|
Washer 5/16 medium split lock stainless steel |
$0.99
|
8 |
|
ships same day |
006 |
175-1885
|
1/3 HP pump drive motor |
$1,028.50
|
1 |
|
usually ships 10-13 days |
007 |
175-1891
|
Motor mount |
$20.35
|
4 |
|
usually ships 10-13 days |
008 |
175-6084
|
Vacuum motor gasket |
$13.97
|
1 |
|
usually ships 10-13 days |
009 |
175-0923
|
Male terminal |
$5.28
|
2 |
|
usually ships 10-13 days |
010a |
175-0198
|
120V 3 stage vacuum motor |
$644.82
|
1 |
(OEM) |
usually ships 10-13 days |
010b |
991-1213
|
120V 3 stage vacuum motor tangential |
$165.85
|
1 |
|
usually ships 18-24 days |
010c |
175-6086
|
Carbon brush (pkg of 2) |
$26.18
|
1 |
|
usually ships 10-13 days |
011 |
175-2057
|
Hose clamp |
$6.27
|
2 |
|
usually ships 1-5 days |
012 |
175-1917
|
Hose 2 x 28 inch |
$40.70
|
1 |
|
usually ships 10-13 days |
013 |
999-0152
|
Nut 1/4-20 nylon insert lock zinc plated |
$0.99
|
3 |
|
ships same day |
014 |
175-1920
|
Vacuum motor intake gasket |
$8.80
|
1 |
|
usually ships 10-13 days |
015 |
175-6077
|
Tank hinge |
$14.19
|
1 |
|
ships same day |
016 |
999-0016
|
Washer 1/4 flat plain finish |
$0.99
|
4 |
|
ships same day |
017 |
999-0557
|
Screw 1/4-20 x 1/2 truss head slotted stainless steel |
$0.99
|
7 |
|
ships same day |
018 |
175-7304
|
Pressure control valve |
$352.44
|
1 |
|
usually ships 10-13 days |
019 |
175-1808
|
Valve knob |
$51.37
|
1 |
|
usually ships 10-13 days |
020 |
999-0944
|
Screw 10-32 x 1/4 cup point socket set alloy plain finish |
$0.99
|
1 |
|
ships same day |
021 |
175-7361
|
Washer 11/16 x 1/2 flat stainless steel |
$7.15
|
2 |
|
ships same day |
022 |
999-0442
|
Nut 10-24 nylon insert lock stainless steel |
$1.76
|
1 |
|
ships same day |
023 |
175-0339
|
P clamp |
$4.49
|
1 |
|
usually ships 10-13 days |
024 |
999-1031
|
Screw 10-24 x 1 truss head phillips stainless steel |
$0.99
|
1 |
|
ships same day |
025 |
175-7362
|
600 PSI pressure gauge |
$241.01
|
1 |
|
usually ships 10-13 days |
026 |
999-0447
|
Screw 6-32 x 1/2 pan head phillips zinc plated |
$0.99
|
3 |
|
ships same day |
027 |
999-0356
|
Nut 10-24 lock stainless steel |
$0.99
|
3 |
|
ships same day |
028 |
999-1031
|
Screw 10-24 x 1 truss head phillips stainless steel |
$0.99
|
1 |
|
ships same day |
029 |
175-1900
|
Axle |
$24.86
|
1 |
|
usually ships 10-13 days |
030 |
999-0187
|
Washer 1/2 flat plain finish |
$0.99
|
6 |
|
ships same day |
031 |
175-1902
|
Wheel |
$132.33
|
2 |
|
usually ships 10-13 days |
032 |
175-6097
|
Hub cap |
$5.50
|
2 |
|
ships same day |
033 |
175-7306
|
Chassis (teal) |
$381.48
|
1 |
|
usually ships 1-5 days |
034 |
175-1825
|
Washer |
$5.15
|
2 |
|
ships same day |
035 |
175-6098
|
Axle bracket |
$19.47
|
4 |
|
usually ships 10-13 days |
036 |
999-0632
|
Washer 1/4 split lock stainless steel |
$0.99
|
4 |
|
ships same day |
037 |
999-1032
|
Screw 1/4-20 x 5/8 hex head stainless steel |
$0.99
|
2 |
|
ships same day |
038 |
175-0888
|
4 inch swivel caster wheel |
$67.87
|
8 |
|
ships same day |
039 |
999-0632
|
Washer 1/4 split lock stainless steel |
$0.99
|
8 |
|
ships same day |
040 |
999-1032
|
Screw 1/4-20 x 5/8 hex head stainless steel |
$0.99
|
4 |
|
ships same day |
041 |
999-0556
|
Bolt 5/16-18 x 3/4 hex head stainless steel |
$0.99
|
4 |
|
ships same day |
042 |
999-1165
|
Screw 8-32 x 3/8 truss head phillips stainless steel |
$0.99
|
2 |
|
ships same day |
043 |
991-8150
|
1/4 inch BH2-61 male nipple (mate to QD80) |
$12.21
|
1 |
|
ships same day |
044 |
175-7305
|
Dome plug (black) |
$4.22
|
2 |
|
usually ships 1-5 days |
045a |
175-3369
|
Hood latch |
$35.09
|
2 |
|
usually ships 10-13 days |
045b |
175-6536
|
Tank strap |
$8.36
|
2 |
|
usually ships 1-5 days |
045c |
991-8561
|
Rubber draw latch with keeper |
$29.57
|
2 |
|
usually ships 18-24 days |