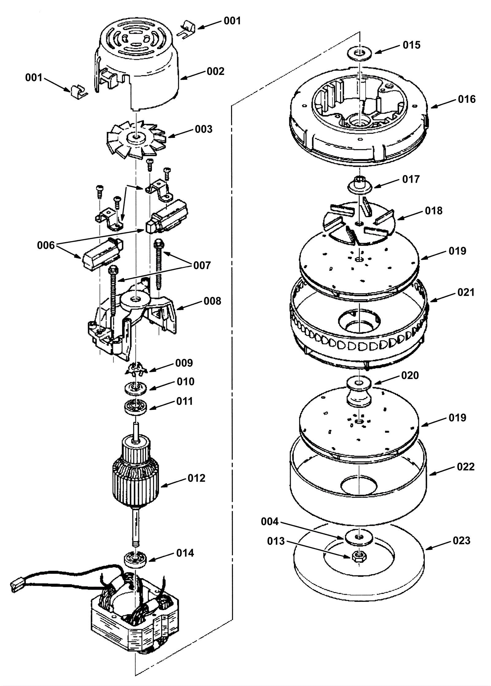
Motor Breakdown
Click to enlarge