| # | Part | Description | Price | Req | Notes | Availability |
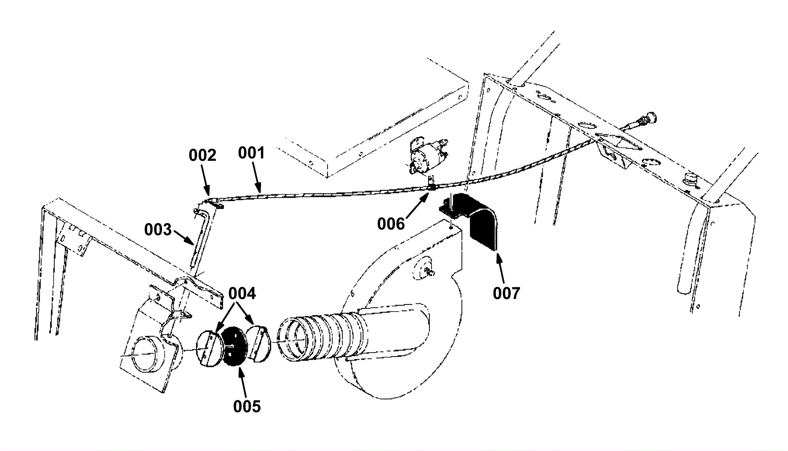
001 |
N/A
|
Not available |
Call for price
|
1 |
Control cable |
usually ships 3-26 days |
002 |
175-6832
|
CLAMP, CABLE, STL, 0.19D X 0.50W, 1HOLE (Tennant Industrial |
$2.00
|
1 |
|
usually ships 1-5 days |
003 |
N/A
|
Not available |
Call for price
|
1 |
Damper lever |
usually ships 3-26 days |
004 |
275-1866
|
DAMPER (Tennant Industrial) |
$29.34
|
2 |
|
usually ships 1-5 days |
005 |
N/A
|
Not available |
Call for price
|
1 |
Seal |
usually ships 3-26 days |
006 |
175-6768
|
P clamp (Tennant Industrial) |
$5.67
|
1 |
|
usually ships 1-5 days |
007 |
N/A
|
Not available |
Call for price
|
1 |
Deflector |
usually ships 3-26 days |