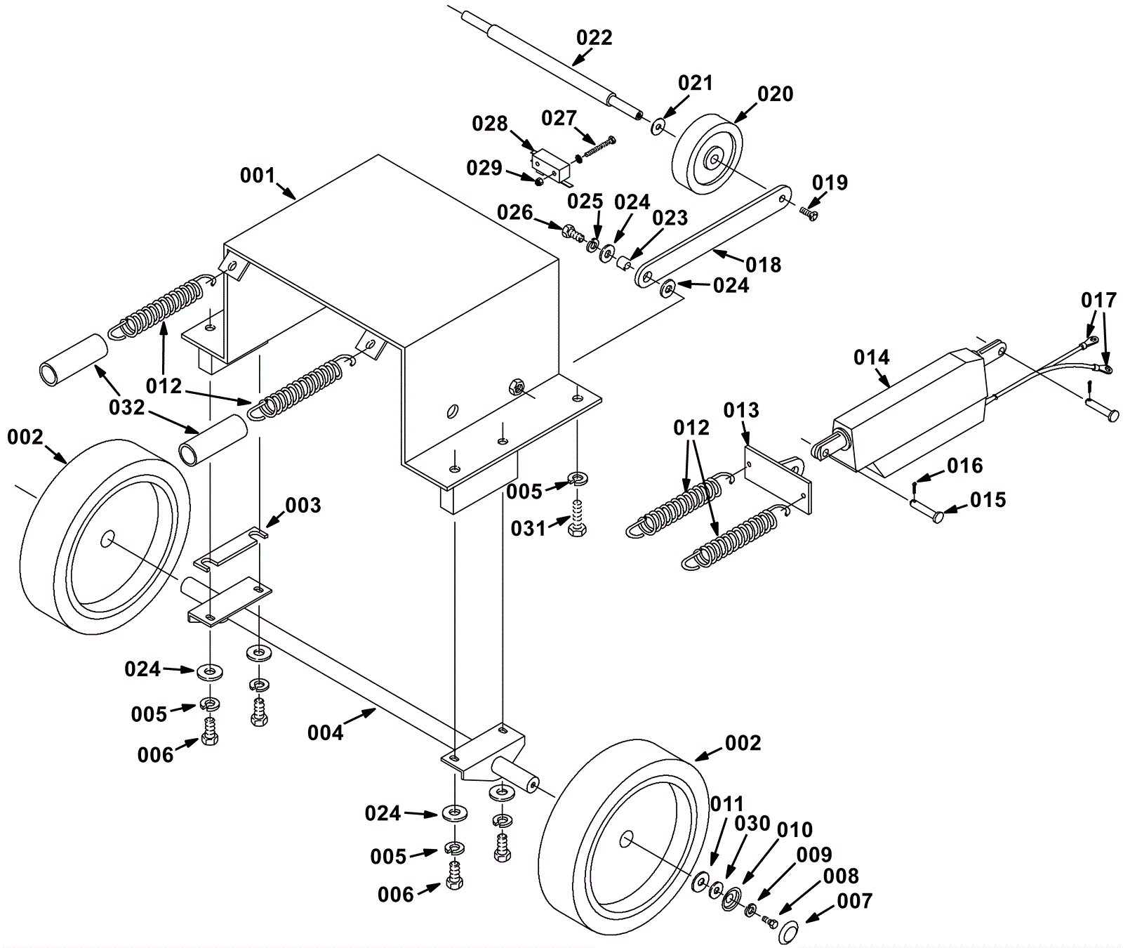
# | Part | Description | Price | Req | Notes | Availability |
001 |
175-1166
|
Frame weldment |
$562.43
|
1 |
|
usually ships 10-13 days |
002 |
175-1072
|
8 inch wheel |
$152.79
|
2 |
|
usually ships 10-13 days |
003 |
175-1170
|
Spacer |
$22.22
|
1 |
|
usually ships 1-5 days |
004 |
175-1262
|
Axle weldment |
$207.46
|
1 |
|
usually ships 1-5 days |
005 |
999-1081
|
Washer M10 split lock stainless steel |
$1.09
|
6 |
|
ships same day |
006 |
999-9081
|
Screw M10-1.5 x 65mm hex head stainless steel |
$2.99
|
4 |
|
ships same day |
007 |
175-1096
|
Wheel cap |
$4.49
|
2 |
|
usually ships 10-13 days |
008 |
999-0784
|
Screw M8-1.25 x 16mm hex head stainless steel |
$1.74
|
2 |
|
ships same day |
009 |
999-0553
|
Washer 5/16 medium split lock stainless steel |
$0.99
|
2 |
|
ships same day |
010 |
175-1095
|
Washer |
$5.15
|
2 |
|
usually ships 10-13 days |
011 |
999-0187
|
Washer 1/2 flat plain finish |
$0.99
|
2 |
|
ships same day |
012 |
175-0943
|
Extension spring |
$11.66
|
4 |
|
usually ships 10-13 days |
013 |
175-1174
|
Bracket |
$79.42
|
1 |
|
usually ships 10-13 days |
014 |
175-3010
|
Actuator |
$514.36
|
1 |
|
usually ships 10-13 days |
015 |
175-3012
|
Clevis pin |
$8.25
|
2 |
|
usually ships 10-13 days |
016 |
175-5080
|
Cotter pin |
$4.49
|
2 |
|
ships same day |
017 |
175-0142
|
1/4 inch male terminal |
$5.28
|
2 |
|
ships same day |
018 |
175-1175
|
Pivot arm |
$55.77
|
2 |
|
usually ships 10-13 days |
019 |
999-1422
|
Screw M6-1 x 16mm flat head zinc plated |
$2.26
|
2 |
|
ships same day |
020a |
175-0292
|
4 inch rear wheel (gray) |
$41.47
|
2 |
(OEM) |
usually ships 10-13 days |
020b |
991-1913
|
4 inch wheel (gray) |
$21.98
|
2 |
(NON-OEM) |
usually ships 18-24 days |
021 |
999-0559
|
Washer 1/2 x 1/4 flat stainless steel |
$0.99
|
2 |
|
ships same day |
022 |
175-1177
|
Rear axle |
$72.60
|
1 |
|
usually ships 10-13 days |
023 |
175-2731
|
Bushing |
$8.14
|
2 |
|
usually ships 10-13 days |
024 |
999-0617
|
Washer 3/8 x 1 flat stainless steel |
$1.82
|
8 |
|
ships same day |
025 |
999-0034
|
Washer 3/8 split lock plain finish |
$1.82
|
2 |
|
ships same day |
026 |
999-0562
|
Bolt 3/8-16 x 1 hex head stainless steel |
$1.50
|
2 |
|
ships same day |
027 |
999-0511
|
Screw 6-32 x 1 pan head phillips zinc plated |
$0.99
|
2 |
|
ships same day |
028 |
675-9886
|
Snap switch |
$15.84
|
1 |
|
ships same day |
029 |
999-0195
|
Nut 6-32 hex plain |
$0.99
|
2 |
|
ships same day |
030 |
999-0549
|
Washer 5/16 x 3/4 SAE flat stainless steel |
$0.99
|
2 |
|
ships same day |
031 |
999-1170
|
Bolt M10-1.5 x 20mm hex head stainless steel |
$3.06
|
2 |
|
ships same day |
032 |
175-1172
|
Sleeve (OBSOLETE) |
$10.89
|
2 |
|
usually ships 10-13 days |