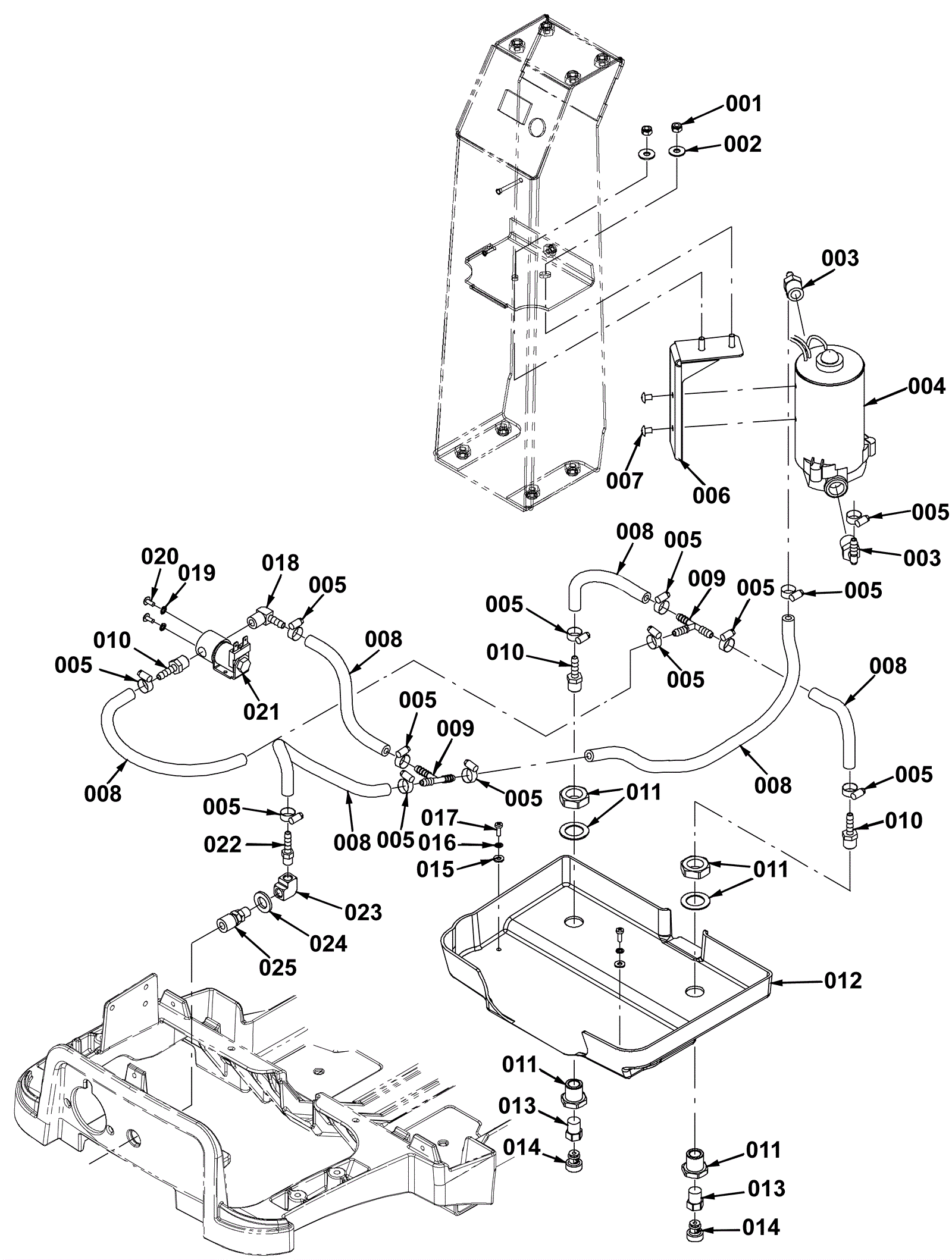
| # | Part | Description | Price | Req | Notes | Availability |
001 |
999-0497
|
Nut M6-1 nylon insert lock stainless steel |
$0.99
|
2 |
|
ships same day |
002 |
999-0335
|
Washer 1/4 x 5/8 SAE flat stainless steel |
$0.99
|
2 |
|
ships same day |
003 |
275-2390
|
90 degree fitting |
$7.37
|
2 |
|
ships same day |
004a |
275-9125
|
Pump |
$399.30
|
1 |
|
usually ships 10-13 days |
004b |
475-2518
|
PUMP, SOLTN, ELE, 230VAC |
$408.54
|
1 |
|
usually ships 10-13 days |
005 |
175-3594
|
Hose clamp |
$5.28
|
13 |
|
usually ships 10-13 days |
006 |
275-2392
|
Bracket |
$34.76
|
1 |
|
ships same day |
007 |
999-1212
|
Screw 10-32 x 1/2 hex head stainless steel |
$0.99
|
2 |
|
ships same day |
008 |
275-2393
|
Hose 1/4 x 60 inch |
$36.08
|
1 |
|
ships same day |
009 |
175-7303
|
1/4 inch union tee |
$11.11
|
2 |
|
usually ships 10-13 days |
010 |
175-6024
|
Hosebarb |
$5.50
|
2 |
|
ships same day |
011 |
175-4814
|
Brass strainer fitting |
$31.90
|
2 |
|
ships same day |
012 |
275-2394
|
Nozzle shroud |
$197.34
|
1 |
|
usually ships 10-13 days |
013 |
275-2395
|
Nozzle adapter |
$16.39
|
2 |
|
usually ships 10-13 days |
014 |
275-9130
|
Spray nozzle |
$48.51
|
2 |
|
ships same day |
015 |
999-0266
|
Washer #8 SAE flat stainless steel |
$0.99
|
2 |
|
ships same day |
016 |
999-1083
|
Washer #8 internal star lock stainless steel |
$0.99
|
2 |
|
ships same day |
017 |
999-0521
|
Screw M4-.7 x 12mm pan head phillips zinc |
$2.31
|
2 |
|
ships same day |
018 |
175-4307
|
Hosebarb |
$13.20
|
1 |
|
ships same day |
019 |
999-1083
|
Washer #8 internal star lock stainless steel |
$0.99
|
2 |
|
ships same day |
020 |
999-1165
|
Screw 8-32 x 3/8 truss head phillips stainless steel |
$0.99
|
2 |
|
ships same day |
021a |
175-6025
|
Solution solenoid valve |
$241.34
|
1 |
(if solenoid valve is leaking try replacing the plunger with spring first before replacing entire solenoid valve) |
ships same day |
021b |
475-2051
|
VALVE, WATER, SOLENOID, 230VAC |
$159.06
|
1 |
|
usually ships 10-13 days |
022 |
175-1659
|
Fitting |
$5.28
|
1 |
|
usually ships 10-13 days |
023 |
175-1649
|
90 degree elbow |
$6.49
|
1 |
|
usually ships 10-13 days |
024 |
999-0114
|
Washer 1/2 SAE flat |
$0.99
|
1 |
|
ships same day |
025 |
175-1652
|
1/8 inch female brass quick coupler |
$38.50
|
1 |
|
ships same day |