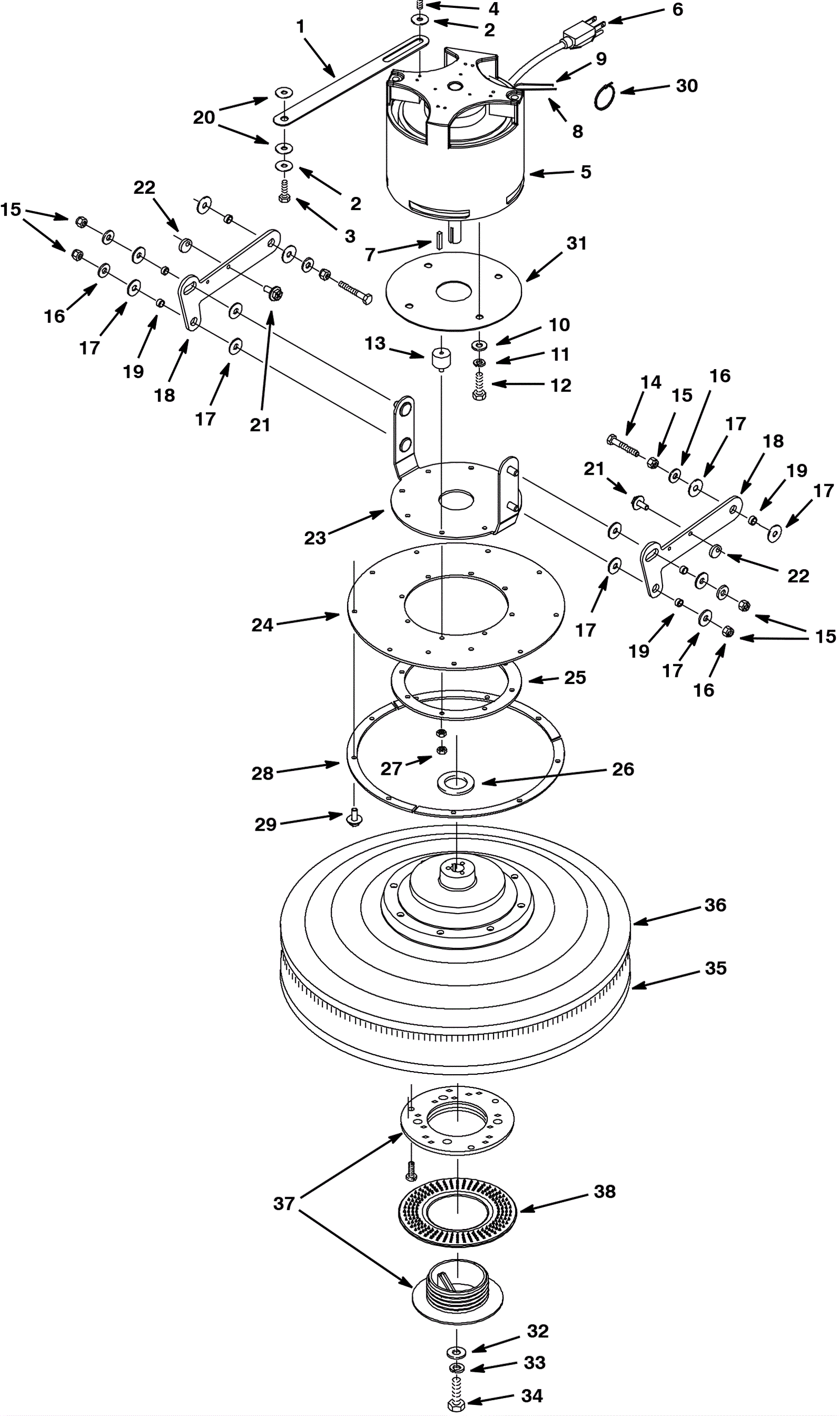
# | Part | Description | Price | Req | Notes | Availability |
1 |
175-5506
|
Strap |
$53.57
|
1 |
|
usually ships 10-13 days |
2 |
999-1119
|
Washer 1/4 x 1 fender zinc plated |
$0.99
|
2 |
|
ships same day |
3 |
999-0507
|
Bolt M6-1 x 16mm hex head full thread plain finish |
$0.99
|
1 |
|
ships same day |
4 |
999-0333
|
Screw 10-24 x 1/2 pan head phillips stainless steel |
$0.99
|
1 |
|
ships same day |
5a |
175-5507
|
120V brush motor |
$1,939.63
|
1 |
(includes 5b-9) |
usually ships 10-13 days |
5b |
175-3492
|
Carbon brush |
$27.50
|
4 |
|
usually ships 10-13 days |
5c |
175-3493
|
600V 60amp rectifier |
$156.31
|
1 |
|
usually ships 10-13 days |
6 |
175-5508
|
Motor cord |
$46.64
|
1 |
|
usually ships 10-13 days |
7 |
175-1087
|
Square keyway |
$38.06
|
1 |
|
ships same day |
8 |
175-5509
|
#14 wire assembly (black) |
$17.38
|
1 |
|
usually ships 1-5 days |
9 |
175-5510
|
#14 wire assembly (white) (OBSOLETE) |
$8.03
|
1 |
|
usually ships 1-5 days |
10 |
999-0617
|
Washer 3/8 x 1 flat stainless steel |
$1.82
|
4 |
|
ships same day |
11 |
999-0034
|
Washer 3/8 split lock plain finish |
$1.82
|
4 |
|
ships same day |
12 |
175-1108
|
Screw .36 x .62 hex head |
$5.50
|
4 |
|
usually ships 10-13 days |
13 |
175-5513
|
Neoprene stud |
$18.26
|
4 |
|
usually ships 10-13 days |
14 |
999-1006
|
Screw 3/8-16 x 1 3/4 hex head stainless steel |
$2.31
|
2 |
|
ships same day |
15 |
999-0324
|
Nut 3/8-16 nylon insert lock jam zinc plated |
$0.99
|
6 |
|
ships same day |
16 |
999-0617
|
Washer 3/8 x 1 flat stainless steel |
$1.82
|
6 |
|
ships same day |
17 |
999-1156
|
Washer M12-.7 nylon |
$5.28
|
12 |
|
ships same day |
18 |
175-5514
|
Lifting arm bracket |
$42.35
|
2 |
|
usually ships 10-13 days |
19 |
175-1245
|
Bushing |
$5.94
|
6 |
|
usually ships 10-13 days |
20 |
175-5537
|
Washer 1/4 neoprene |
$5.50
|
2 |
|
usually ships 1-5 days |
21 |
999-1383
|
Screw M6-1 x 16mm hex head stainless steel |
$3.96
|
2 |
|
ships same day |
22 |
175-5515
|
Stop cam |
$15.07
|
2 |
|
usually ships 10-13 days |
23 |
175-5516
|
Motor bracket |
$130.68
|
1 |
|
usually ships 10-13 days |
24 |
275-2333
|
Rubber seal |
$20.13
|
1 |
|
ships same day |
25 |
275-2334
|
Motor mounting plate |
$47.41
|
1 |
|
usually ships 10-13 days |
26 |
175-0406
|
Washer.77 flate stainless steel |
$5.28
|
1 |
|
usually ships 10-13 days |
27 |
999-0015
|
Nut 1/4-20 k-lock zinc plated |
$0.99
|
8 |
|
ships same day |
28 |
275-2335
|
Base plate |
$27.83
|
3 |
|
usually ships 10-13 days |
29 |
999-1383
|
Screw M6-1 x 16mm hex head stainless steel |
$3.96
|
9 |
|
ships same day |
30 |
175-0037
|
Wire tie |
$4.36
|
1 |
|
usually ships 10-13 days |
31 |
175-5512
|
Seal retainer |
$61.93
|
1 |
|
usually ships 10-13 days |
32 |
999-0617
|
Washer 3/8 x 1 flat stainless steel |
$1.82
|
1 |
|
ships same day |
33 |
999-0553
|
Washer 5/16 medium split lock stainless steel |
$0.99
|
1 |
|
ships same day |
34 |
999-0688
|
Bolt 5/16-18 x 1 1/4 hex head stainless steel |
$0.99
|
1 |
|
ships same day |
35 |
255-2050
|
20 inch gorilla spray buff/polish/burnish pad (pkg of 5) |
$45.88
|
1 |
|
ships same day |
36 |
275-7527
|
20 inch (500mm) pad driver assembly |
$241.56
|
1 |
(includes 37-38) |
usually ships 10-13 days |
38 |
175-0182
|
Universal center lock |
$35.20
|
1 |
|
ships same day |
38 |
275-7012
|
Locking collar |
$11.11
|
1 |
|
usually ships 10-13 days |