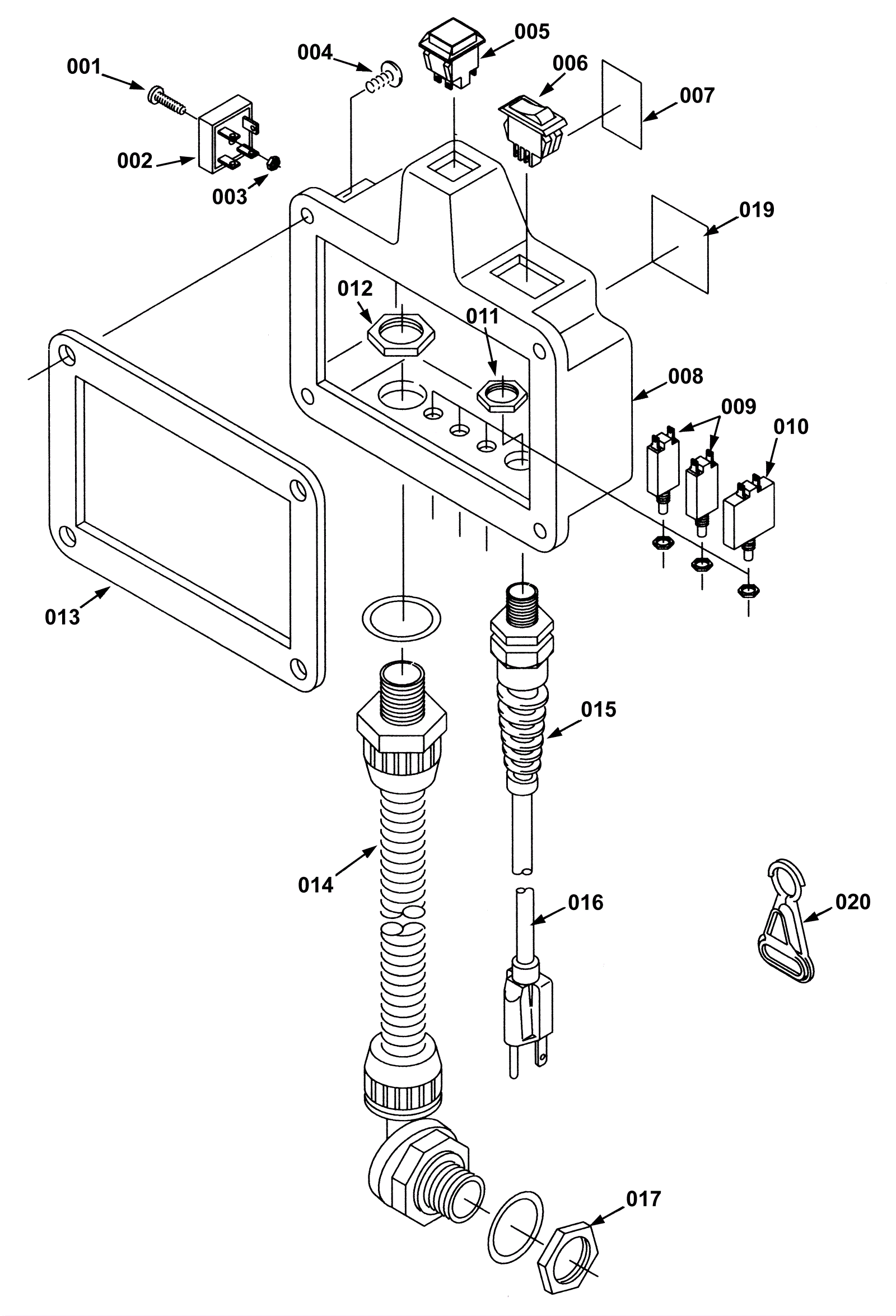
| # | Part | Description | Price | Req | Notes | Availability |
001 |
999-0475
|
Screw 6-32 x 3/4 pan head slotted zinc plated |
$0.99
|
1 |
|
ships same day |
002 |
175-6052
|
15amp rectifier |
$26.40
|
1 |
|
ships same day |
003 |
999-0227
|
Nut 6-32 hex nylon insert lock jam zinc plated |
$0.99
|
1 |
|
ships same day |
004 |
999-0557
|
Screw 1/4-20 x 1/2 truss head slotted stainless steel |
$0.99
|
4 |
|
ships same day |
005a |
175-6057
|
Brush pulse switch |
$28.49
|
1 |
|
usually ships 10-13 days |
005b |
275-5128
|
Switch boot |
$28.16
|
1 |
|
usually ships 10-13 days |
006 |
175-0005
|
Rocker switch |
$12.98
|
1 |
(vacuum and pump motor) |
ships same day |
007 |
175-3562
|
On/off decal |
$15.51
|
1 |
|
usually ships 1-5 days |
008 |
275-6088
|
Switchbox assembly |
$591.03
|
1 |
|
usually ships 1-5 days |
009 |
175-6060
|
1.5amp circuit breaker |
$54.67
|
2 |
(pump and brush motor) |
usually ships 10-13 days |
010 |
175-6061
|
12amp circuit breaker |
$46.86
|
1 |
(vacuum motor) |
usually ships 10-13 days |
011 |
999-0188
|
Nut 3/8-16 nylon insert lock zinc plated |
$0.99
|
1 |
|
ships same day |
012 |
175-6158
|
Nut 1/2 conduit |
$5.28
|
1 |
|
usually ships 10-13 days |
013 |
175-3561
|
Switch box gasket |
$11.99
|
1 |
|
usually ships 1-5 days |
014 |
175-3554
|
Wiring harness |
$238.04
|
1 |
|
usually ships 10-13 days |
015 |
175-0001
|
Strain relief |
$13.64
|
1 |
|
ships same day |
016a |
175-6064
|
14/3 pigtail cord 18 inch |
$15.84
|
1 |
|
usually ships 10-13 days |
016b |
991-5002
|
16/3 extension cord 50 foot (orange) |
$54.17
|
1 |
|
ships same day |
017 |
175-9856
|
Nut 1/2 conduit |
$4.49
|
1 |
|
usually ships 1-5 days |
019 |
275-2370
|
Read manual decal |
$18.26
|
1 |
|
usually ships 10-13 days |
020 |
175-0236
|
Cord belt clip |
$11.00
|
1 |
|
ships same day |