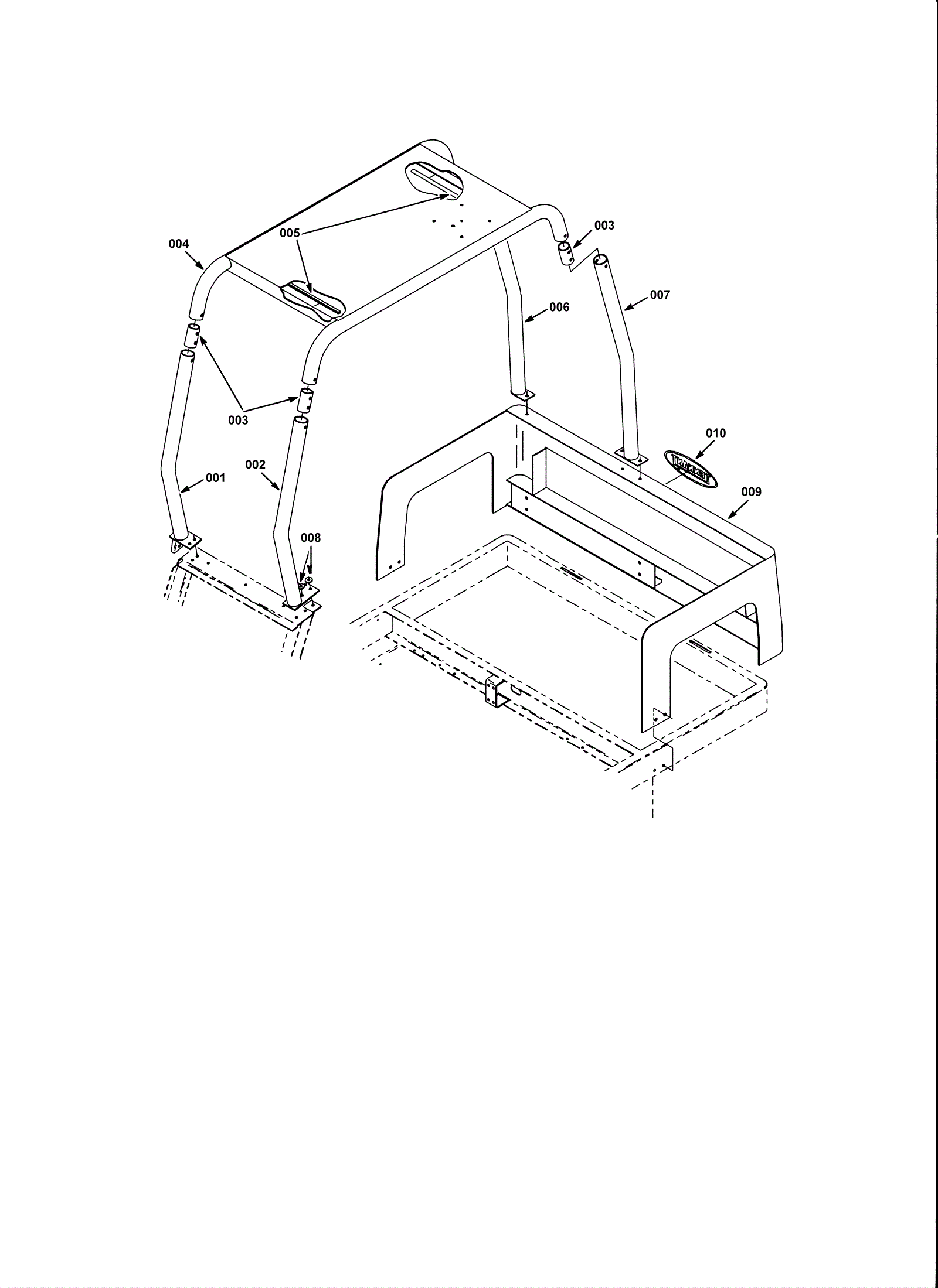
Heavy Duty Bumper and Overhead Guard Kit
Click to enlarge