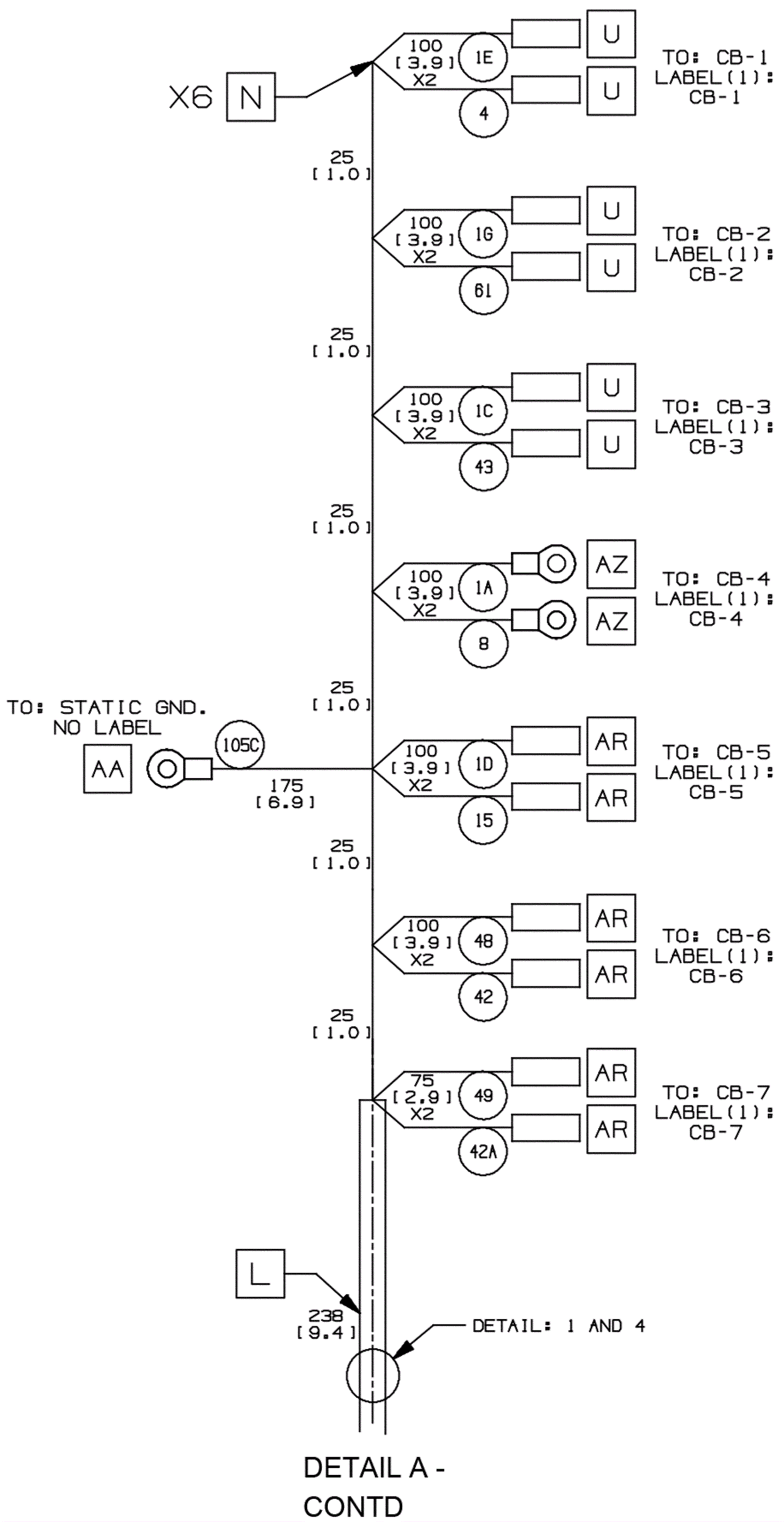
T600e
Electrical Harness - before SN 11011883 5
Click to enlarge
#
Part
Description
Price
Req
Notes
Availability
375-4559
Main harness
$794.31
1
usually ships 10-13 days