| # | Part | Description | Price | Req | Notes | Availability |
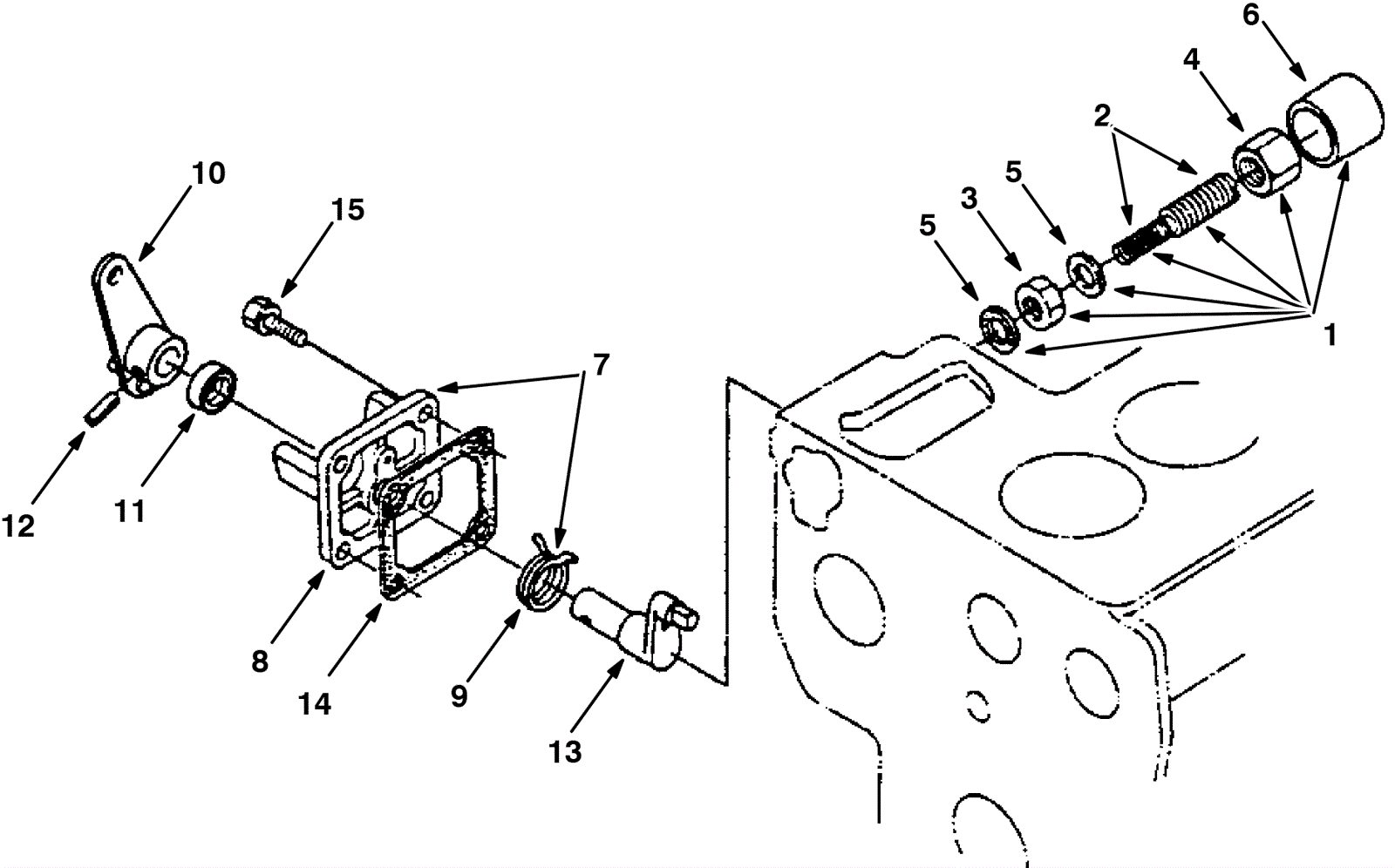
1 |
375-1799
|
Apparatus assembly (OBSOLETE) |
Call for price
|
1 |
(includes 2-6) |
usually ships 10-13 days |
2 |
375-2417
|
Adjusting bolt (OBSOLETE) |
Call for price
|
1 |
|
usually ships 10-13 days |
3 |
375-2418
|
Nut (OBSOLETE) |
Call for price
|
1 |
|
usually ships 10-13 days |
4 |
375-2419
|
Cap nut (OBSOLETE) |
Call for price
|
1 |
|
usually ships 10-13 days |
5 |
175-8303
|
VR, GASKET, SEALING [KU] (Tennant Industrial) |
$11.36
|
2 |
|
usually ships 1-5 days |
6 |
375-2420
|
Cap (OBSOLETE) |
Call for price
|
1 |
|
usually ships 10-13 days |
7 |
375-2421
|
Engine stop lever assembly (OBSOLETE) |
Call for price
|
1 |
(includes 8-9) |
usually ships 10-13 days |
8 |
375-2422
|
Injection pump cover (OBSOLETE) |
Call for price
|
1 |
|
usually ships 10-13 days |
9 |
375-2423
|
Return spring (OBSOLETE) |
Call for price
|
1 |
|
usually ships 10-13 days |
10 |
375-2424
|
Engine stop lever (OBSOLETE) |
Call for price
|
1 |
|
usually ships 10-13 days |
11 |
275-3734
|
VR, SEAL, OIL [KU] (Tennant Industrial) |
$19.17
|
1 |
|
usually ships 1-5 days |
12 |
375-2304
|
Spring pin |
$4.67
|
1 |
|
usually ships 10-13 days |
13 |
375-2425
|
Lever shaft (OBSOLETE) |
Call for price
|
1 |
|
usually ships 10-13 days |
14 |
575-0448
|
VR, GASKET, COVER (Tennant Industrial) |
$9.19
|
1 |
|
usually ships 10-13 days |
15 |
175-8342
|
VR, SCREW, HEX [KU] (Tennant Industrial) |
$5.33
|
4 |
|
usually ships 1-5 days |