| # | Part | Description | Price | Req | Notes | Availability |
0 |
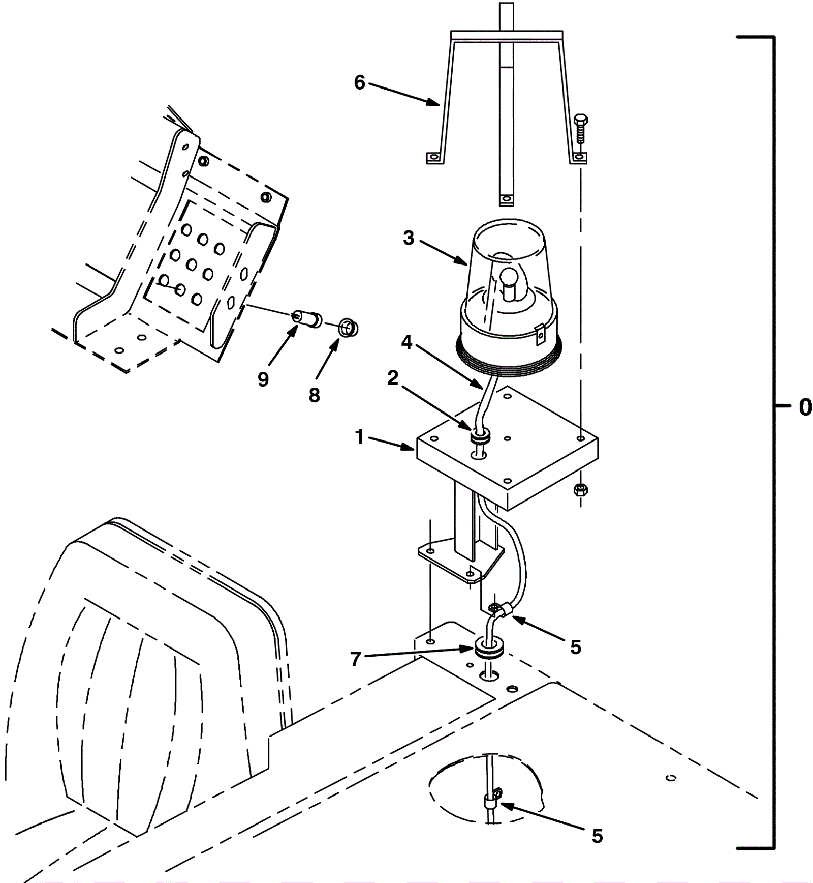
675-4750
|
LIGHT KIT, FLSH, PED, CI [8400/10] (Tennant Industrial) |
$1,163.66
|
1 |
(includes 1-9) |
usually ships 10-13 days |
1 |
675-0899
|
BRACKET WLDT, LIGHT, REVL (Tennant Industrial) |
$216.43
|
1 |
|
usually ships 10-13 days |
2 |
175-9590
|
Rubber grommet |
$5.28
|
1 |
|
usually ships 1-5 days |
3a |
675-5979
|
LIGHT, FLSH, 12VDC, AMB, RWK (Tennant Industrial) |
$905.68
|
1 |
(includes 3b-3c) |
usually ships 10-13 days |
3b |
175-5418
|
Revolving light amber lens |
$47.63
|
1 |
|
usually ships 1-5 days |
3c |
275-0587
|
Lamp 12VDC 2.1A |
$19.69
|
1 |
|
usually ships 1-5 days |
4 |
675-2529
|
HARNESS, LIGHT, FLSH, REVL, [ 355L] (Tennant Industrial) |
$328.99
|
1 |
|
usually ships 10-13 days |
5 |
175-6768
|
P clamp (Tennant Industrial) |
$5.67
|
2 |
|
usually ships 1-5 days |
6 |
175-5420
|
Revolving/flashing light guard weldment |
$167.97
|
1 |
|
usually ships 1-5 days |
7 |
275-3903
|
GROMMET, RBR, 0.69ID, F/1.0H, .25 MATL (Tennant Industrial) |
$5.33
|
2 |
|
usually ships 1-5 days |
8 |
375-4772
|
Circuit breaker boot (OBSOLETE) |
Call for price
|
1 |
|
usually ships 10-13 days |
9 |
475-3338
|
CIRCUITBREAKER KIT, 15A, REPLMT |
$19.80
|
1 |
|
usually ships 10-13 days |
N/S |
175-5422
|
Revolving light red lens |
$62.59
|
1 |
|
usually ships 1-5 days |
N/S |
175-5423
|
Revolving light blue lens |
$80.19
|
1 |
|
usually ships 1-5 days |