| # | Part | Description | Price | Req | Notes | Availability |
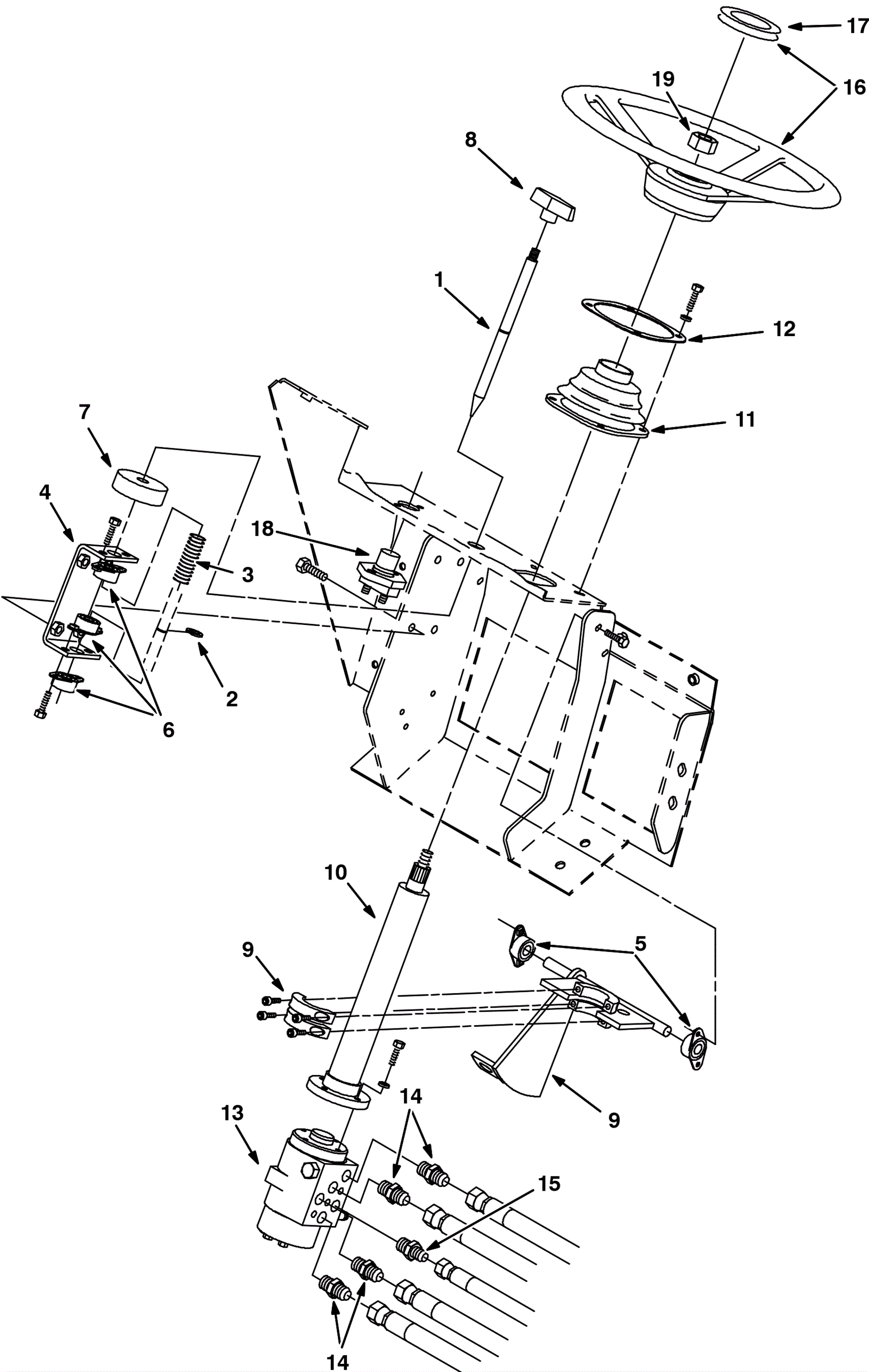
1 |
275-7464
|
ROD, LATCH, STEERING, TILT (Tennant Industrial) |
$85.35
|
1 |
|
usually ships 1-5 days |
2 |
275-2805
|
RING, RETAINING, EXT, 0.50D, HD (Tennant Industrial) |
$5.50
|
1 |
|
usually ships 1-5 days |
3 |
275-0143
|
Compression spring |
$5.28
|
1 |
|
ships same day |
4 |
275-2801
|
CHANNEL, MTG, STEERING LATCH (Tennant Industrial) |
$71.68
|
1 |
|
usually ships 1-5 days |
5 |
275-2808
|
BEARING, FLNG, 2HOLE, 0.50B (Tennant Industrial) |
$12.17
|
2 |
|
usually ships 1-5 days |
6 |
275-2802
|
BEARING, FLNG, 2HOLE, 0.50B [NYL] (Tennant Industrial) |
$9.84
|
3 |
|
usually ships 1-5 days |
7 |
275-2804
|
INSULATION, ACSTC, RND, 0.8, 02.5D 0.5H (Tennant Industrial |
$4.50
|
1 |
|
usually ships 1-5 days |
8 |
275-2806
|
KNOB, TEE, 2.5 X 1.0 1.1L 0.38-16, PLSTC (Tennant Industria |
$18.67
|
1 |
|
usually ships 1-5 days |
9 |
275-7465
|
BRACKET WLDT, STEERING, TILT (Tennant Industrial) |
$185.37
|
1 |
|
usually ships 1-5 days |
10 |
275-7466
|
COLUMN, STEERING (Tennant Industrial) |
$317.73
|
1 |
|
usually ships 1-5 days |
11 |
275-2814
|
BOOT, BELLOWS, 3.1L 4.4W 2.8H 1HOLE, NEO (Tennant Industria |
$83.18
|
1 |
|
usually ships 1-5 days |
12 |
275-7467
|
PLATE, MOUNT, STEERING BOOT (Tennant Industrial) |
$16.84
|
1 |
|
usually ships 1-5 days |
13 |
675-7267
|
STEER-CONTROL, HYD02, 06.1 1000 (Tennant Industrial) |
$2,121.59
|
1 |
|
usually ships 10-13 days |
14 |
175-8103
|
FITTING, HYD, STR, JM06/OM06 (Tennant Industrial) |
$15.17
|
4 |
|
usually ships 1-5 days |
15 |
175-6968
|
FITTING, HYD, STR, JM04/OM06 (Tennant Industrial) |
$12.50
|
1 |
|
usually ships 1-5 days |
16 |
375-2308
|
14.0 diameter steering wheel (OBSOLETE) |
Call for price
|
1 |
(includes 17a-17b) |
usually ships 10-13 days |
17a |
375-6034
|
Steering wheel cap (OBSOLETE) |
Call for price
|
1 |
|
usually ships 10-13 days |
17b |
375-6037
|
Steering wheel insert (OBSOLETE) |
Call for price
|
1 |
|
usually ships 10-13 days |
18 |
175-3218
|
Push switch SPST |
$26.40
|
1 |
|
usually ships 10-13 days |
19 |
275-2813
|
NUT, HEX, JAM, M20 X 1.5 (Tennant Industrial) |
$9.84
|
1 |
|
usually ships 1-5 days |