| # | Part | Description | Price | Req | Notes | Availability |
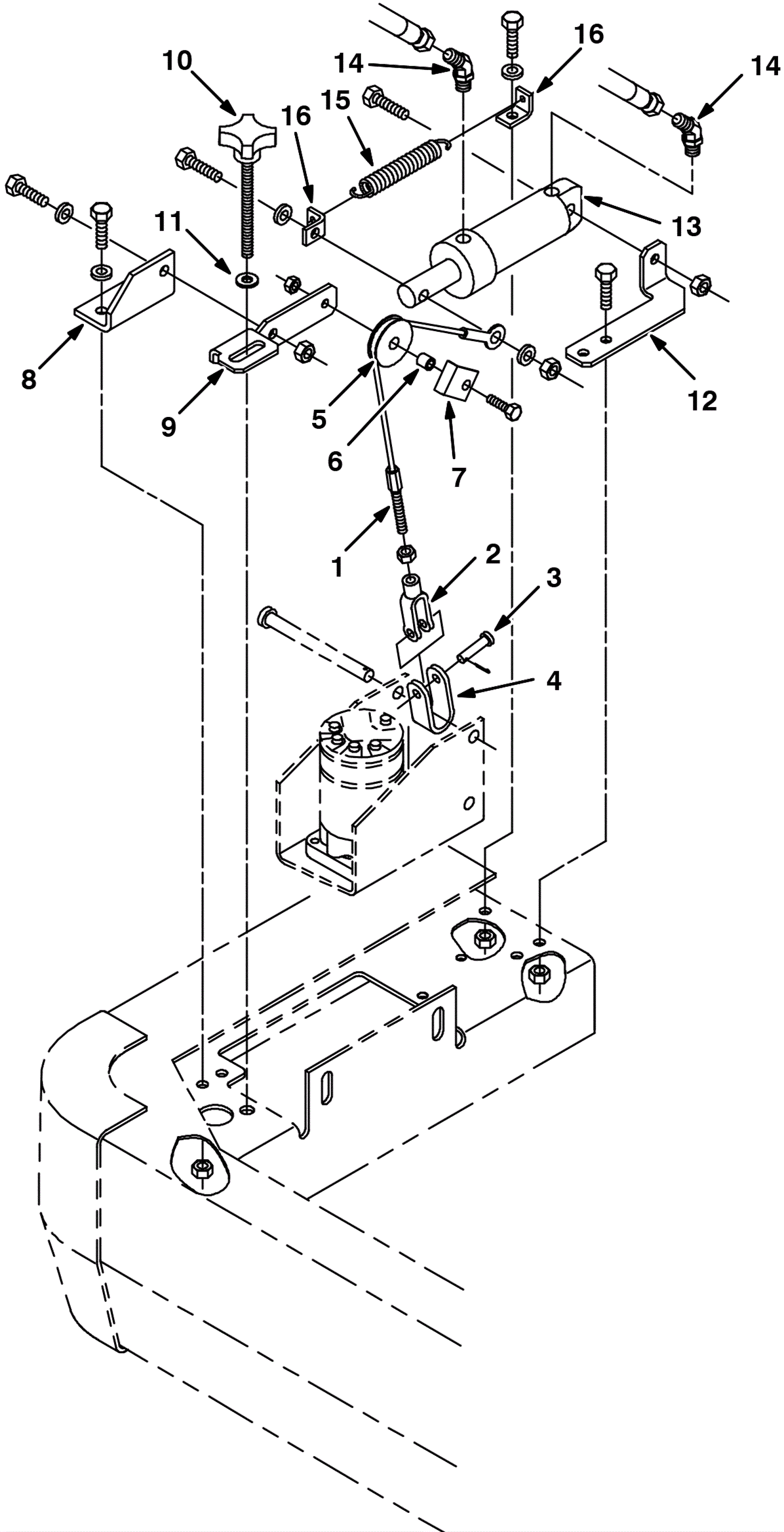
1 |
275-0159
|
CABLE, GLV .13D 014.9L .41EYE / M10 (Tennant Industrial) |
$116.69
|
1 |
|
usually ships 10-13 days |
2 |
275-0158
|
CLEVIS, ADJ, 0.38PIN, M10X1.5 (Tennant Industrial) |
$22.50
|
1 |
|
usually ships 10-13 days |
3 |
175-2111
|
Clevis pin |
$5.15
|
1 |
|
usually ships 10-13 days |
4 |
575-1950
|
BRACKET, U, .12, 1.2W 2.3 1.0L, 2/0.6H (Tennant Industrial) |
$26.01
|
1 |
|
usually ships 10-13 days |
5 |
275-0912
|
Pulley |
$27.50
|
1 |
|
usually ships 1-5 days |
6 |
175-2249
|
Sleeve |
$4.22
|
1 |
|
ships same day |
7 |
275-0058
|
Cable keeper angle bracket |
$8.14
|
1 |
|
usually ships 1-5 days |
8 |
575-4363
|
BRACKET, ANGLE, SPPT, PULLEY (Tennant Industrial) |
$49.10
|
1 |
|
usually ships 10-13 days |
9 |
575-5788
|
BRACKET, ADJ, SIDE BRUSH (Tennant Industrial) |
$69.14
|
1 |
|
usually ships 10-13 days |
10 |
575-8603
|
KNOB, STAR, 1.97D 4EAR 5.5L M10X1.5 (Tennant Industrial) |
$157.03
|
1 |
|
usually ships 10-13 days |
11 |
475-8821
|
WASHER, FLAT, 0.40B 0.81D .06, NYL (Tennant Industrial) |
$5.67
|
1 |
|
usually ships 10-13 days |
12 |
575-2958
|
BRACKET, SPPT, CYL (Tennant Industrial) |
$34.90
|
1 |
|
usually ships 10-13 days |
13 |
275-6034
|
Cylindrical head (Tennant Industrial) |
$635.13
|
1 |
|
usually ships 10-13 days |
14 |
175-6918
|
FITTING, HYD, E45, JM04/OM04 (Tennant Industrial) |
$18.67
|
2 |
|
usually ships 1-5 days |
15 |
175-6921
|
Extension spring |
$12.10
|
1 |
|
usually ships 10-13 days |
16 |
575-2744
|
ANGLE, RETAINER, SPRING (Tennant Industrial) |
$40.67
|
2 |
|
usually ships 10-13 days |