| # | Part | Description | Price | Req | Notes | Availability |
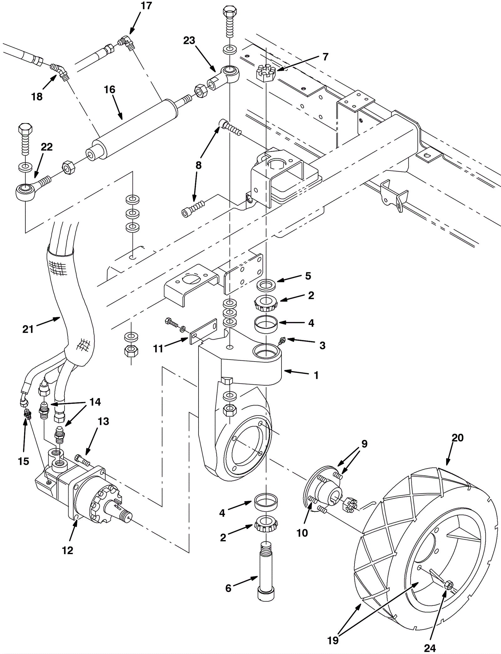
1 |
675-7909
|
HOUSING KIT, DRIVE, RH, F/53612, REPLMT (Tennant Industrial) |
$2,341.67
|
1 |
|
usually ships 10-13 days |
2 |
175-0638
|
BEARING, CONE, 1.38B 0.71W (Tennant Industrial) |
$76.35
|
2 |
|
usually ships 10-13 days |
3 |
175-6778
|
FITTING, GREASE, STR PM04 .63L (Tennant Industrial) |
$9.50
|
1 |
|
usually ships 10-13 days |
4 |
175-0636
|
BEARING, CUP, 2.56D 0.55W (Tennant Industrial) |
$19.17
|
2 |
|
usually ships 10-13 days |
5 |
375-0672
|
Washer 1/3/8 flat steel (Tennant Industrial) |
$5.67
|
1 |
|
usually ships 10-13 days |
6 |
375-0673
|
Bolt 1-3/8 drilled shoulder (Tennant Industrial) |
$175.20
|
1 |
|
usually ships 10-13 days |
7 |
375-0674
|
Nut 1-1/8-18 hex slotted (Tennant Industrial) |
$38.51
|
1 |
|
usually ships 10-13 days |
8 |
375-0675
|
Screw M16-2 x 50, 12.9 socket (Tennant Industrial) |
$11.00
|
2 |
|
usually ships 10-13 days |
9 |
275-4793
|
HUB ASSY, WHEEL, 5 BOLT 4.50BC TAPER B (Tennant Industrial) |
$330.40
|
1 |
(includes 10) |
usually ships 10-13 days |
10 |
475-9819
|
STUD, WHEEL, .50-20 X 1.50L, 0.297TH (Tennant Industrial) |
$9.50
|
5 |
|
usually ships 10-13 days |
11 |
375-0682
|
Flat steel bar (Tennant Industrial) |
$51.34
|
1 |
|
usually ships 1-5 days |
12 |
675-8464
|
MOTOR KIT, HYD, F/22604, REPLMT (Tennant Industrial) |
$4,040.64
|
1 |
|
usually ships 10-13 days |
13 |
375-0668
|
Screw 1/2-13 x 1 1/2 socket aluminum (Tennant Industrial) |
$9.50
|
4 |
|
usually ships 1-5 days |
14 |
275-2897
|
FITTING, HYD, STR, JM10/OM12 (Tennant Industrial) |
$20.00
|
2 |
|
usually ships 1-5 days |
15 |
175-8098
|
FITTING, HYD, STR, JM04/OM04 (Tennant Industrial) |
$9.84
|
1 |
|
usually ships 1-5 days |
16 |
275-4108
|
CYLINDER, HYD, 2.0B 15.0L 08.00STRK 1500 (Tennant Industria |
$934.69
|
1 |
|
usually ships 1-5 days |
17 |
175-7214
|
Hydraulic fitting |
$14.63
|
1 |
|
usually ships 1-5 days |
18 |
375-0678
|
Hydraulic fitting (Tennant Industrial) |
$34.51
|
1 |
|
usually ships 1-5 days |
19 |
275-7333
|
TIRE ASSY, SOLID, 18.0 X 6.0,HI TRACTION (Tennant Industrial |
$2,265.95
|
1 |
(includes 20) |
usually ships 10-13 days |
20 |
275-7333
|
TIRE ASSY, SOLID, 18.0 X 6.0,HI TRACTION (Tennant Industrial |
$2,265.95
|
1 |
|
usually ships 10-13 days |
21 |
375-0689
|
Nylon sleeve (Tennant Industrial) |
$32.84
|
1 |
|
usually ships 1-5 days |
22 |
575-9134
|
ROD-END, 0.75-16RH MAL 0.75B [PTFE] (Tennant Industrial) |
$132.36
|
1 |
|
usually ships 10-13 days |
23 |
575-9233
|
ROD-END, 0.75-16RH FEM 0.75B (Tennant Industrial) |
$134.69
|
1 |
|
usually ships 10-13 days |
24 |
175-6797
|
NUT, WHEEL, .50-20 X 60 ANGLE (Tennant Industrial) |
$5.00
|
5 |
|
usually ships 10-13 days |