| # | Part | Description | Price | Req | Notes | Availability |
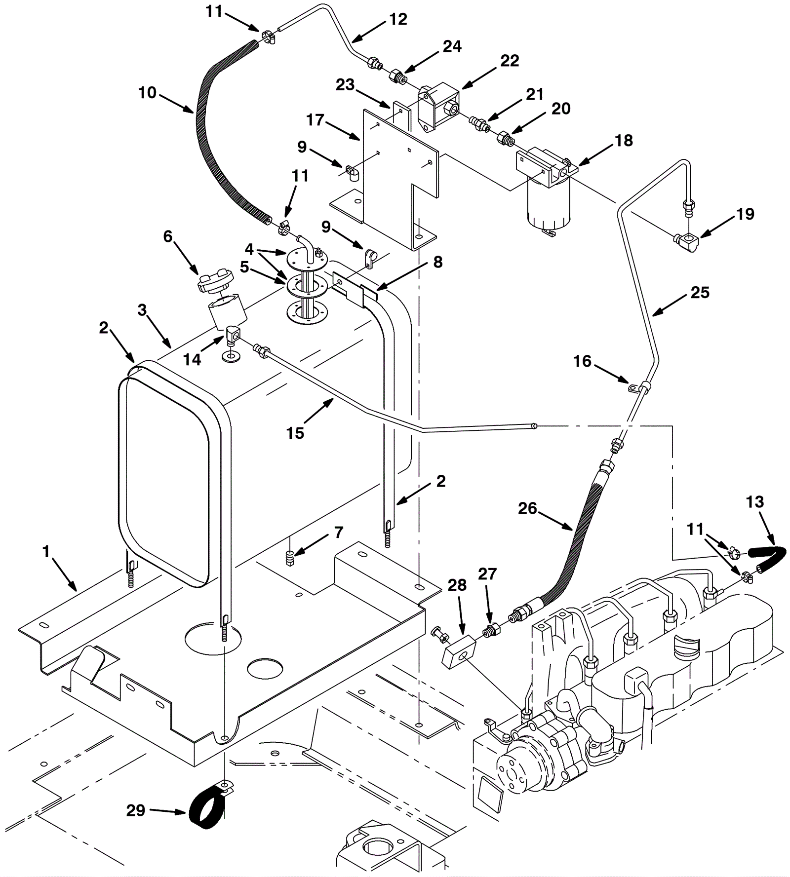
1 |
375-1910
|
Gas tray (OBSOLETE) |
Call for price
|
1 |
|
usually ships 10-13 days |
2 |
575-7035
|
STRAP WLDT, TANK, 0.06 1.0W 37.7L (Tennant Industrial) |
$90.52
|
2 |
|
usually ships 10-13 days |
3 |
375-1911
|
Fuel tank (OBSOLETE) |
Call for price
|
1 |
(includes 4-7) |
usually ships 10-13 days |
4 |
675-0570
|
VR, SEND-UNIT, FUEL (Tennant Industrial) |
$181.20
|
1 |
(includes 5) |
usually ships 10-13 days |
5 |
275-2859
|
GASKET, SENDER, FUEL, 2.7D 1.5B 5/ 2.1BC (Tennant Industria |
$16.17
|
1 |
|
usually ships 1-5 days |
6 |
175-6850
|
CAP, TANK, FUEL, 2.3NECK 2.6D (Tennant Industrial) |
$43.01
|
1 |
|
usually ships 10-13 days |
7 |
375-0632
|
Plug fitting (Tennant Industrial) |
$4.83
|
1 |
|
usually ships 1-5 days |
8 |
575-8949
|
BRACKET, MTG, FUELLINE (Tennant Industrial) |
$199.71
|
1 |
|
usually ships 10-13 days |
9 |
275-2871
|
CLAMP, CABLE, STL, 0.38D X 0.62W, 1HOLE (Tennant Industrial |
$5.67
|
2 |
|
usually ships 1-5 days |
10 |
475-9108
|
HOSE, FUEL, 0.31ID, 06.0L (Tennant Industrial) |
$8.52
|
1 |
|
usually ships 10-13 days |
11 |
175-3594
|
Hose clamp |
$5.28
|
4 |
|
usually ships 10-13 days |
12a |
375-1912
|
Fuelline tube (OBSOLETE) |
Call for price
|
1 |
(diesel) |
usually ships 10-13 days |
12b |
375-1913
|
Fuelline tube (OBSOLETE) |
Call for price
|
1 |
(gas) |
usually ships 10-13 days |
13 |
375-1914
|
Rubber hose (OBSOLETE) |
Call for price
|
1 |
(disel) |
usually ships 10-13 days |
14 |
275-2873
|
FITTING, BRS, E90, IF03/PM02 (Tennant Industrial) |
$7.17
|
1 |
(disel) |
usually ships 1-5 days |
15 |
575-5141
|
FUELLINE, .19D 05IF/BEA, STL (Tennant Industrial) |
$40.25
|
1 |
(disel) |
usually ships 10-13 days |
16 |
175-3170
|
P clamp |
$4.22
|
1 |
(disel) |
ships same day |
17 |
375-1915
|
Fuel pump mounting bracket (OBSOLETE) |
Call for price
|
1 |
|
usually ships 10-13 days |
18a |
175-6861
|
Fuel filter (Tennant Industrial) |
$53.98
|
1 |
(includes 18b) (diesel) |
ships same day |
18b |
275-6392
|
Filter element (Tennant Industrial) |
$35.51
|
1 |
(disel) |
ships same day |
18c |
375-3772
|
Fuel filter (Tennant Industrial) |
$31.17
|
1 |
(gas) |
usually ships 10-13 days |
19 |
175-6857
|
FITTING, BRS, E90, IF05/PM04 (Tennant Industrial) |
$9.84
|
1 |
(disel) |
usually ships 1-5 days |
20 |
275-0308
|
FITTING, HYD, STR, PF02/PM04 (Tennant Industrial) |
$12.50
|
1 |
(disel) |
usually ships 1-5 days |
21 |
375-3546
|
Fitting (Tennant Industrial) |
$12.50
|
1 |
(disel) |
usually ships 10-13 days |
22 |
675-4917
|
PUMP KIT, FUEL, F/59945, REPLMT (Tennant Industrial) |
$569.95
|
1 |
|
usually ships 10-13 days |
23 |
375-1916
|
Spacer plate (OBSOLETE) |
Call for price
|
1 |
(disel) |
usually ships 10-13 days |
24 |
275-2862
|
FITTING, BRS, STR, IF05/PM02 (Tennant Industrial) |
$6.67
|
1 |
|
usually ships 10-13 days |
25 |
375-1917
|
Fuelline (OBSOLETE) |
Call for price
|
1 |
(disel) |
usually ships 10-13 days |
26 |
175-6865
|
HOSE, 0050, 04, IF05STR / IM05STR, 10.0 (Tennant Industrial |
$87.02
|
1 |
|
usually ships 10-13 days |
27 |
275-2862
|
FITTING, BRS, STR, IF05/PM02 (Tennant Industrial) |
$6.67
|
1 |
(disel) |
usually ships 10-13 days |
28 |
675-0302
|
FITTING, BANJO, FUEL (Tennant Industrial) (OBSOLETE) |
$126.75
|
1 |
(disel) |
usually ships 10-13 days |
29 |
375-0825
|
1 hole cable clamp (Tennant Industrial) |
$23.50
|
1 |
|
usually ships 1-5 days |
N/S |
275-0336
|
90 degree elbow pipe fitting |
$6.49
|
1 |
(gas) |
usually ships 1-5 days |