| # | Part | Description | Price | Req | Notes | Availability |
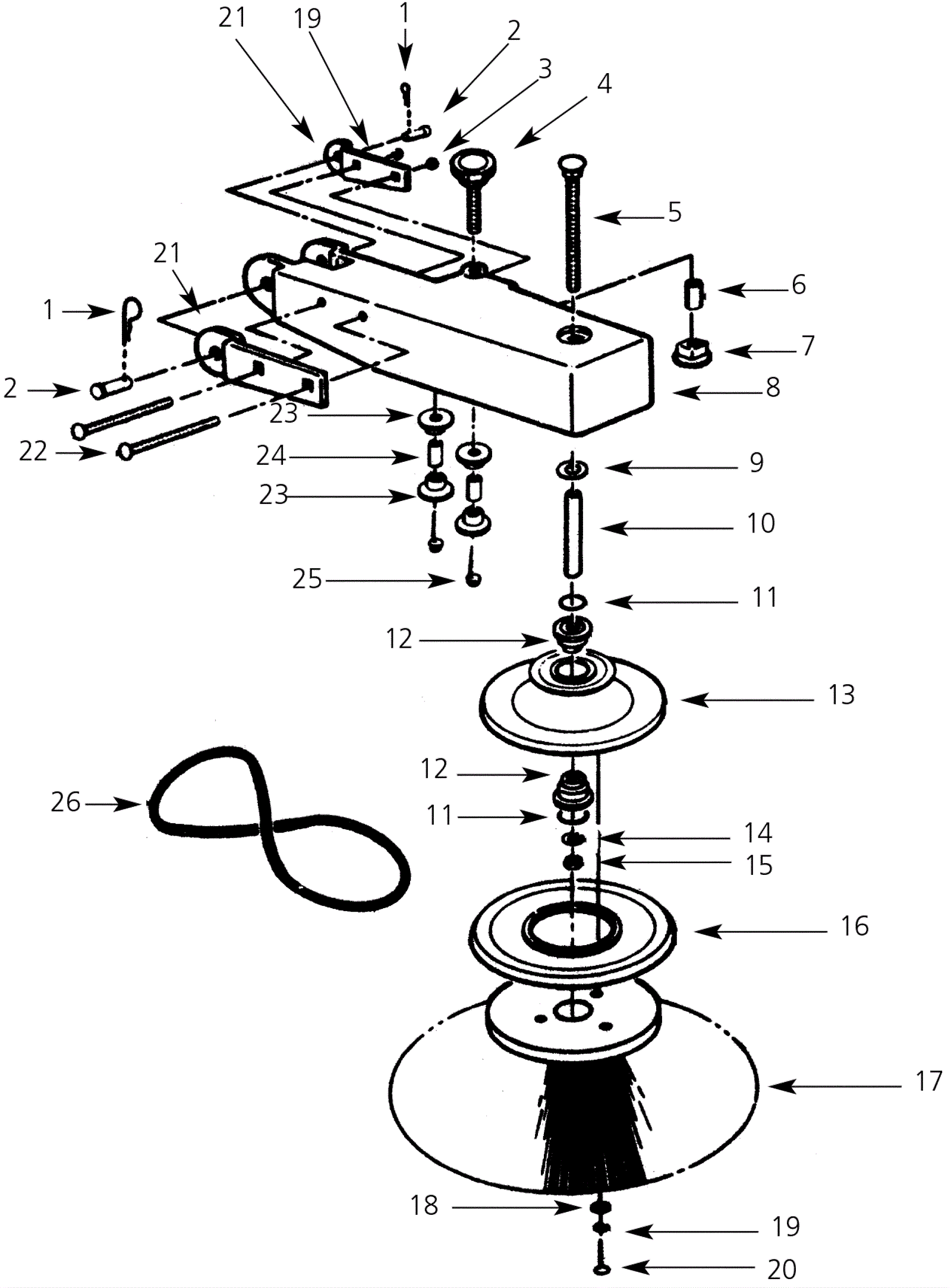
1 |
475-9088
|
PIN, COTTER, HAIR (Tennant Industrial) |
$16.20
|
2 |
|
usually ships 10-13 days |
2 |
475-9089
|
VR, PIN, CLEVIS (Tennant Industrial) |
$17.67
|
2 |
|
usually ships 10-13 days |
3 |
175-1131
|
Nut 1/4-20 |
$3.17
|
1 |
|
usually ships 1-5 days |
4 |
575-1993
|
KNOB, SQUARE [110] (Tennant Industrial) |
$15.70
|
1 |
|
usually ships 10-13 days |
5 |
375-1759
|
Bolt 3/8-16 x 4 inch round head |
Call for price
|
1 |
|
usually ships 10-13 days |
6 |
475-9430
|
INSERT, THRD (Tennant Industrial) |
$5.01
|
1 |
|
usually ships 10-13 days |
7 |
475-9431
|
FOOT, STOP ADJUSTMENT (Tennant Industrial) |
$5.01
|
1 |
|
usually ships 10-13 days |
8 |
475-2052
|
ARM, BROOM, SIDE, GRAY [110 / SCOUT 27] |
$108.13
|
1 |
|
usually ships 10-13 days |
9 |
999-0114
|
Washer 1/2 SAE flat |
$0.99
|
1 |
|
ships same day |
10 |
475-9879
|
SHAFT (Tennant Industrial) |
$6.35
|
1 |
|
usually ships 10-13 days |
11 |
475-9722
|
VR, SEAL, ORG (Tennant Industrial) |
$16.53
|
2 |
|
usually ships 10-13 days |
12 |
475-1298
|
VR, BEARING |
$66.11
|
2 |
|
usually ships 10-13 days |
13 |
575-3610
|
COVER, SIDE BROOM (Tennant Industrial) |
$76.65
|
1 |
|
usually ships 10-13 days |
14 |
999-0671
|
Washer M10 split lock plain finish |
$0.99
|
1 |
|
ships same day |
15 |
999-0170
|
Nut 3/8-16 hex plain finish |
$0.99
|
1 |
|
ships same day |
16 |
575-2821
|
BUMPER, SIDE BROOM (Tennant Industrial) |
$76.65
|
1 |
|
usually ships 10-13 days |
17 |
475-3823
|
BRUSH, DISK, SWP, 13.0D, PYP |
$203.06
|
1 |
|
usually ships 10-13 days |
18 |
175-1383
|
Washer #6 flat nylon (OBSOLETE) |
$1.45
|
3 |
|
usually ships 1-5 days |
19 |
999-0632
|
Washer 1/4 split lock stainless steel |
$0.99
|
3 |
|
ships same day |
20 |
999-1077
|
Screw 1/4-20 x 1/2 truss head phillips stainless steel |
$2.24
|
3 |
|
ships same day |
21 |
575-3578
|
VR, BRACKET (Tennant Industrial) |
$26.22
|
2 |
|
usually ships 10-13 days |
22 |
999-0607
|
Screw 1/4-20 x 3 carriage head stainless steel |
$3.30
|
2 |
|
ships same day |
23 |
475-9432
|
GUIDE, BELT (Tennant Industrial) |
$12.69
|
4 |
|
usually ships 10-13 days |
24 |
475-8576
|
SPACER (Tennant Industrial) |
$3.40
|
2 |
|
usually ships 10-13 days |
25 |
175-1271
|
Screw 1/4-20 x 1 1/2 |
$4.36
|
2 |
|
usually ships 1-5 days |
26 |
475-3582
|
VR, BELT (OBSOLETE) |
$127.60
|
1 |
|
usually ships 10-13 days |