385
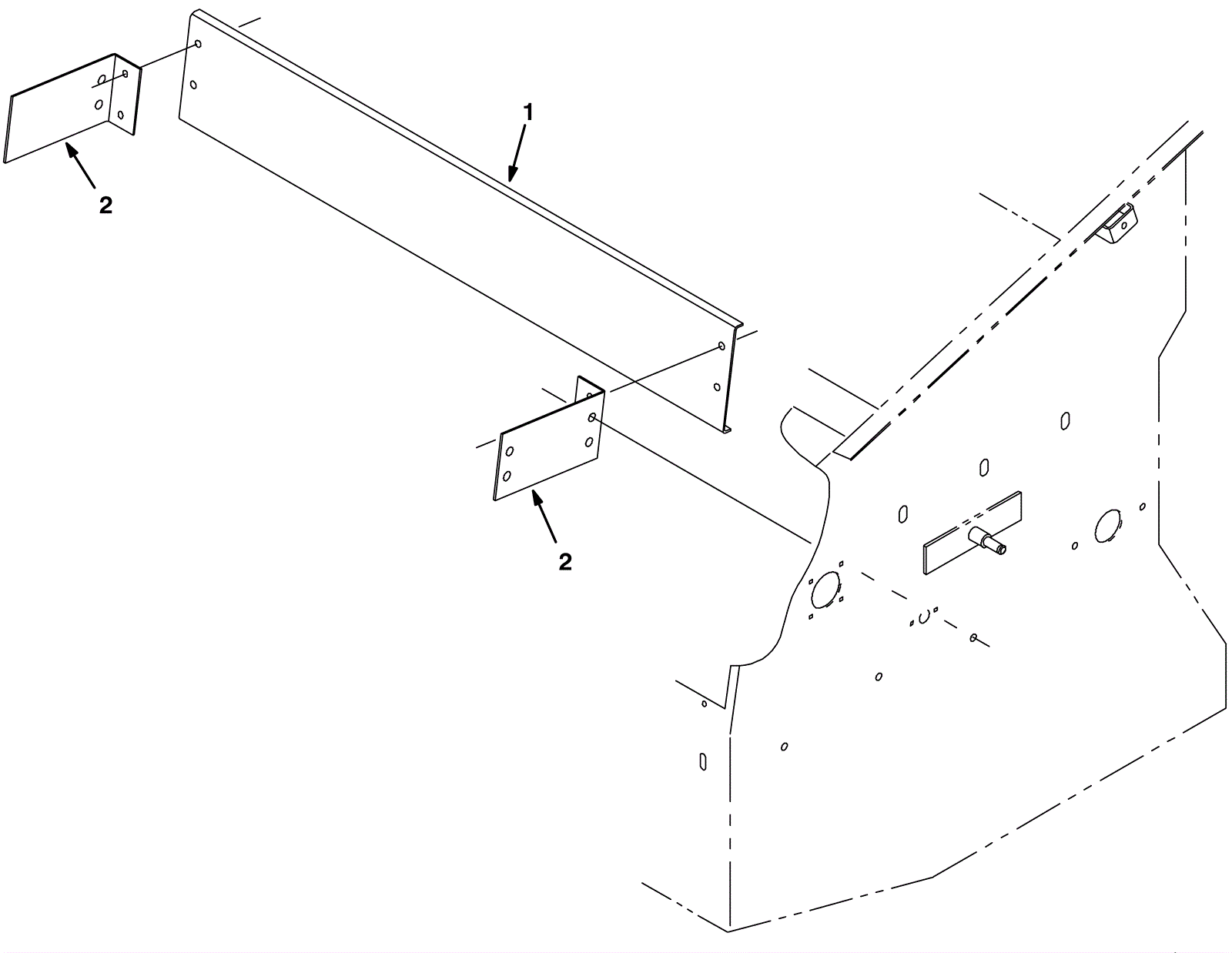
Auxiliary Side Brush Hopper Deflector Assembly
Click to enlarge
#
Part
Description
Price
Req
Notes
Availability
1
375-1801
Deflector plate (OBSOLETE)
Call for price
1
usually ships 10-13 days
2
675-5241
BRACKET, DEFLECTOR (Tennant Industrial)
$680.19
2
usually ships 10-13 days