| # | Part | Description | Price | Req | Notes | Availability |
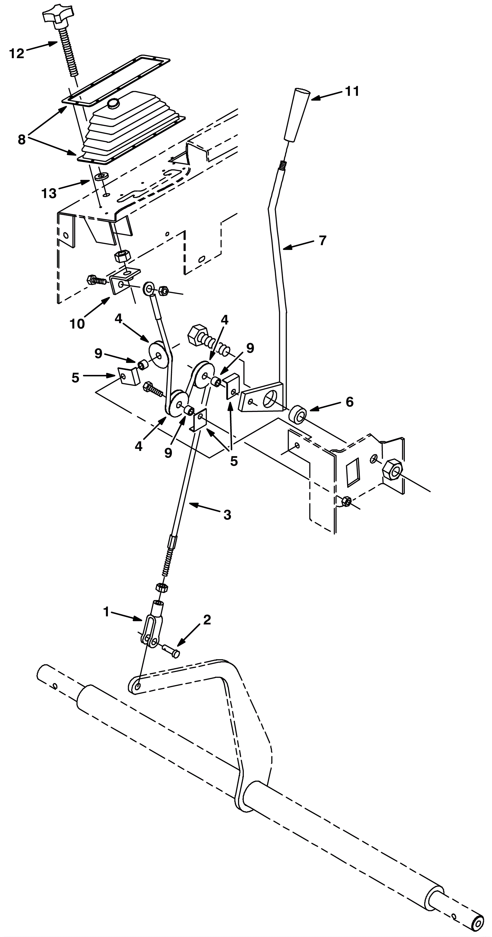
1 |
275-0158
|
CLEVIS, ADJ, 0.38PIN, M10X1.5 (Tennant Industrial) |
$22.50
|
1 |
|
usually ships 10-13 days |
2 |
275-2753
|
PIN, CLEVIS, 0.38D X 1.13L (Tennant Industrial) |
$6.67
|
1 |
|
usually ships 10-13 days |
3 |
575-8165
|
CABLE, GLV .19D 025.0L .38EYE/ M10-1.5 (OBSOLETE) |
$134.10
|
1 |
|
usually ships 10-13 days |
4 |
275-0912
|
Pulley |
$27.50
|
3 |
|
usually ships 1-5 days |
5 |
275-0058
|
Cable keeper angle bracket |
$8.14
|
3 |
|
usually ships 1-5 days |
6 |
575-4003
|
BEARING, SELF ALIGN, 0.79B 1.38D (Tennant Industrial) |
$56.34
|
1 |
|
usually ships 10-13 days |
7 |
375-2162
|
Lift brush main handle |
$612.39
|
1 |
|
usually ships 10-13 days |
8 |
675-0298
|
BELLOWS ASSY, LIFT, BRUSH (Tennant Industrial) |
$183.04
|
1 |
|
usually ships 10-13 days |
9 |
175-2249
|
Sleeve |
$4.22
|
3 |
|
ships same day |
10 |
575-6383
|
BRACKET, ADJ, LIFT, BRUSH [M10] (OBSOLETE) |
$94.36
|
1 |
|
usually ships 10-13 days |
11 |
275-8476
|
KNOB, 1.12D 3.86L M10 X 1.5, PLSTC TPR] (Tennant Industrial |
$22.84
|
1 |
|
usually ships 10-13 days |
12 |
575-8603
|
KNOB, STAR, 1.97D 4EAR 5.5L M10X1.5 (Tennant Industrial) |
$157.03
|
1 |
|
usually ships 10-13 days |
13 |
475-8821
|
WASHER, FLAT, 0.40B 0.81D .06, NYL (Tennant Industrial) |
$5.67
|
1 |
|
usually ships 10-13 days |