| # | Part | Description | Price | Req | Notes | Availability |
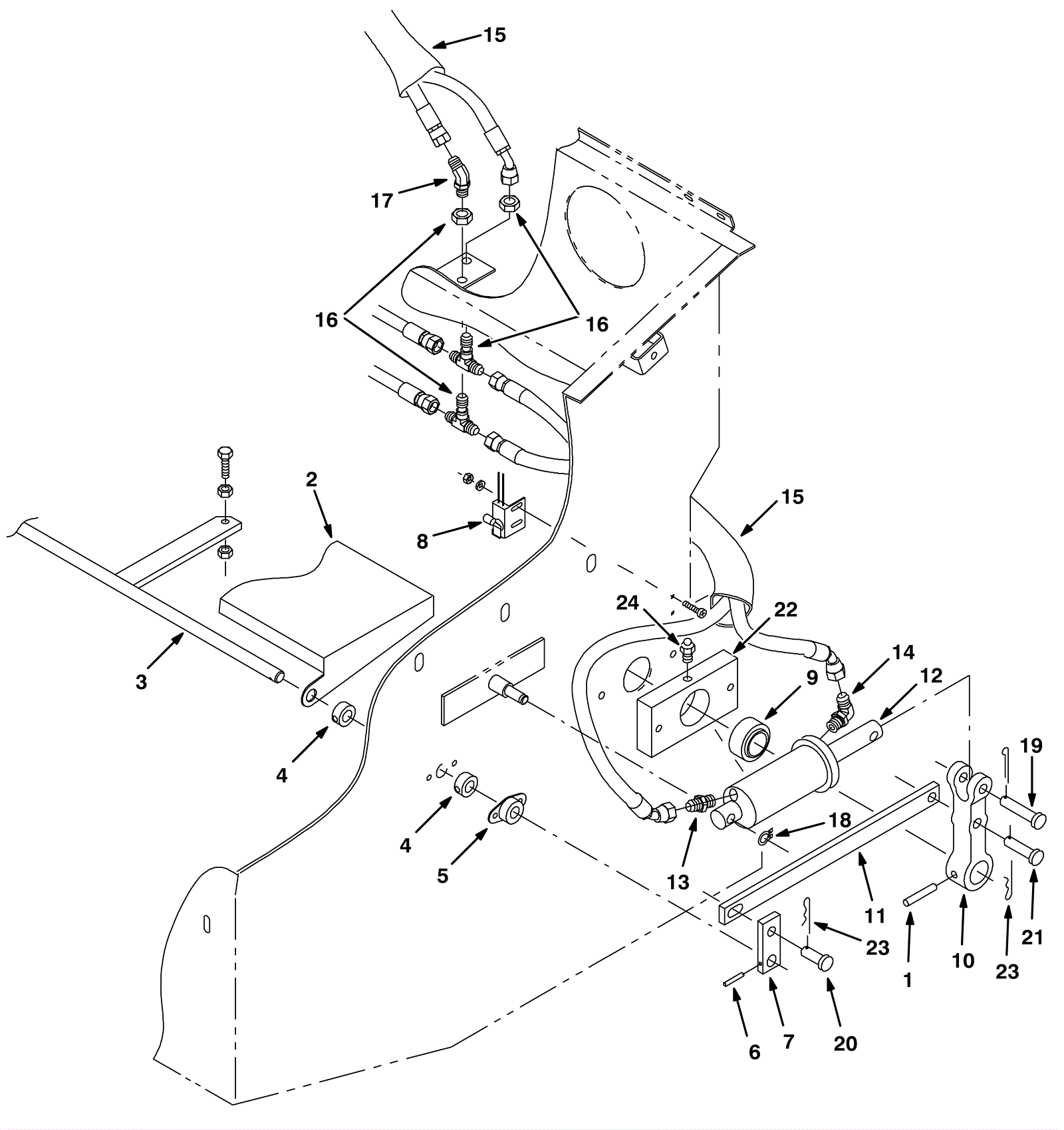
1 |
175-9781
|
Roll pin 3/8d x 2l .375/.382 |
$4.49
|
2 |
|
usually ships 1-5 days |
2 |
675-3513
|
DOOR, DUST, HPPR (Tennant Industrial) |
$501.17
|
1 |
|
usually ships 10-13 days |
3 |
675-3933
|
SHAFT ASSY, DOOR, DUST, HPPR (Tennant Industrial) |
$565.46
|
1 |
|
usually ships 10-13 days |
4 |
475-9999
|
COLLAR, 1.12D 0.62B 0.5L 1/.31-18 (Tennant Industrial) |
$12.69
|
4 |
|
usually ships 10-13 days |
5 |
475-9656
|
BEARING, FLNG, 2HOLE, 0.63B (Tennant Industrial) |
$12.69
|
2 |
|
usually ships 10-13 days |
6 |
275-1737
|
PIN, ROLL, .187D X 1.25L, .187/.192 (Tennant Industrial) |
$4.00
|
2 |
|
usually ships 1-5 days |
7 |
575-7324
|
ARM, LINK, .38 3.0L 0.6H /0.5H (Tennant Industrial) |
$112.89
|
2 |
|
usually ships 10-13 days |
8 |
275-0140
|
Roller snap switch 15A no |
$143.77
|
1 |
|
usually ships 10-13 days |
9 |
275-2505
|
Self align bearing (Tennant Industrial) |
$85.35
|
2 |
|
usually ships 1-5 days |
10 |
675-1082
|
ARM, DOOR, DUMP, MACH (Tennant Industrial) |
$177.86
|
2 |
|
usually ships 10-13 days |
11 |
575-6889
|
LINK, 0.38, 1.0W 14.7L, 1/0.5H 1/0.5SL (Tennant Industrial) |
$100.70
|
2 |
|
usually ships 10-13 days |
12 |
175-6917
|
Cylinder (Tennant Industrial) |
$364.91
|
2 |
|
usually ships 10-13 days |
13 |
175-8098
|
FITTING, HYD, STR, JM04/OM04 (Tennant Industrial) |
$9.84
|
2 |
|
usually ships 1-5 days |
14 |
175-6919
|
Elbow fitting |
$15.40
|
2 |
|
usually ships 10-13 days |
15 |
575-1744
|
SLEEVE, NYL, 1.22ID 20.0L (Tennant Industrial) |
$21.50
|
3 |
|
usually ships 10-13 days |
16 |
575-6500
|
FITTING, HYD, TEE, JM04/JM04/JM04,BH BR (Tennant Industrial) |
$75.02
|
2 |
|
usually ships 10-13 days |
17 |
575-1733
|
FITTING, HYD, E45, JF04/JM04 (Tennant Industrial) |
$28.01
|
1 |
|
usually ships 10-13 days |
18 |
475-8321
|
RING, RETAINING, EXT, 0.50D, [SELFLOCK] (Tennant Industrial) |
$22.34
|
2 |
|
usually ships 10-13 days |
19 |
175-9603
|
Clevis pin |
$5.28
|
2 |
|
usually ships 10-13 days |
20 |
275-0032
|
Clevis pin |
$5.28
|
2 |
|
usually ships 1-5 days |
21 |
175-2382
|
Clevis pin |
$5.50
|
2 |
|
usually ships 10-13 days |
22 |
675-0739
|
HOUSING, BRG, PIVOT, DOOR, DUST (Tennant Industrial) |
$260.39
|
2 |
|
usually ships 10-13 days |
23 |
175-2117
|
Cotter pin |
$5.28
|
4 |
|
usually ships 10-13 days |
24 |
175-6778
|
FITTING, GREASE, STR PM04 .63L (Tennant Industrial) |
$9.50
|
2 |
|
usually ships 10-13 days |