| # | Part | Description | Price | Req | Notes | Availability |
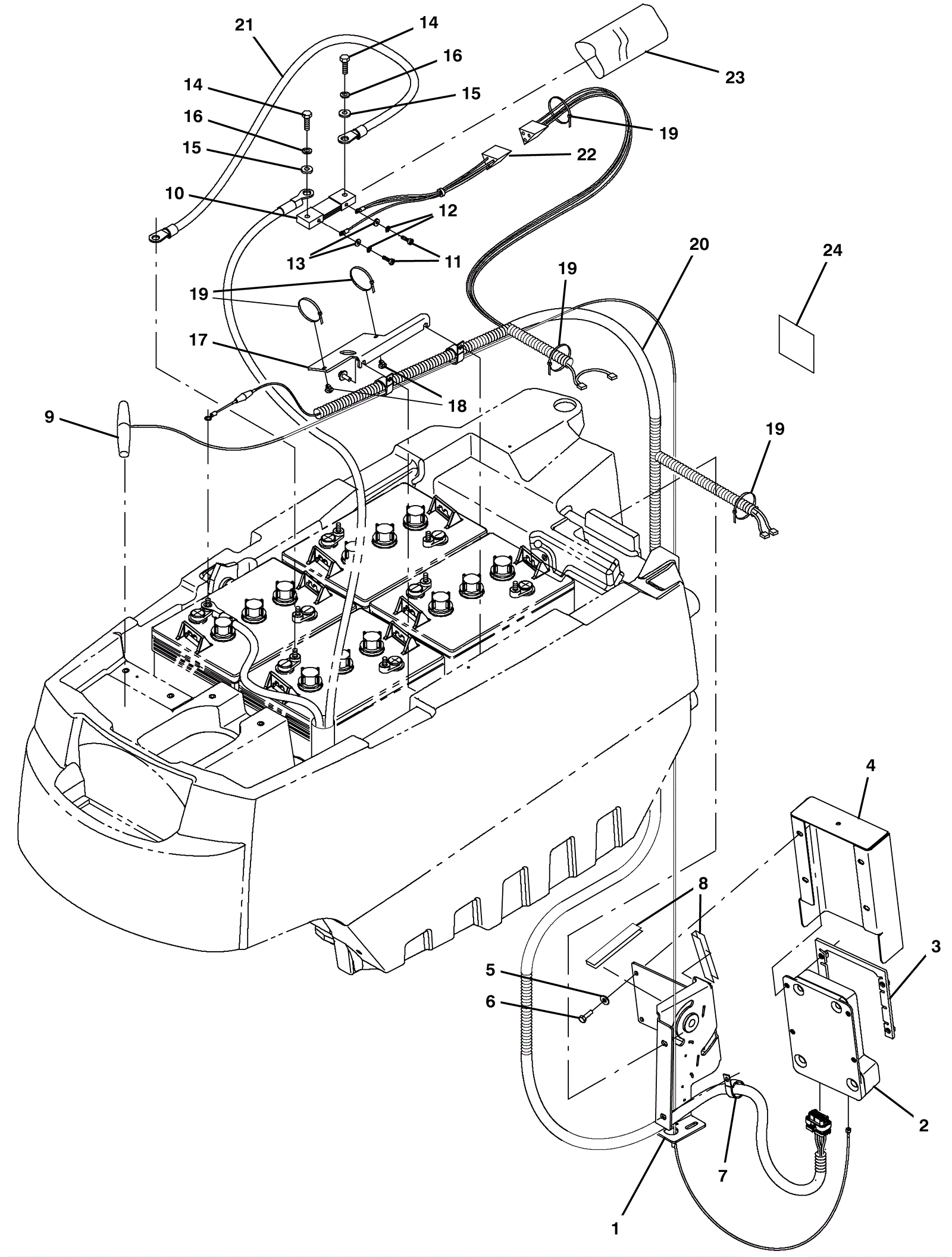
1 |
375-1307
|
Lift weldment bracket |
$224.07
|
1 |
|
usually ships 1-5 days |
2 |
275-2615
|
Telemetry control box assembly kit |
$1,416.91
|
1 |
|
usually ships 1-5 days |
3 |
375-1308
|
Control box guard weldment |
$49.83
|
1 |
|
usually ships 1-5 days |
4 |
375-1309
|
Guard cover |
$93.28
|
4 |
|
usually ships 1-5 days |
5 |
999-0016
|
Washer 1/4 flat plain finish |
$0.99
|
4 |
|
ships same day |
6 |
999-0502
|
Bolt M6-1 x 20mm hex head full thread zinc |
$0.99
|
1 |
|
ships same day |
7 |
175-4629
|
P clamp |
$4.36
|
1 |
|
usually ships 10-13 days |
8 |
175-8827
|
Foam gasket |
$27.06
|
2 |
|
ships same day |
9 |
275-7897
|
Antenna |
$66.33
|
1 |
|
usually ships 1-5 days |
10 |
375-1151
|
Shunt |
$124.96
|
1 |
|
usually ships 1-5 days |
11 |
175-3370
|
Screw M4-.7 x 8mm pan head stainless steel |
$3.30
|
2 |
|
usually ships 10-13 days |
12 |
999-1083
|
Washer #8 internal star lock stainless steel |
$0.99
|
2 |
|
ships same day |
13 |
999-1158
|
Washer #6 flat stainless steel |
$0.99
|
2 |
|
ships same day |
14 |
999-0784
|
Screw M8-1.25 x 16mm hex head stainless steel |
$1.74
|
2 |
|
ships same day |
15 |
999-9097
|
Washer M8 flat stainless steel |
$0.99
|
2 |
|
ships same day |
16 |
999-1053
|
Washer 5/16 internal star lock stainless steel |
$0.99
|
2 |
|
ships same day |
17 |
375-1310
|
Shunt bracket |
$19.14
|
1 |
|
usually ships 1-5 days |
18 |
275-7625
|
Plastic clip |
$1.98
|
2 |
|
usually ships 1-5 days |
19 |
175-7795
|
Cable tie |
$5.15
|
10 |
|
ships same day |
20a |
375-1304
|
Telemetry wire harness |
$176.22
|
1 |
(Includes 20b) |
usually ships 1-5 days |
20b |
275-7904
|
Fuse (Tennant Industrial) |
$2.17
|
1 |
|
usually ships 10-13 days |
21 |
998-0010
|
Battery jumper cable - ring type (red) |
$6.06
|
1 |
|
ships same day |
22 |
375-1154
|
Shunt wiring harness |
$14.30
|
1 |
|
usually ships 10-13 days |
23 |
375-1155
|
Heatshrink sleeve |
$3.30
|
1 |
|
usually ships 1-5 days |
24 |
275-7899
|
Telemetry decal |
$74.14
|
1 |
|
usually ships 1-5 days |