T5 E
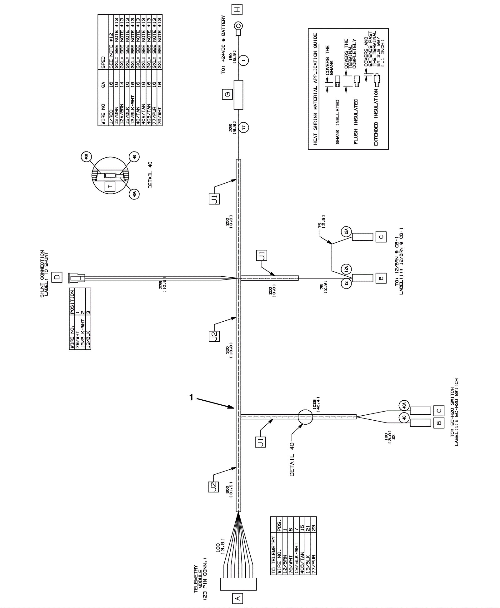
Wire Harness Group - Telemetry
Click to enlarge
#
Part
Description
Price
Req
Notes
Availability
1a
375-1304
Telemetry wire harness
$176.22
1
(Includes 1b)
usually ships 1-5 days
1b
275-7904
Fuse (Tennant Industrial)
$2.17
1
usually ships 10-13 days