| # | Part | Description | Price | Req | Notes | Availability |
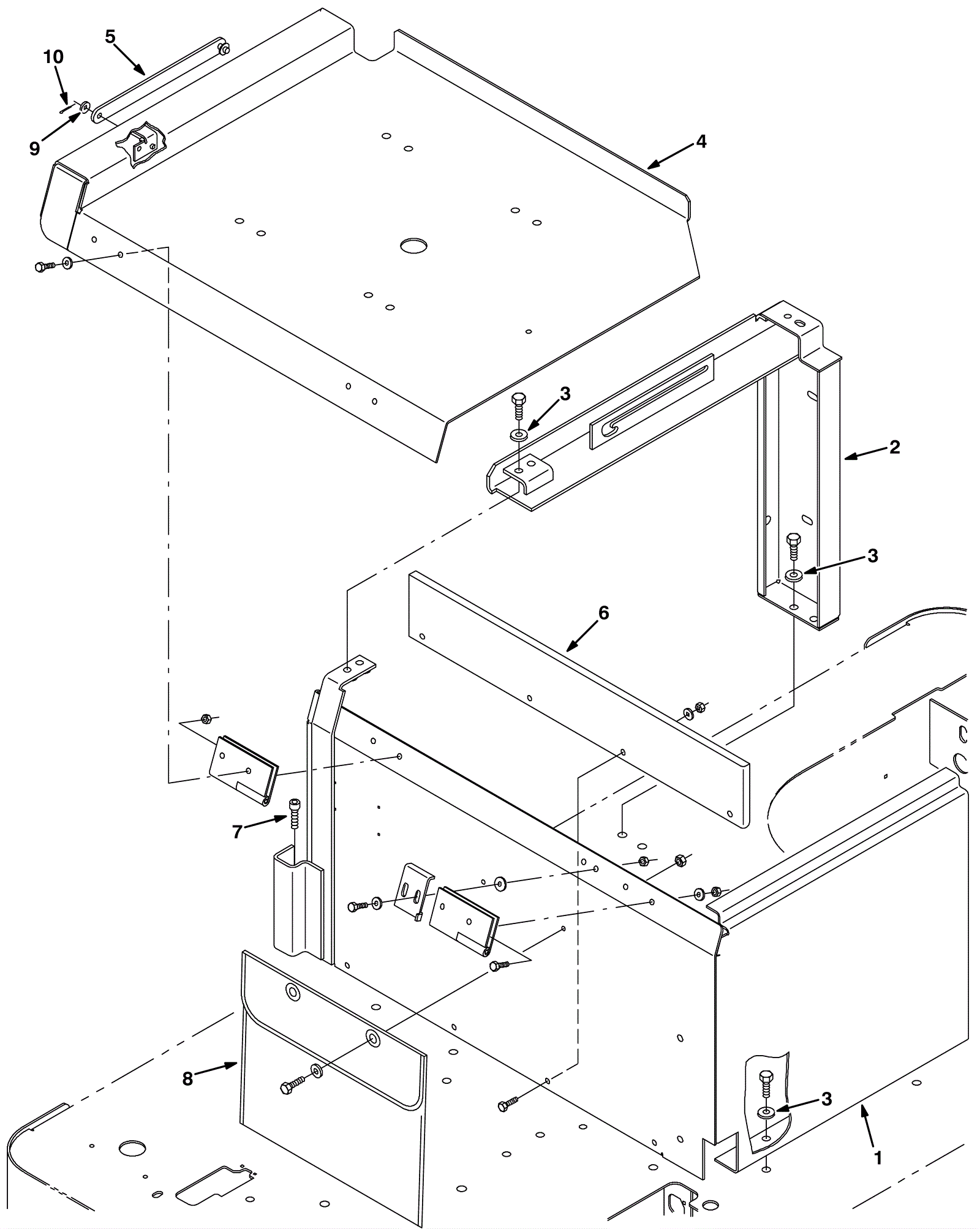
1 |
275-7211
|
Seat support weldment (Tennant Industrial) |
$527.72
|
1 |
|
usually ships 1-5 days |
2 |
275-7212
|
Seat brace weldment (Tennant Industrial) |
$335.67
|
1 |
|
usually ships 1-5 days |
3 |
999-9097
|
Washer M8 flat stainless steel |
$0.99
|
8 |
|
ships same day |
4 |
275-7213
|
Seat pan (Tennant Industrial) |
$350.70
|
1 |
|
usually ships 1-5 days |
5 |
175-9793
|
Seat safety arm weldment |
$29.15
|
1 |
|
usually ships 1-5 days |
6 |
175-9794
|
HDPE plate 1/2 x 4 x 25 |
$70.51
|
1 |
|
usually ships 1-5 days |
7 |
175-9795
|
Screw M8-1.25 x 30 socket head 12.9 aluminum |
$4.22
|
1 |
|
usually ships 1-5 days |
8 |
175-9796
|
Pouch |
$34.87
|
1 |
|
usually ships 1-5 days |
9 |
999-0016
|
Washer 1/4 flat plain finish |
$0.99
|
1 |
|
ships same day |
10 |
175-6176
|
Cotter pin |
$3.30
|
1 |
|
ships same day |