| # | Part | Description | Price | Req | Notes | Availability |
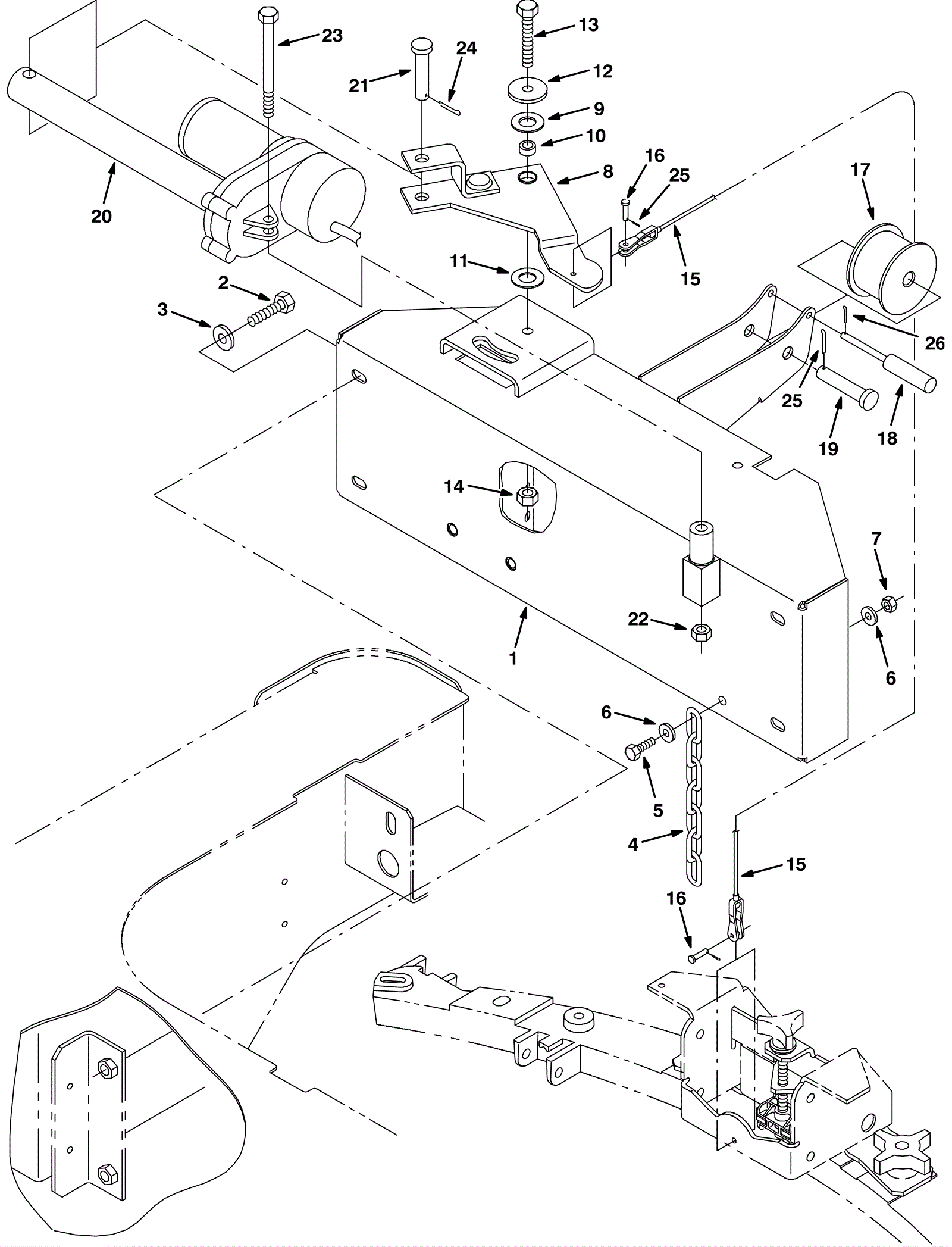
1 |
175-9598
|
CHANNEL WLDT, MTG, SQGE (Tennant Industrial) |
$813.83
|
1 |
|
usually ships 1-5 days |
2a |
999-1372
|
Bolt M10-1.5 x 25mm hex head stainless steel |
$3.56
|
4 |
(diesel) |
ships same day |
2b |
999-0775
|
Screw M10-1.5 x 40mm hex head stainless steel |
$5.50
|
4 |
(gas/lpg) |
ships same day |
3 |
999-0355
|
Washer 3/8 x 7/8 SAE flat stainless steel |
$0.99
|
4 |
|
ships same day |
4 |
175-5303
|
Coil link chain |
$8.25
|
1 |
|
usually ships 1-5 days |
5 |
999-0785
|
Screw M8-1.25 x 30mm hex head stainless steel |
$2.24
|
1 |
|
ships same day |
6 |
999-0355
|
Washer 3/8 x 7/8 SAE flat stainless steel |
$0.99
|
2 |
|
ships same day |
7 |
999-0496
|
Nut M8-1.25 nylon insert lock stainless steel |
$1.98
|
1 |
|
ships same day |
8 |
175-9599
|
Rear squeegee lift bellcrank weldment |
$275.88
|
1 |
|
usually ships 1-5 days |
9 |
175-3347
|
Washer .61 thrust |
$5.50
|
1 |
|
usually ships 10-13 days |
10 |
175-0796
|
Sleeve |
$20.02
|
1 |
|
usually ships 10-13 days |
11 |
175-0784
|
Thrust bearing |
$11.77
|
1 |
|
usually ships 10-13 days |
12 |
175-0797
|
Washer flat |
$5.28
|
1 |
|
usually ships 1-5 days |
13 |
175-0792
|
Bolt M10-1.5 x 60mm hex head stainless steel |
$7.37
|
1 |
|
usually ships 10-13 days |
14 |
999-1120
|
Nut M10-1.5 nylon insert lock stainless steel |
$4.27
|
1 |
|
ships same day |
15 |
175-9600
|
Squeegee cable |
$92.84
|
1 |
|
usually ships 10-13 days |
16 |
175-0801
|
Clevis pin |
$4.49
|
2 |
|
usually ships 10-13 days |
17 |
175-0798
|
DRUM, CABLE, LIFT (Tennant Industrial) |
$22.84
|
1 |
|
usually ships 10-13 days |
18 |
175-9601
|
Clevis pin |
$43.01
|
1 |
|
usually ships 1-5 days |
19 |
175-0716
|
Clevis pin |
$5.28
|
1 |
|
usually ships 10-13 days |
20 |
175-9602
|
36 volt actuator |
$748.88
|
1 |
|
usually ships 10-13 days |
21 |
175-9603
|
Clevis pin |
$5.28
|
1 |
|
usually ships 10-13 days |
22 |
999-0324
|
Nut 3/8-16 nylon insert lock jam zinc plated |
$0.99
|
1 |
|
ships same day |
23 |
275-4673
|
SCREW, HEX, .38-16 X 4.50, G5 (Tennant Industrial) |
$5.67
|
1 |
|
usually ships 1-5 days |
24 |
175-4986
|
Cotter pin |
$3.30
|
1 |
|
usually ships 10-13 days |
25 |
175-6176
|
Cotter pin |
$3.30
|
2 |
|
ships same day |
26 |
175-2361
|
Cotter pin |
$3.30
|
1 |
|
ships same day |