T5 E
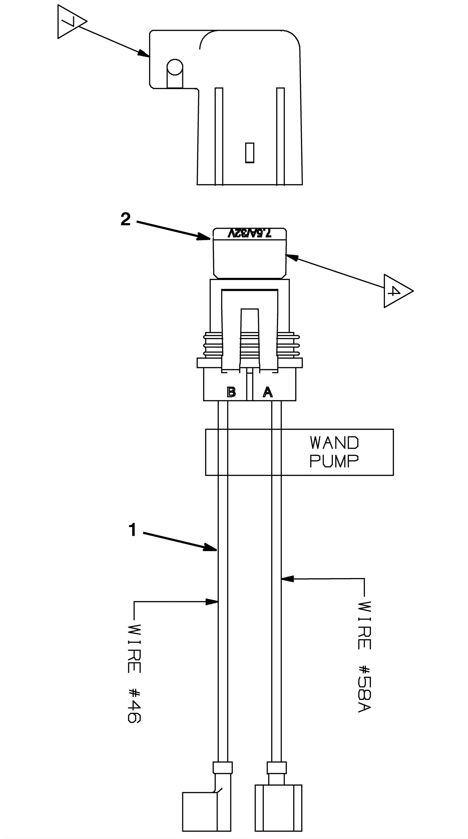
Wire Harness Group - Wand option
Click to enlarge
#
Part
Description
Price
Req
Notes
Availability
1
275-4727
Wand harness
$26.84
1
(Includes item 2)
usually ships 1-5 days
2
175-7875
7.5amp fuse
$4.88
1
usually ships 10-13 days