| # | Part | Description | Price | Req | Notes | Availability |
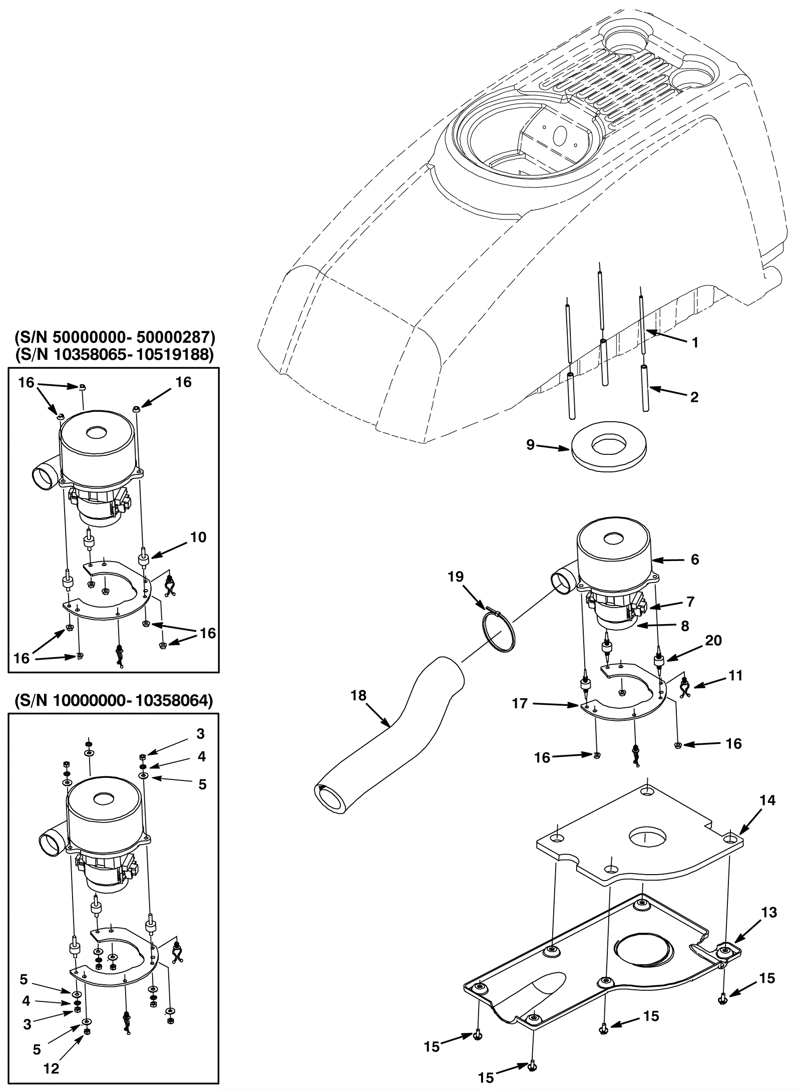
1 |
175-7788
|
Rod M6-1 x 5.5mm full thread |
$5.28
|
3 |
|
ships same day |
2 |
275-1375
|
Steel tube |
$19.47
|
3 |
|
ships same day |
3 |
999-1308
|
Nut M6-1 hex stainless steel |
$0.99
|
6 |
(Serial number 10000000-10358064) |
ships same day |
4 |
175-4544
|
Washer M6 locking |
$4.49
|
6 |
(Serial number 10000000-10358064) |
ships same day |
5 |
999-0335
|
Washer 1/4 x 5/8 SAE flat stainless steel |
$0.99
|
9 |
(Serial number 10000000-10358064) |
ships same day |
6a |
175-4245
|
24V 3 stage vacuum motor |
$424.82
|
1 |
(OEM) |
usually ships 1-5 days |
6b |
991-1210-D
|
24V 3 stage vacuum motor tangential with Delphi plug |
$192.50
|
1 |
(NON-OEM) |
ships same day |
7a |
175-2658
|
Carbon brush (pkg of 2) |
$38.94
|
1 |
(Serial number 10000000-20000000, and 30000000-40000000) |
ships same day |
7b |
175-2658
|
Carbon brush (pkg of 2) |
$38.94
|
1 |
(Serial number 50000000-60000000) |
ships same day |
8 |
991-1220
|
Plastic fan cover (for plastic covered brushes) |
$19.11
|
1 |
|
ships same day |
9 |
175-6085
|
Gasket |
$10.89
|
1 |
|
ships same day |
10 |
675-9898
|
Vibration isolator |
$13.75
|
3 |
(Serial number 10000000-10519188, and 50000000-50000287) |
ships same day |
11 |
175-2095
|
Keeper clip |
$4.22
|
2 |
|
usually ships 10-13 days |
12 |
999-0497
|
Nut M6-1 nylon insert lock stainless steel |
$0.99
|
3 |
(Serial number 10000000-10358064) |
ships same day |
13 |
175-2874
|
Vac noise cover |
$109.23
|
1 |
|
usually ships 10-13 days |
14 |
275-1379
|
Foam insulator pad |
$26.18
|
1 |
|
ships same day |
15 |
999-1383
|
Screw M6-1 x 16mm hex head stainless steel |
$3.96
|
6 |
|
ships same day |
16a |
275-5085
|
Nut M6-1 x 16 hex head stainless steel |
$3.30
|
3 |
(Serial number 10519189-20000000, 30000000-40000000 and 50000288-60000000) |
ships same day |
16b |
275-5085
|
Nut M6-1 x 16 hex head stainless steel |
$3.30
|
9 |
(Serial number 10358065-10519188, and 50000000-50000287) |
ships same day |
17 |
275-1380
|
Mounting bracket |
$55.00
|
1 |
|
ships same day |
18 |
175-3401
|
Vacuum motor exhaust hose |
$77.77
|
1 |
|
ships same day |
19 |
175-7795
|
Cable tie |
$5.15
|
1 |
|
ships same day |
20 |
275-9897
|
Isolator |
$5.28
|
3 |
(Serial number 10519189-20000000, 30000000-40000000, and 50000000-60000000) |
ships same day |