| # | Part | Description | Price | Req | Notes | Availability |
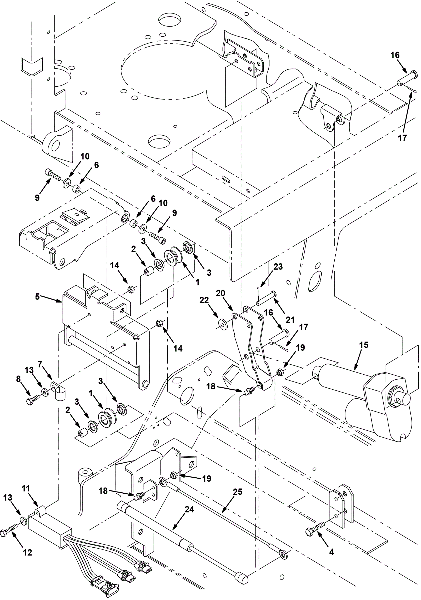
1 |
175-0753
|
ROLLER, V-GROOVE, 1.5D 0.72B 0.8L [STL] (Tennant Industrial |
$65.85
|
2 |
|
usually ships 1-5 days |
2 |
175-2563
|
Sleeve |
$5.15
|
2 |
|
usually ships 10-13 days |
3 |
175-2099
|
Flanged bushing |
$10.01
|
4 |
|
usually ships 10-13 days |
4 |
175-2854
|
Screw M8-1.25 x 45mm hex head stainless steel |
$5.28
|
2 |
|
ships same day |
5 |
275-2570
|
Rail lift weldment (gray) (Tennant Industrial) |
$288.56
|
1 |
|
usually ships 1-5 days |
6 |
175-0755
|
Sleeve |
$6.05
|
2 |
|
usually ships 10-13 days |
7 |
175-3168
|
P clamp |
$5.28
|
1 |
|
usually ships 10-13 days |
8 |
999-1312
|
Screw M6-1 x 20mm hex head stainless steel |
$0.99
|
1 |
|
ships same day |
9 |
175-0602
|
Screw M8-1.25 x 25mm socket |
$4.49
|
2 |
|
usually ships 10-13 days |
10 |
999-0355
|
Washer 3/8 x 7/8 SAE flat stainless steel |
$0.99
|
2 |
|
ships same day |
11 |
175-0757
|
SHUNT, 2 HD MOTOR, RED [SCB 515] (Tennant Industrial) |
$509.44
|
1 |
|
usually ships 1-5 days |
12 |
175-0758
|
Bolt M6-1 x 40mm hex head stainless steel |
$4.49
|
2 |
|
usually ships 1-5 days |
13 |
999-0335
|
Washer 1/4 x 5/8 SAE flat stainless steel |
$0.99
|
3 |
|
ships same day |
14 |
999-0497
|
Nut M6-1 nylon insert lock stainless steel |
$0.99
|
3 |
|
ships same day |
15 |
175-0759
|
ACTUATOR, 36VDC, 02.7STRK, 500LB (Tennant Industrial) |
$1,106.22
|
1 |
|
usually ships 1-5 days |
16 |
175-2382
|
Clevis pin |
$5.50
|
2 |
|
usually ships 10-13 days |
17 |
175-3281
|
Cotter pin |
$3.30
|
2 |
|
usually ships 10-13 days |
18 |
175-0761
|
Gas spring ball stud |
$8.80
|
2 |
|
usually ships 10-13 days |
19 |
175-0762
|
NUT, RETAINER, .31-18 (Tennant Industrial) |
$25.01
|
2 |
|
usually ships 1-5 days |
20 |
275-9322
|
Side pivot arm weldment (gray) (Tennant Industrial) |
$150.03
|
1 |
|
usually ships 1-5 days |
21 |
173-1595
|
Clevis pin (OBSOLETE) |
$4.88
|
1 |
|
usually ships 10-13 days |
22 |
999-0355
|
Washer 3/8 x 7/8 SAE flat stainless steel |
$0.99
|
1 |
|
ships same day |
23 |
175-6176
|
Cotter pin |
$3.30
|
1 |
|
ships same day |
24 |
175-0765
|
Gas spring, 56lb, 6.3 stroke (Tennant Industrial) |
$170.70
|
1 |
|
usually ships 10-13 days |
25 |
175-0766
|
CABLE, GLV .13D 015.5L .50EYE /.50EYE (Tennant Industrial) |
$53.51
|
1 |
|
usually ships 1-5 days |