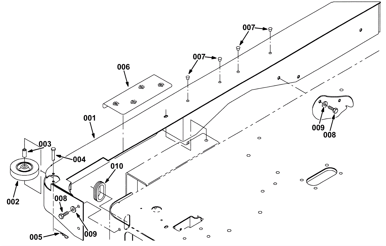
| # | Part | Description | Price | Req | Notes | Availability |
001 |
275-0161
|
Side bumper housing weldment |
$256.74
|
1 |
|
usually ships 1-5 days |
002 |
175-3156
|
Bumper wheel |
$16.61
|
1 |
|
usually ships 10-13 days |
003 |
175-3157
|
Sleeve .318 x .437 x 1.06 inch |
$7.04
|
1 |
|
usually ships 10-13 days |
004 |
275-0041
|
Clevis pin 5/16 x 1 3/4 inch |
$4.49
|
1 |
|
usually ships 1-5 days |
005 |
175-7107
|
Cotter hair pin |
$3.30
|
1 |
|
usually ships 10-13 days |
006 |
175-9743
|
Non-skid tread 10 x 4 1/2 |
$6.49
|
1 |
|
usually ships 10-13 days |
007 |
175-2359
|
Plug |
$4.49
|
4 |
|
usually ships 1-5 days |
008 |
999-0501
|
Bolt M8-1.25 x 25mm hex head full thread stainless steel |
$2.64
|
6 |
|
ships same day |
009 |
999-0024
|
Washer 5/16 flat stainless steel |
$1.34
|
6 |
|
ships same day |
010 |
175-2366
|
Rubber grommet |
$6.49
|
1 |
|
ships same day |