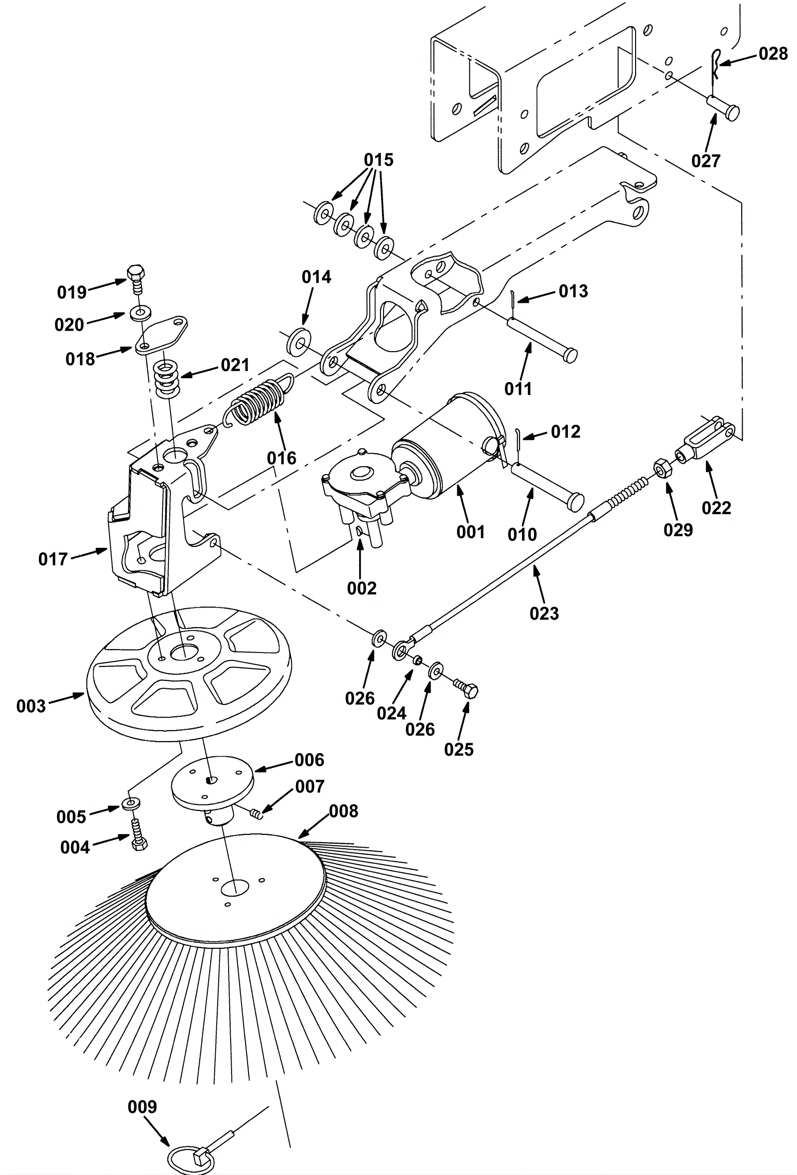
| # | Part | Description | Price | Req | Notes | Availability | 
          
            
            
                
                  
                  
                  
				       
				      001a | 
				      
                
                
                  
                
                
				275-0147
               | 
				      Right side electric motor 36VDC 67rpm (OBSOLETE) | 
				      
                $723.80
                | 
				      1 | 
				         | 
				      usually ships 10-13 days | 
				      
               
               
               
                
               
             
            
                
                  
                  
                  
				       
				      001b | 
				      
                
                
                  
                
                275-4684
				
               | 
				      MOTOR, ELE, 36VDC 0067RPM, GEAR  (Tennant Industrial) | 
				      
                $1,278.92
                | 
				      1 | 
				         | 
				      usually ships 1-5 days | 
				      
               
               
               
                
               
             
            
                
                  
                  
                  
				       
				      002 | 
				      
                
                
                  
                
                275-0148
				
               | 
				      Woodruff key 3mm 3.7mm | 
				      
                $14.85
                | 
				      1 | 
				         | 
				      usually ships 1-5 days | 
				      
               
               
               
                
               
             
            
                
                  
                  
                  
				       
				      003 | 
				      
                
                
                  
                
                275-0149
				
               | 
				      Brush bumper guard | 
				      
                $15.84
                | 
				      1 | 
				         | 
				      usually ships 1-5 days | 
				      
               
               
               
                
               
             
            
                
                  
                  
                  
				       
				      004 | 
				      
                
                
                  
                
                999-0518
				
               | 
				      Bolt M6-1 x 25mm hex head full thread zinc | 
				      
                $0.99
                | 
				      3 | 
				         | 
				      ships same day | 
				      
               
               
               
                
               
             
            
                
                  
                  
                  
				       
				      005 | 
				      
                
                
                  
                
                999-0123
				
               | 
				      Washer 1/4 SAE flat zinc plated | 
				      
                $0.99
                | 
				      3 | 
				         | 
				      ships same day | 
				      
               
               
               
                
               
             
            
                
                  
                  
                  
				       
				      006 | 
				      
                
                
                  
                
                275-0150
				
               | 
				      Side broom hub | 
				      
                $262.13
                | 
				      1 | 
				         | 
				      usually ships 1-5 days | 
				      
               
               
               
                
               
             
            
                
                  
                  
                  
				       
				      007 | 
				      
                
                
                  
                
                999-1413
				
               | 
				      Screw M6-1 x 8mm socket cup point set | 
				      
                $0.99
                | 
				      1 | 
				         | 
				      ships same day | 
				      
               
               
               
                
               
             
            
                
                  
                  
                  
				       
				      008 | 
				      
                
                
                  
                
                275-0151
				
               | 
				      Polypropylene sweeper disk brush assembly 17 1/2d | 
				      
                $172.48
                | 
				      1 | 
				         | 
				      usually ships 1-5 days | 
				      
               
               
               
                
               
             
            
                
                  
                  
                  
				       
				      009 | 
				      
                
                
                  
                
                275-0152
				
               | 
				      PIN, RETAINER  (Tennant Industrial) | 
				      
                $26.17
                | 
				      1 | 
				         | 
				      usually ships 1-5 days | 
				      
               
               
               
                
               
             
            
                
                  
                  
                  
				       
				      010 | 
				      
                
                
                  
                
                
				175-3280
               | 
				      Clevis pin | 
				      
                $6.49
                | 
				      1 | 
				         | 
				      usually ships 10-13 days | 
				      
               
               
               
                
               
             
            
                
                  
                  
                  
				       
				      011 | 
				      
                
                
                  
                
                275-0153
				
               | 
				      PIN, CLEVIS, 0.37D X 3.50L  (Tennant Industrial) | 
				      
                $5.00
                | 
				      1 | 
				         | 
				      usually ships 1-5 days | 
				      
               
               
               
                
               
             
            
                
                  
                  
                  
				       
				      012 | 
				      
                
                
                  
                
                
				175-3281
               | 
				      Cotter pin | 
				      
                $3.30
                | 
				      1 | 
				         | 
				      usually ships 10-13 days | 
				      
               
               
               
                
               
             
            
                
                  
                  
                  
				       
				      013 | 
				      
                
                
                  
                
                
				175-2588
               | 
				      Cotter pin | 
				      
                $3.30
                | 
				      1 | 
				         | 
				      usually ships 10-13 days | 
				      
               
               
               
                
               
             
            
                
                  
                  
                  
				       
				      014 | 
				      
                
                
                  
                
                999-0114
				
               | 
				      Washer 1/2 SAE flat | 
				      
                $0.99
                | 
				      1 | 
				         | 
				      ships same day | 
				      
               
               
               
                
               
             
            
                
                  
                  
                  
				       
				      015 | 
				      
                
                
                  
                
                999-0024
				
               | 
				      Washer 5/16 flat stainless steel | 
				      
                $1.34
                | 
				      4 | 
				         | 
				      ships same day | 
				      
               
               
               
                
               
             
            
                
                  
                  
                  
				       
				      016 | 
				      
                
                
                  
                
                275-0154
				
               | 
				      SPRING, EXTN, 1.10OD 0.15WIR 03.2L  (Tennant Industrial) | 
				      
                $35.67
                | 
				      1 | 
				         | 
				      usually ships 1-5 days | 
				      
               
               
               
                
               
             
            
                
                  
                  
                  
				       
				      017 | 
				      
                
                
                  N/A
                
                
				
               | 
				      Not available | 
				      
                Call for price
                | 
				      1 | 
				       Motor bracket  | 
				      usually ships 3-26 days | 
				      
               
               
               
                
               
             
            
                
                  
                  
                  
				       
				      018 | 
				      
                
                
                  
                
                275-0156
				
               | 
				      Side brush plate | 
				      
                $10.89
                | 
				      1 | 
				         | 
				      usually ships 1-5 days | 
				      
               
               
               
                
               
             
            
                
                  
                  
                  
				       
				      019 | 
				      
                
                
                  
                
                999-1133
				
               | 
				      Bolt M8-1.25 x 20mm hex head full thread plain | 
				      
                $0.99
                | 
				      2 | 
				         | 
				      ships same day | 
				      
               
               
               
                
               
             
            
                
                  
                  
                  
				       
				      020 | 
				      
                
                
                  
                
                999-0123
				
               | 
				      Washer 1/4 SAE flat zinc plated | 
				      
                $0.99
                | 
				      2 | 
				         | 
				      ships same day | 
				      
               
               
               
                
               
             
            
                
                  
                  
                  
				       
				      021 | 
				      
                
                
                  
                
                
				275-0157
               | 
				      SPRING, DSL, 1.00OD 0.50ID 1.25L  (Tennant Industrial) | 
				      
                $45.34
                | 
				      1 | 
				         | 
				      usually ships 10-13 days | 
				      
               
               
               
                
               
             
            
                
                  
                  
                  
				       
				      022 | 
				      
                
                
                  
                
                
				275-0158
               | 
				      CLEVIS, ADJ, 0.38PIN, M10X1.5  (Tennant Industrial) | 
				      
                $22.50
                | 
				      1 | 
				         | 
				      usually ships 10-13 days | 
				      
               
               
               
                
               
             
            
                
                  
                  
                  
				       
				      023 | 
				      
                
                
                  
                
                
				275-0159
               | 
				      CABLE, GLV .13D 014.9L .41EYE / M10  (Tennant Industrial) | 
				      
                $116.69
                | 
				      1 | 
				         | 
				      usually ships 10-13 days | 
				      
               
               
               
                
               
             
            
                
                  
                  
                  
				       
				      024 | 
				      
                
                
                  
                
                
				175-0777
               | 
				      P/M sleeve | 
				      
                $5.50
                | 
				      1 | 
				         | 
				      usually ships 10-13 days | 
				      
               
               
               
                
               
             
            
                
                  
                  
                  
				       
				      025 | 
				      
                
                
                  
                
                175-4963
				
               | 
				      Bolt M6-1 x 20mm hex head | 
				      
                $5.50
                | 
				      1 | 
				         | 
				      usually ships 1-5 days | 
				      
               
               
               
                
               
             
            
                
                  
                  
                  
				       
				      026 | 
				      
                
                
                  
                
                999-0016
				
               | 
				      Washer 1/4 flat plain finish | 
				      
                $0.99
                | 
				      2 | 
				         | 
				      ships same day | 
				      
               
               
               
                
               
             
            
                
                  
                  
                  
				       
				      027 | 
				      
                
                
                  
                
                275-0160
				
               | 
				      Clevis pin .37d 1 1/4l | 
				      
                $6.27
                | 
				      1 | 
				         | 
				      ships same day | 
				      
               
               
               
                
               
             
            
                
                  
                  
                  
				       
				      028 | 
				      
                
                
                  
                
                175-2113
				
               | 
				      Cotter pin | 
				      
                $3.30
                | 
				      1 | 
				         | 
				      ships same day | 
				      
               
               
               
                
               
             
            
                
                  
                  
                  
				       
				      029 | 
				      
                
                
                  
                
                999-0767
				
               | 
				      Nut M10-1.5 hex coarse thread | 
				      
                $0.99
                | 
				      1 | 
				         | 
				      ships same day |