| # | Part | Description | Price | Req | Notes | Availability |
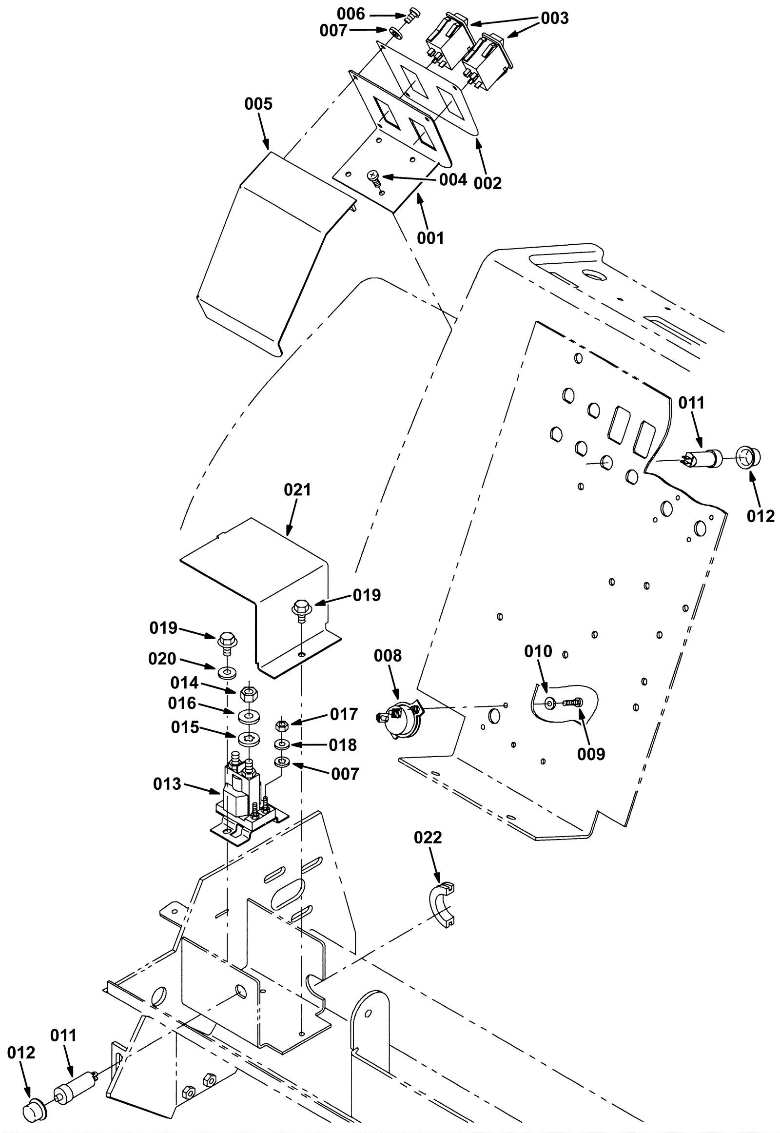
001 |
275-0118
|
Switch panel |
$44.88
|
1 |
|
usually ships 1-5 days |
002 |
275-0119
|
Pre-sweep operational label |
$80.63
|
1 |
|
usually ships 1-5 days |
003 |
275-0120
|
DPDT rocker switch |
$48.29
|
2 |
|
usually ships 1-5 days |
004 |
275-0121
|
SCREW, PAN, PHL, 10-14 X 0.50, F/ PLSTC (Tennant Industrial |
$3.00
|
4 |
|
usually ships 1-5 days |
005 |
275-0122
|
Panel cover |
$140.36
|
1 |
|
usually ships 1-5 days |
006 |
999-0409
|
Screw 10-24 x 3/8 pan head slotted zinc plated |
$0.99
|
3 |
|
ships same day |
007 |
999-0089
|
Washer #10 internal star lock zinc plated |
$0.99
|
5 |
|
ships same day |
008 |
175-2545
|
25amp circuit breaker |
$52.03
|
1 |
|
usually ships 10-13 days |
009 |
999-0462
|
Screw 8-32 x 1/2 pan head slotted zinc plated |
$0.99
|
2 |
|
ships same day |
010 |
999-0412
|
Washer #8 SAE flat |
$0.99
|
2 |
|
ships same day |
011 |
175-2542
|
10amp circuit breaker |
$19.80
|
2 |
|
usually ships 10-13 days |
012 |
275-2596
|
Circuit breaker boot (Tennant Industrial) |
$20.84
|
2 |
|
ships same day |
013 |
175-2373
|
36V contactor |
$38.83
|
1 |
|
usually ships 10-13 days |
014 |
999-0763
|
Nut 5/16-24 hex jam plain finish |
$0.99
|
2 |
|
ships same day |
015 |
999-0406
|
Washer 5/16 internal star lock zinc plated |
$0.99
|
2 |
|
ships same day |
016 |
999-0549
|
Washer 5/16 x 3/4 SAE flat stainless steel |
$0.99
|
2 |
|
ships same day |
017 |
999-0460
|
Nut 10-32 hex |
$0.99
|
2 |
|
ships same day |
018 |
999-0998
|
Washer #10 flat stainless steel |
$0.99
|
2 |
|
ships same day |
019 |
999-1319
|
Screw M6-1 x 12mm hex head plain finish |
$0.99
|
3 |
|
ships same day |
020 |
999-0016
|
Washer 1/4 flat plain finish |
$0.99
|
2 |
|
ships same day |
021 |
275-0123
|
Relay cover (OBSOLETE) |
Call for price
|
1 |
|
usually ships 1-5 days |
022 |
175-3446
|
Rubber grommet |
$5.50
|
1 |
|
usually ships 10-13 days |