| # | Part | Description | Price | Req | Notes | Availability |
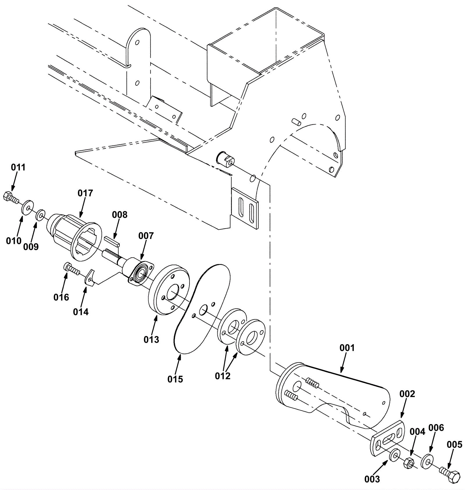
001 |
275-0103
|
Left idler pre-sweep brush arm |
$90.09
|
1 |
|
usually ships 1-5 days |
002 |
275-0104
|
Adjustment plate |
$29.48
|
1 |
|
usually ships 1-5 days |
003 |
999-0024
|
Washer 5/16 flat stainless steel |
$1.34
|
2 |
|
ships same day |
004 |
999-0496
|
Nut M8-1.25 nylon insert lock stainless steel |
$1.98
|
2 |
|
ships same day |
005 |
175-4989
|
Screw 10 x 1 1/2 x 20 stainless steel |
$7.70
|
1 |
|
usually ships 1-5 days |
006 |
999-0355
|
Washer 3/8 x 7/8 SAE flat stainless steel |
$0.99
|
1 |
|
ships same day |
007 |
275-0105
|
BEARING ASSY, W/ SHAFT (Tennant Industrial) |
$264.19
|
1 |
|
usually ships 1-5 days |
008 |
275-0085
|
Square key .19 x .19 1.25l |
$4.36
|
1 |
|
usually ships 10-13 days |
009 |
275-0092
|
Washer 1/4 flat belleville |
$4.36
|
1 |
|
usually ships 10-13 days |
010 |
275-0093
|
WASHER, FLAT, 0.28B 1.00D .06, STL (Tennant Industrial) |
$5.00
|
1 |
|
usually ships 10-13 days |
011 |
999-1383
|
Screw M6-1 x 16mm hex head stainless steel |
$3.96
|
1 |
|
ships same day |
012 |
275-0094
|
Brush arm spacer |
$13.31
|
2 |
|
usually ships 10-13 days |
013 |
275-0095
|
SHIELD, PLUG, DRIVE (Tennant Industrial) |
$108.36
|
1 |
|
usually ships 10-13 days |
014 |
275-0096
|
PLATE, HOLD-DOWN (Tennant Industrial) |
$13.84
|
2 |
|
usually ships 1-5 days |
015 |
275-0097
|
Dust seal plate |
$21.67
|
1 |
|
usually ships 1-5 days |
016 |
175-3219
|
SCREW, PAN, PHL, M6 X 1.00 X 25, 4.8 (Tennant Industrial) |
$5.50
|
2 |
|
usually ships 1-5 days |
017 |
275-0098
|
PLUG, DRIVE, BRUSH, NYL (Tennant Industrial) |
$32.51
|
1 |
|
usually ships 10-13 days |