| # | Part | Description | Price | Req | Notes | Availability |
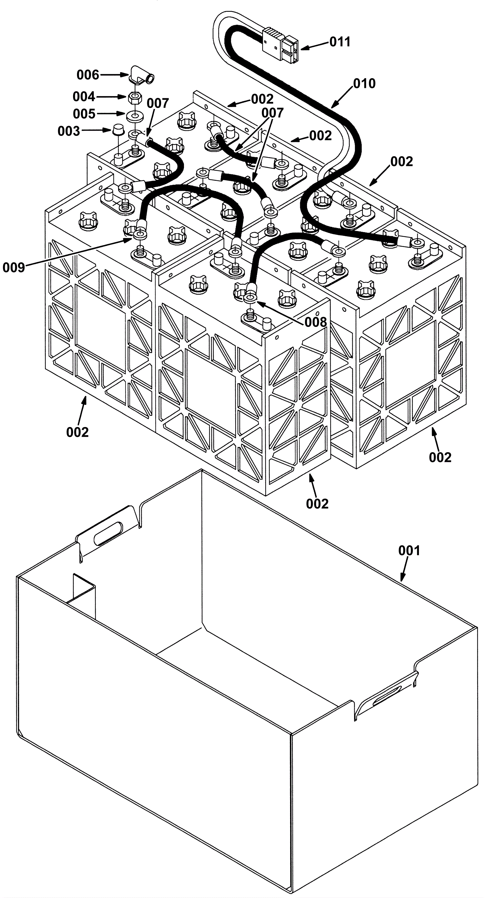
001a |
275-0037
|
BATTERY KIT, R/O, CI [7200] (Tennant Industrial) |
$5,888.42
|
1 |
|
usually ships 1-5 days |
001b |
275-0006
|
Battery rollout box weldment |
$1,011.56
|
1 |
|
usually ships 1-5 days |
002 |
162-0005
|
6V 305Ah wet battery (SNSR) |
$412.50
|
6 |
|
ships same day |
003 |
175-9755
|
Battery cap |
$3.70
|
6 |
|
usually ships 1-5 days |
004 |
999-0211
|
Nut 5/16-18 hex nylon insert lock zinc plated |
$0.99
|
12 |
|
ships same day |
005 |
999-0549
|
Washer 5/16 x 3/4 SAE flat stainless steel |
$0.99
|
12 |
|
ships same day |
006 |
175-2122
|
90 degree cable boot |
$5.28
|
12 |
|
usually ships 10-13 days |
007 |
998-0010
|
Battery jumper cable - ring type (red) |
$6.06
|
3 |
|
ships same day |
008 |
998-0010
|
Battery jumper cable - ring type (red) |
$6.06
|
1 |
|
ships same day |
009 |
175-9591
|
Wire (black) |
$38.94
|
1 |
|
usually ships 10-13 days |
010 |
175-3441
|
Battery cable assembly |
$154.44
|
1 |
|
usually ships 10-13 days |
011 |
991-2112
|
175amp charger plug with pins (gray) SB175 |
$16.09
|
1 |
|
ships same day |