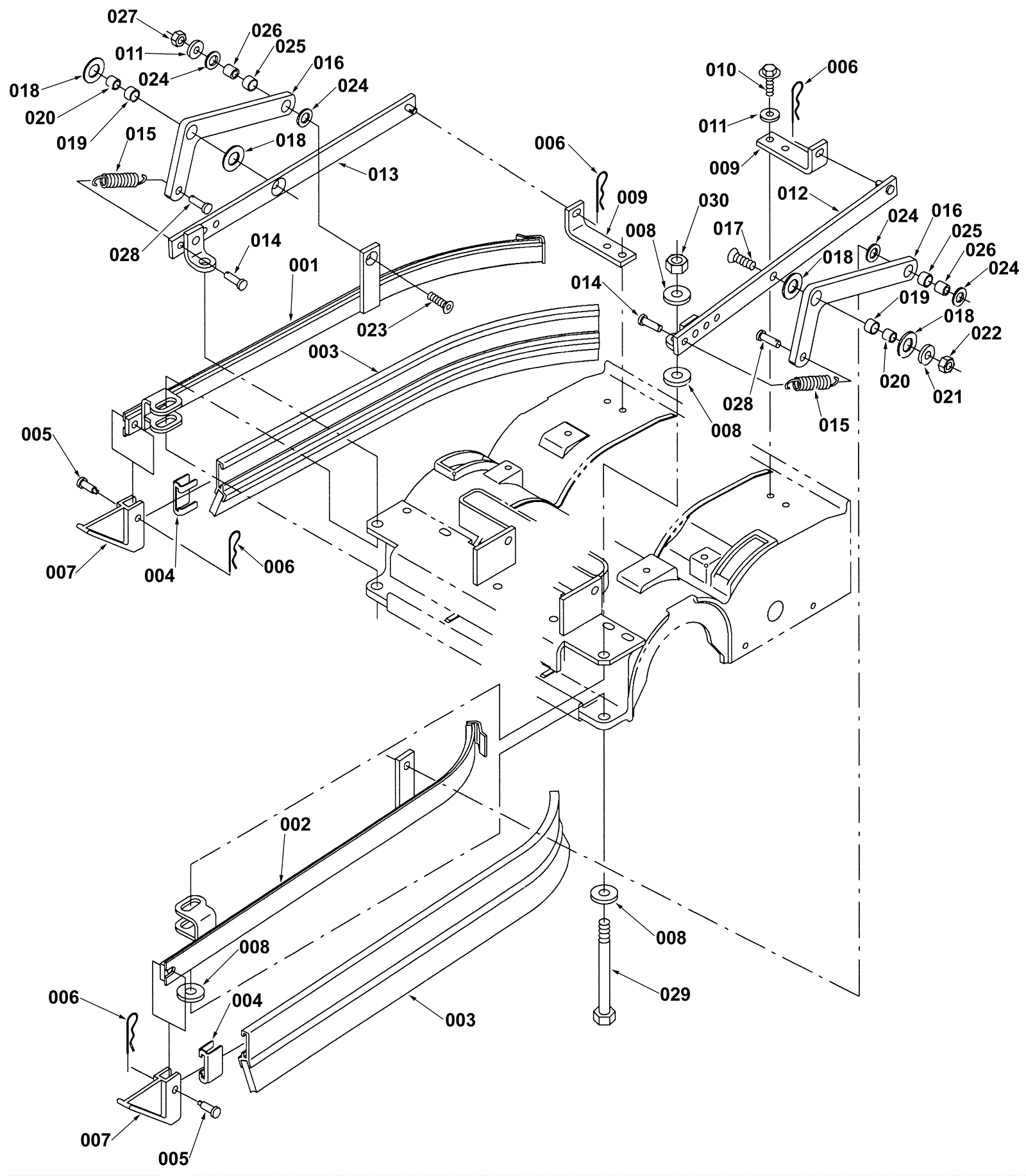
# | Part | Description | Price | Req | Notes | Availability |
001 |
175-9539
|
Right cylindrical squeegee frame weldment 36 inch |
$270.38
|
1 |
|
usually ships 10-13 days |
002 |
175-5406
|
Squeegee frame weldment left cylindrical 28 inch |
$275.11
|
1 |
|
usually ships 10-13 days |
003b |
275-9740
|
Side squeegee blade gum rubber |
$56.10
|
2 |
|
ships same day |
004 |
175-3357
|
Squeegee blade retainer |
$12.10
|
2 |
|
usually ships 10-13 days |
005 |
175-3351
|
Clevis pin |
$4.49
|
2 |
|
usually ships 10-13 days |
006 |
175-2117
|
Cotter pin |
$5.28
|
4 |
|
usually ships 10-13 days |
007 |
475-3313
|
GUIDE, SQGE, SIDE, YELLOW |
$19.14
|
2 |
|
usually ships 10-13 days |
008 |
999-1346
|
Washer M12 flat stainless steel |
$0.99
|
8 |
|
ships same day |
009 |
175-9540
|
Squeegee mounting angle bracket |
$34.54
|
2 |
|
usually ships 1-5 days |
010 |
999-0501
|
Bolt M8-1.25 x 25mm hex head full thread stainless steel |
$2.64
|
4 |
|
ships same day |
011 |
999-0549
|
Washer 5/16 x 3/4 SAE flat stainless steel |
$0.99
|
6 |
|
ships same day |
012 |
175-9541
|
Left squeegee mounting bar weldment 36 inch |
$91.30
|
1 |
|
usually ships 1-5 days |
013 |
175-9542
|
Right squeegee mounting bar weldment 36 inch |
$100.54
|
1 |
|
usually ships 1-5 days |
014 |
175-3351
|
Clevis pin |
$4.49
|
2 |
|
usually ships 10-13 days |
015 |
175-3345
|
Extension spring |
$10.01
|
2 |
|
ships same day |
016 |
175-3348
|
Bell crank |
$61.05
|
2 |
|
usually ships 10-13 days |
017 |
175-9543
|
SCREW, FLT, SOC, M10 X 1.50 X 30, 10.9 (Tennant Industrial) |
$16.17
|
2 |
|
usually ships 1-5 days |
018 |
175-3347
|
Washer .61 thrust |
$5.50
|
4 |
|
usually ships 10-13 days |
019 |
175-3349
|
Sleeved bushing |
$13.64
|
2 |
|
usually ships 10-13 days |
020 |
175-9532
|
Bearing sleeve 5/8 x 33/64 |
$18.37
|
2 |
|
usually ships 10-13 days |
021 |
999-0355
|
Washer 3/8 x 7/8 SAE flat stainless steel |
$0.99
|
2 |
|
ships same day |
022 |
999-1120
|
Nut M10-1.5 nylon insert lock stainless steel |
$3.92
|
2 |
|
ships same day |
023 |
999-1622
|
Screw M8-1.25 x 25mm flat head phillips stainless steel |
$1.69
|
2 |
|
ships same day |
024 |
189-0073
|
Pin |
$12.67
|
2 |
|
usually ships 1-5 days |
025 |
175-3355
|
Sleeved bushing |
$7.37
|
2 |
|
usually ships 10-13 days |
026 |
175-9533
|
Sleeve 0318-.496 x .515 stainless steel |
$7.26
|
2 |
|
usually ships 10-13 days |
027 |
999-0496
|
Nut M8-1.25 nylon insert lock stainless steel |
$1.34
|
2 |
|
ships same day |
028 |
175-3344
|
Clevis pin |
$8.25
|
2 |
|
usually ships 10-13 days |
029 |
275-4662
|
Screw 1/2-13 x 5 1/2 hex head |
$8.25
|
2 |
|
usually ships 10-13 days |
030 |
999-1208
|
Nut 1/2-13 nylon insert lock stainless steel |
$2.53
|
2 |
|
ships same day |