| # | Part | Description | Price | Req | Notes | Availability |
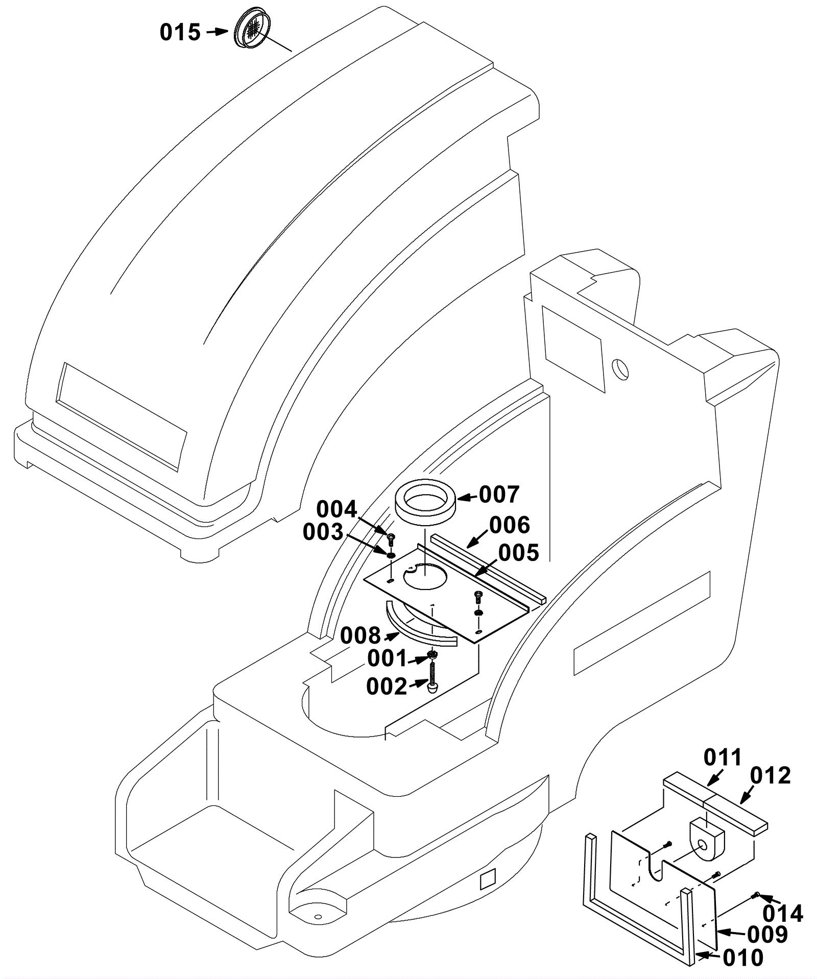
001 |
999-0015
|
Nut 1/4-20 k-lock zinc plated |
$0.99
|
1 |
|
ships same day |
002 |
175-1225
|
Motor stop |
$13.75
|
1 |
|
usually ships 10-13 days |
003 |
999-0632
|
Washer 1/4 split lock stainless steel |
$0.99
|
2 |
|
ships same day |
004 |
999-1041
|
Screw M6-1 x 12mm pan head phillips stainless steel |
$0.99
|
2 |
|
ships same day |
005 |
275-5242
|
Seal plate |
$88.88
|
1 |
|
usually ships 1-5 days |
006 |
275-5244
|
Gasket strip |
$1.25
|
1 |
|
usually ships 1-5 days |
007 |
275-5243
|
Gasket |
$4.75
|
1 |
|
usually ships 1-5 days |
008 |
275-5819
|
1 foot gasket strip |
$4.09
|
1 |
|
usually ships 1-5 days |
009 |
275-5245
|
Air separator plate |
$32.78
|
1 |
|
usually ships 1-5 days |
010 |
275-5248
|
Separator plate gasket |
$7.92
|
1 |
|
usually ships 1-5 days |
011 |
275-5249
|
Short separator gasket |
$2.51
|
1 |
|
usually ships 1-5 days |
012 |
275-5250
|
Long separator gasket |
$2.64
|
1 |
|
usually ships 1-5 days |
014 |
999-0447
|
Screw 6-32 x 1/2 pan head phillips zinc plated |
$0.99
|
3 |
|
ships same day |
015 |
275-5246
|
3 inch louver |
$14.30
|
1 |
|
usually ships 1-5 days |