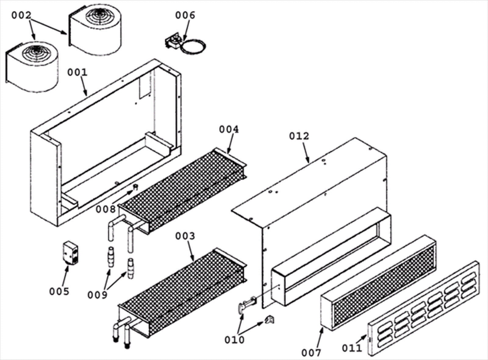
Air Conditioning Evaporator/Heater Breakdown, 1010755
Click to enlarge