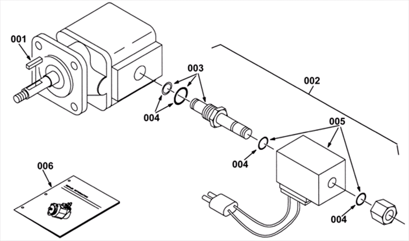
Hydraulic Motor Breakdown, 53485
Click to enlarge