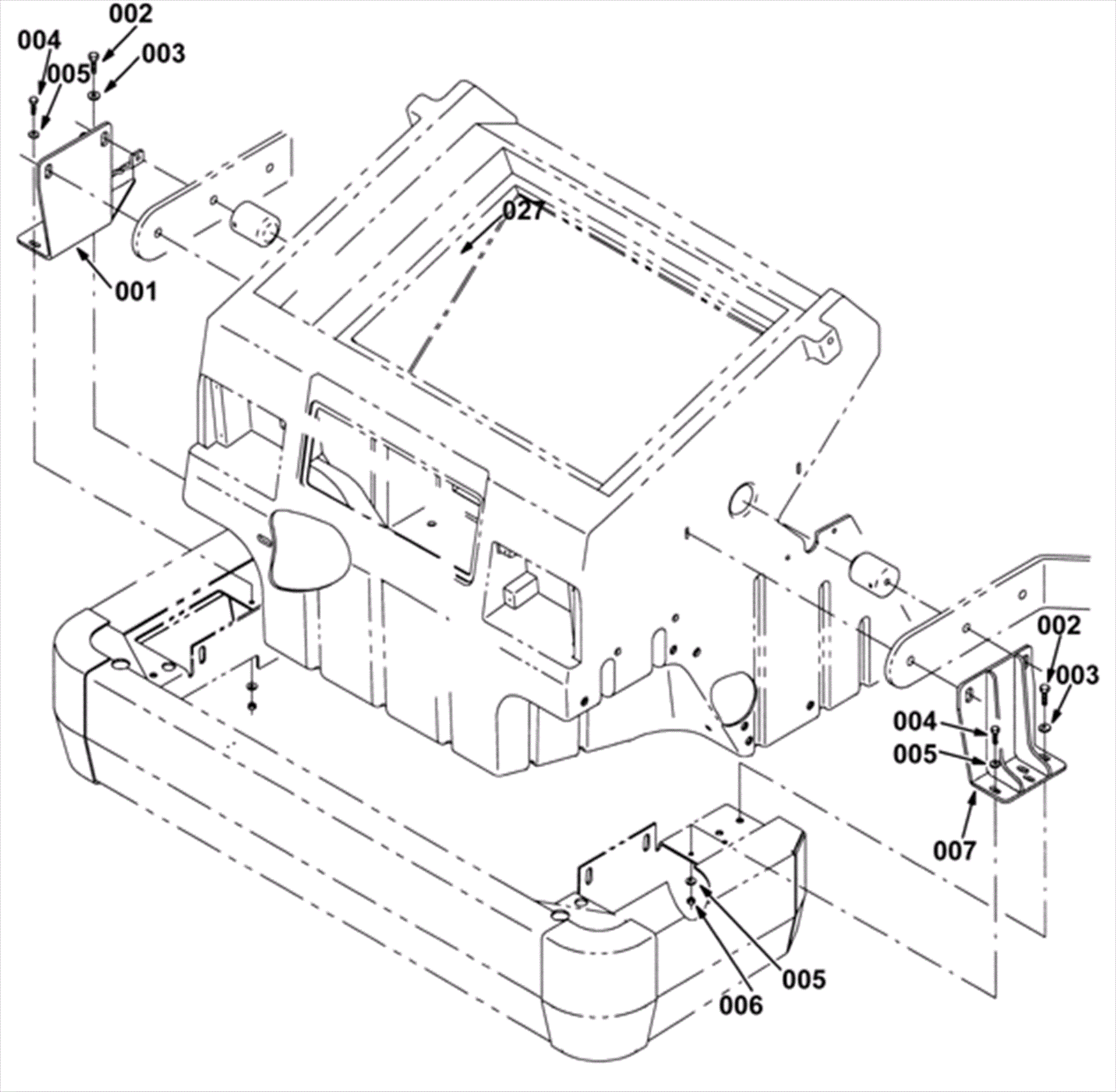
Auxiliary Side Brush Hopper Group (6650 XP Only)
Click to enlarge