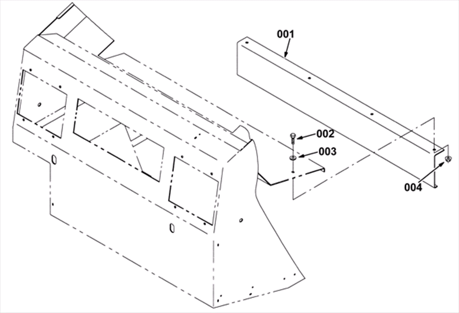
Auxiliary Side Brush Hopper Deflector Group
Click to enlarge