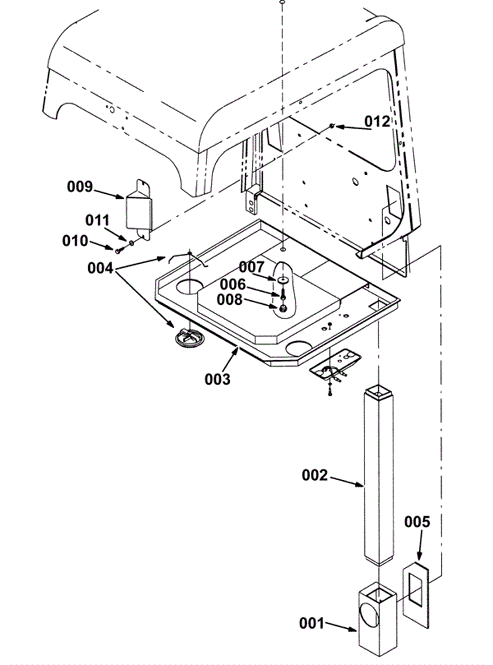
Cab Vent and Duct Group
Click to enlarge