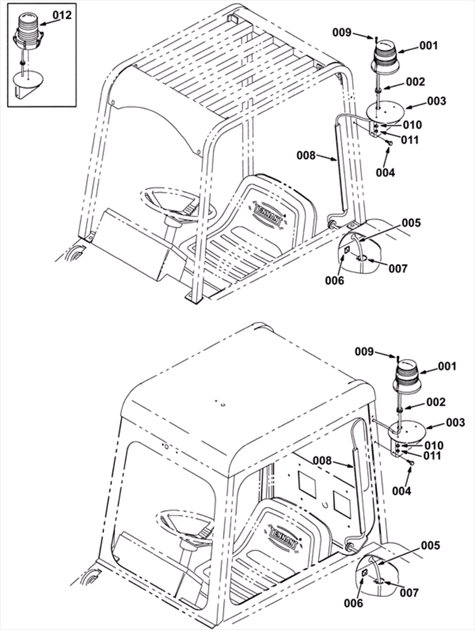
Flashing Light kit, Flush Mounting
Click to enlarge