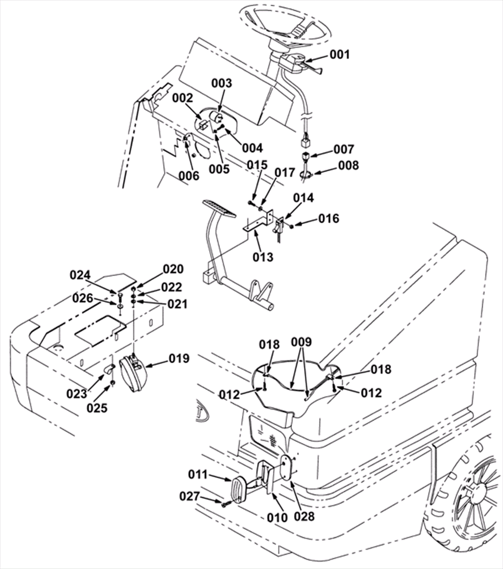
Signal Light Kit
Click to enlarge